Projecteurs jouets espagnols

 

Quelques appareils intéressants

Paya cinema
Ricolor Proyector
Rico
Brevet américain (voir Kenner)
1970
 
196x
   
Videomatic
King Toy
197x
 
Mini Cine
Nacoral
1965
   
Mini Cine
Nacoral
Brevet 197204 demandé le 6 novembre 1973 par Nacoral
1970
Brevet Nacoral  
Super 9,5mm
Jefe
~1951
9,5mm
Proyector de Cine (ref 117)
Nacoral
8 mm
   
Naif (Mik Mik Cine)
Mik Mik
197x
super 8 mm
 
Cinepresa Max
Bianchi SA
197x
super 8 mm
 
Microcine (ART 1001)
Jefe
Brevet 55846
195x
8 mm
   
Airgamcolor
Airgam
196x
Comporte un kaléidoscope incorporé
 
CinExin
1970.
super 8mm
(site 1, ).
"La Jugueteria de Flash Gordon"
 
 
Films en couleurs :
863 Auto Gato y sus trucos
864 Moto Raton Bombero
865 Moto Raton Super Piloto
867 Cacharros Voladores
868 El Cohete Rastreador
904 Pluto y el Canguro
1301 Pajaro Loco y la Pesadilla del Oso
1302 Pajaro Loco y el Salteador de trenes
1303 Texas Tom 3,80
1304 Las Vacaciones de Jerry
1305 Tom Pescador Cazado
Operacion Avion Martillo

Films Noir & Blanc :
817 Popeye sheriff. kid asalta el tren
818 Popeye y las espinacas magicas. El rapto de Rosario.
819 Popeye ya la caza del Parapiu
820 Popeye Esquiador Olimpico
821 Popeye y los Canibales. Popeye Escultor
822 Popeye en el salvamento de las Cumbres
823 Popeye en la Isla Embrujada
824 Popeye en Agencia de Detectives
826 Pantera Rosa Carrera Pedreste
827 Pantera Rosa. Piloto Rosa
828 Pantera Rosa, Oso furioso
829 El Gato Felix y su amigo Canguro
836 Jaimito Callero Galante, La Persecuccion de Jaimito.
838 El circulo de la Muerte
839 Charlot atleta
1106 Pluto el hueso y su Rival

 
Super CinExin (0805 Disney
super 8mm.
(site 1, ). Existe en version Walt Disney
http://www.itatoys.com/Cinexin2002_files/frame.htm
    Edition spéciale Walt Disney (Amérique du Sud)  
 
0810 Donald y el neumático endiablado.
0811 Donald en Marinero desafortunada
0812 Pluto y las malvadas hormigas
0814 Mickey alpinista.
0815 Goffy y la Sirena
0816 Los Pitufos y el sonajero mágico.
0817 Gargamel y la Bestia Ferox
0819 Popeye contra los saltedores
0824 El libro de la selva. Mowgli y la astuta serpiente
0825 Pluto contra las traviesas ardillas.
0826 Donald y el dragon mecanico
0828 Goofy cazador de patos
0830 Rosario y la escultura de Popeye
0833 Tom y Jerry por una vez amigos
0836 Tom y Jerry y el Tren Expreso
0837 Tom y Jerry en tom Enamorado
0937 Flash Gordon en aventura en el subterráneo
0938 Flash Gordon en combate aéreo.
0940 Flash Gordon en atrapado
0941 El Gato Felix atrapa al Fantasma
0942 El Gato Felix Atrapa al Fantasma
0944 Popeye campeon de atletismo
0948 Mickey en Excursion en Roulotte
0953 Flash Gordon y el rayo paralizador
0956 Robin Hood en el torneo
0957 Pitufos y el pajarraco.
0960 Pitufando el gran puente
0963 Pinocho Geppeto en la ballena.
0964 Blancanieves y el principe
0965 Robin Hood y la comitiva real.
0966 Bambi aprende a saltar.
0967 Flash Gordon en la ciudad sumergida.
0968 Flash Gordon contra los hombres-pez
0970 Gargamel en el túnel secreto
0973 Donald en tarde de leones.
0974 Blancanieves y la manzana envenenada
0975 Popeye en alarma extraterrestre
0976 Popeye buscador de oro.
0977 Los Pitufos atrapados en la gruta.
0978 Los Pitufos y el diamante.
0979 Bebe Pitufo y los cazadores.
0980 El rescate de bebe pitufo
0981 Los Snorkels van de excursion
0982 Los Snorkels y la Burbuja Destructora
0983 Los Snorkels y el Buque Fantasma
0984 los snorkels y el pulpo orquesta
0985 Homenaje al gran Snorkel.
0986 Los Snorkel y el cangrejo Gigante
0987 Alicia en el pais de las maravillas
0988 Alicia en el bosque fantástic
0989 Pluto y el baño frustrado
0991 Popeye en la isla del tesoro
0993 Los Pitufos y la varita mágica
0994 Los Pitufos y la boda de Gargamel
0996 Los Snorkels y los pulpos enamorados
   
http://www.itatoys.com/Cinexin2002_files/frame.htm
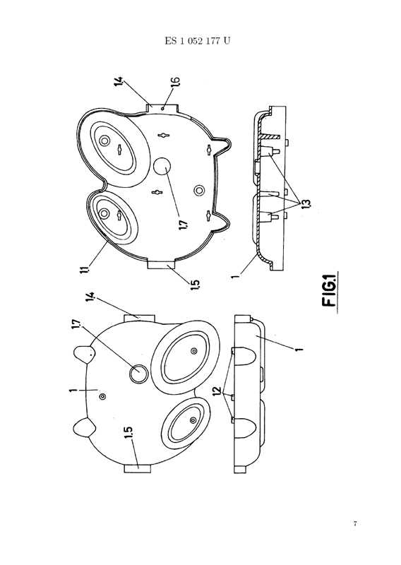
Mini CinExin
Popular de Juguetes
Brevet 1 052 177 demandé le 16 novembre 2002 par Popular de Juguetes SL
- El libro de la selva 2
- Donald un conductor alocado
- El rescate de Jessie, Toy Story
Cinexin Disney's Mickey Mouse
Popular Juguetes
film en boucle
 
Cine Miki Boy
   
Telecassette
Pactra
   
ISUAR Cinema
Manufacturas Bebés Isuar S.A
Brevet 131034 demandé le 13 juin 1933 et obtenu le 1er septembre 1933 avec effet au 2 août 1933
1932
Intègre un Flip-Book (mutoscope)
Catalogue de 1934  
   
Cine Vailet
Joan Bulta
1932-1936
Film papier opaque 35 mm
Carton et bois
 
       
Cine Skob
Escobar
1942
Film papier opaque 35 mm
Plastique et bois
Page Espagne  
Cine Stuk
Escobar
1962
Film papier calque 35 mm
Plastique
Page Espagne  
Cinelin

195x
Carton. La bande de papier défile dans l'ouverture du théâtre, retroéclairée.
 
 
Nic Universal

Brevet 331078 demandé le 29 août 1966 par Alberto Nicolau Araque
196x
Carton. Modèle pliable
Brevet Nic UniversalBrevet Nic Universal  
   
GEWCP Filmosto Filius
   

Proyectores infantiles



mise à jour le samedi 24 avril, 2010 ///http://project.mettavant.fr/

Selic, Jecktor, Minicine, toy, projector, viewer, Dux, Nic, vintage, projecteur, projektor, proiettore, proyector