ESPAGNE




L'Espagne est la patrie natale des bandes de films à images alternées car c'est dans ce pays que sont apparus les premiers appareils cinématographiques utilisant le principe des images alternées.
En tout premier lieu et en place d'honneur, il faut citer le modèle original espagnol construit à partir de 1931 par les auteurs du brevet, Tomàs et Josep Nicolau Griñó, fabricants de papiers : le Cine NIC. Cet appareil présentera de nombreuses versions dont une version sonore le NIC Sonoro à partir de 1934, le NIC Television en 1951 (qui sera sonorisé en 1953 avec le NIC Television Sonoro) et le SuperNIC motorisé en 1969.
Entre-temps, d'autres créateurs espagnols auront inventé d'autres modèles à images alternées dont le Cine Paya en 1934 (version sonorisée et muette, suivie en 1940 par la version simplifiée Cine Rai ), ou le Cine Rod Bul en 1935. Certains autres modèles apparaîtront tels que les petits projecteurs de bakélite Dux Kino d'origine allemande ou Cine Egda d'origine française. L'Espagne est bien le pays le plus fécond de ces projecteurs ! Ainsi Famosa a récemment proposé le Cinerama et la société Cromosoma édité une dernière version du NIC en 2003.
Le Cine Skob d'Escobar en 1942 et son successeur le Cine Stuk, le Cine Mickey en bois également vers 1934, les Cine Micro et Cine Lux sortis en 1950 et 1955 sont présentés ici : ils ne sont pas des projecteurs à images alternées, mais ils méritaient un hommage.
Enfin pour terminer cette page sur les appareils à images alternées, le Cine Infantil présente une technique d'animation originale.

Fabricant
Appareils
Films
Remarque
Nombre
images
Support
Longueur
cm
Nic  
2
Papier
  voir détail plus bas
Paya Cine Paya
Cine Rai
2
     
  Cine Rod Bul
2
Papier opaque
   
  Dux Kino MM
Cine Egda
2
Film
   
Industrias Plásticas Trilla Disney Star
4
Film
  Brevet Nebel
Famosa Cinerama
Disney Magic Artist
2
     
  Cine Infantil
2
Papier fixe
   

 

Le 26 avril 1941, Santiago Serrano Colina dépose à Madrid une demande de brevet pour un projecteur à deux systèmes optiques pouvant projeter des images donnant l'impression de mouvement. C'est le principe des projecteurs à images alternées. Je ne sais pas si ce brevet a pu donner le jour à une production réelle.


 

     

Généralités NIC


le Ciné NIC NIC 1ère époque, socle en bois Logotype de la marque NIC

Le Cine NIC est le premier modèle créé. Construit initialement en carton, il est équipé de deux ampoules de 40W, et un mécanisme entraîné par une manivelle permet d'afficher alternativement l'image supérieure et inférieure de la bande.
Les premières bandes étaient dessinées par le constructeur lui même. Les thèmes étaient des personnages créés (Miau, Nikito, Tom el Cowboy, Manolín, Perro) ou des grands classiques ("La cenicienta", "Barba azul", "La bella durmiente", "Hansel i Gretel", "La caperucita", "La cigarra y la hormiga"). En 1934 le personnage de Popeye apparaît. A partir de 1942, l'obtention d'une licence "Walt Disney merchandising division" élargit la gamme des films à l'univers de Disney ("Blancanieves", "Pinocho", "Cenicienta", "Mickey Mouse", "Pluto i Donald", "Alicia en el pais de las maravillas", "Peter Pan", "La Dama y el vagabundo", "Mary Poppins", "Los Dálmatas", "El libro de la selva").



La licence sera vendue vers plusieurs pays : France (Cine Sélic, 1931), Portugal (1932), Grande-Bretagne (1933), Italie (Topolino NIC, 1936), Etats Unis, Canada, Argentine,... En Allemagne, la société Dux exploitera le brevet (n° 594393 du 1er octobre 1931) paraît-il sans en acquérir la licence !

; brevet déposé le 25 avril 1931 à Barcelone)
Modèle
Année
Boîtier
Couleur
Ampoule
Pellicule
NIC 1ère époque (base bois)
1931
carton
noir
2 x 40W
large - boîtier métal
NIC 1ère époque (base métal)
1932
carton
noir
2 x 40W
large - boîtier métal
NIC sonorisé (suplemento sonoro)
1933
       
NIC 2ème époque
1934
métallique
vert
1 x 40W
petite - boîtier carton
 
Nic MHF
1934
       
 
Cine Polichinella
1939
       
  NIC sonorisé 1ère époque (cornet à angle droit)
1942
métallique
     
  Nic sonorisé 2éme époque (cornet courbé)
1943
carton
     
Nic sonorisé 2ème époque (dos arrondi)
1943
métallique
     
Super Nic 1ère époque
1950 ?
métallique
 
1 x 40W
 
NIC télévision 1ère époque
1951
   
1 x 40W
 
  NIC Television sonoro 1ère époque
1953
       
  Reflex Nic
1958
       
  Nic Television 2ème époque
1960
       
  TV Super Nic
1960
       
  Nic Television sonoro 2ème époque
1961
       
  Super Nic 2ème époque
1961 ?
       
 
Nic MH
1963
       
 
Nic Universal
1966
       
Super NIC motorisé
1969
métallique
     
             



NIC carton http://es.geocities.com/cine_nic/cine/cinenic1/camaraa.jpg

Par la suite le boîtier sera métallique. Au fil des années et notamment de l'après-guerre, les formes et couleurs varieront. La production cessera en 1974, et finalement la famille Nicolau revendiquera dix millions d'appareils vendus !

couverture
L'histoire du projecteur NIC et de la famille Nicolau a fait l'objet d'un opuscule édité en Espagne, "El cine NIC, una joguina històrica del Poble-Sec". Les 32 pages écrites par Jordi Artigas (voir son article sur Heeza) explorent tour à tour les débuts de la famille Nicolau, l'histoire des projecteurs, les films et leurs dessinateurs, la diffusion mondiale du brevet et se termine sur quelques témoignages. Une bible indispensable pour les passionnés du NIC !

Opuscule très cordialement transmis par Enric Soler. Merci

 

Le 1er septembre 1931 est publiée au Boletin Oficial de la Propiedad Industrial la première concession de la marque Nic, accordée à Tomas et José Maria Nicolau.
Le logotype, un enfant chevauchant un éléphant, adopté dès 1932 avait été créé par le dessinateur publicitaire Eduard Jener (un des grands graphistes espagnols des années 1930) sur une idée originale de Ramon Nicolau Griñó.

Deux illustrations typiques de l'art d'Eduard Jener

La première demande du logotype NIC déposée auprès de l'office espagnol. a été publiée le 1er février 1932. C'est dans cette demande qu'apparaît le dessin qui restera attaché aux projecteurs NIC.


Cette nouvelle demande sera accordée le 16 avril 1932.


Cette marque fut régulièrement renouvelée pour en maintenir sa validité.
Bulletin Officiel de la Propriété industrielle, Espagne, N° 1118 du 1er avril 1933 page 838

Le logotype fait partie de la marque déposée, mais il n'est pas éternel et doit être renouvelé. Ainsi le 16 février 2001 la société Cromosoma (qui produira une version moderne du Nic) redéposera la marque "Nic" avec un logotype s'appuyant très nettement sur l'ancienne version.
Cette demande faisait suite à celle 16 août 2000 déposant la marque "Cine Nic".


Une autre déclaration de marque, avec un graphisme différent, avait été déposée en 1932 (Bulletin de la Propriété Industrielle N°1107 du 16 octobre 1932, p.2667)



Amusant : la marque NIC sera également déposée en 1933, pour des chocolats et bonbons, par Juan Nicolau y Grino. Une excellente affaire familiale !

Bulletin officiel espagnol 118 de avril 1933

Pour découvrir beaucoup d'autres brevets déposés par les mêmes auteurs, voir la belle liste publiée par Txuringa , le site de Enric Soler.

     

NIC (1931)


Le premier modèle dit de la première époque "Nic 1ª época - base de madera" de 1931. La base de l'appareil est en bois.
 
Cine NIC NIC (Tomàs & Josep Nicolau Griñó; Nicolau=Nic) Brevet 122768 demandé le 25 avril 1931 à Barcelone et attribué le 1er juin 1931 avec effet au 12 mai 1931 1931
Film papier à 2 lignes d'images
Carton, base en bois
PR2-NICS-001


Le boîtier est en carton de couleur noire, le système d'éclairage comporte deux ampoules de 40W.


le modèle "Nic 1ª época - base de metal" est construit avec une base métallique.
Cine NIC NIC (Tomàs & Josep Nicolau Griñó; Nicolau=>Nic) Brevet 122768 demandé le 25 avril 1931 à Barcelone et attribué le 1er juin 1931 avec effet au 12 mai 1931 - Brevet 126393 demandé le 12 avril 1932 et attribué le 16 mai 1932 avec effet au 27 avril 1932 1931
Film papier à 2 lignes d'images
Carton, base métallique
PR2-NICS-003


Si le boîtier est en carton comme le modèle précédent, le système d'éclairage lui ne comporte plus qu'une seule ampoule. Pour assurer une bonne répartition du flux lumineux, un réflecteur a été disposé derrière l'unique ampoule.
Cet ensemble dissipait moins de chaleur que le dispositif du modèle précédent, ce qui limitait le risque de dégradation du film.

Le brevet original a été demandé le 25 avril 1931 à Barcelone et attribué le 1er juin 1931 sous le numéro 122768 avec effet au 11 mai 1931.

Le brevet 126 393 demandé le 12 avril 1932 concerne la version à base métallique.
Brevet 338942 déposé au Canada le 30 janvier 1934.

Autre version du Nic à base en bois.
   

 

Le 16 septembre 1934, le "Boleto Oficial de la Propiedad Industrial" N° 1153 publie sur sa page 2810 un "modelo de utilidad", sorte de brevet simplifié. Les deux Nicolau y décrivent les pellicules pour images alternées disposées en colonnes ou en lignes. Ce modèle ressemble particulièrement aux films des Dux Kino , qui furent à la même époque distribués en Espagne...


Concession publiée le 1er août 1935 .


Le 22 avril 1941 les deux frères Nicolau déposent une demande de brevet pour améliorer le procédé de fabrication des pellicules sur papier opaque. Ce brevet sera accordé sous le numéro 152 924.
Le 16 octobre 1946, était publié le modèle 13 321 décrivant à nouveau une pellicule comportant plusieurs rangées d'images.


Dans le N° 1449 du Bulletin Officiel espagnol de la Propriété Industrielle daté du 16 août 1947 page 3665 il est mentionné l'annulation du modèle décrit ci-dessus. Il s'agissait probablement de la fin de validité.

     

NIC 2è époque (1934)


Le modèle NIC de la deuxième époque.
Cine NIC NIC (Tomàs & Josep Nicolau Griñó; Nicolau=Nic) Brevet original du 25 avril 1931. Des améliorations ont été apportées par le brevet 126175 (demande du 23 mars 1932) et le 130640 (demandé le 9 mai 1933 attribué le 1er juillet 1933) 1934
Film papier à 2 lignes d'images
Métallique
PR2-NICS-011
cm
13,5
26
12,5








Le boîtier est en carton puis métallique et le système d'éclairage ne comprend qu'une seule ampoule de 40W. La principale différence visible pour cet appareil est la largeur du film qui est de moitié celle des Nic de la première génération : ainsi les deux "objectifs" sont rapprochés et situés dans le bas de l'appareil, tandis que sur les projecteurs de la génération précédente ils étaient écartés et occupaient toute la face avant de l'appareil. Etude sur les films Nic.

La nouvelle forme du boîtier de lampe sera généralisée sur tous les appareils de cette période, comme le Nic Sonoro , le Nic Television , le Nic Television Sonoro ou même le simple projecteur de diapositives Nic MHF. Ce boîtier métallique et résistant à la chaleur dégagée par l'ampoule sera même repris dans la construction du Supernic et concluera sa vie dans le Super Nic Electromatic. On le retrouvera enfin dans le Nic 2 français.

 

A la même époque, NIC a également produit une lanterne magique, le Nic MHF, projecteur de diapositive distribué à partir de 1931(ou plus probablement 1934). On constatera que le boîtier d'ampoule et l'esthétique globale de l'appareil sont similaires à ceux des projecteurs Nic.


Images aimablement communiquées par Francisco Boisset (Espagne)
En 1963, ce premier modèle sera suivi par un nouveau, le Nic MH. une fois encore on reconnaîtra en cet appareil plusieurs éléments issus des projecteurs.

     

NIC SUPLEMENTO SONORO (1934)


Le premier modèle sonorisé est apparu en 1934, soit moins de trois ans après la sortie du premier modèle du projecteur Nic. Une version sonorisée sera ainsi proposée sur la base du Nic 1ère époque, puis sur le projecteur Nic 2ème époque.


Mais avant la sortie de ces appareils complets, comprenant donc un projecteur et un phonographe, l'histoire avait commencé le 3 août 1933 avec le Suplemento Sonoro.
Ce jour-là les deux frères Nicolau déposent une demande de brevet pour un complément sonore s'ajoutant aux projecteurs jouets. Le brevet sera accordé le 1er octobre 1933 avec effet au 28 août 1933.
Le brevet 131 567 tel qu'il a été publié dans le bulletin officiel espagnol d'octobre 1933. La demande du brevet avait été déposée le 3 août 1933.
   
Le même principe d'un gramophone accessoire sera également développé sur les projecteurs américains, le Talkie Jecktor et le Durotone Talkie System en 1935 suivi par le Nic 600 en 1936
Cet accessoire, livré en boîte cartonnée non décorée ni marquée, se montait au-dessus de tous les projecteurs Nic de l'époque. Une grosse roue crantée récupérait le mouvement de la manivelle d'avancement du film.

Photographies aimablement transmises par Miquel de CaLaCinta




Par la suite, Nic proposera des ensembles complets connus sous le nom de "Cine Nic sonoro".


Films pour Nic Sonoro :

Liste des films

 
 
Appareils sur boîtier NIC 1ère époque
Cine NIC Sonoro (1ère époque, primera época) NIC (Tomàs & Josep Nicolau Griñó; Nicolau=Nic) Brevet 131567  demandé le 3 août 1933 et obtenu le 1er octobre 1933 avec effet au 28 août 1933.
1934
Film papier à 2 lignes d'images, disques 78t
Carton
PR2-NICS-002 base en bois
PR2-NICS-004 base métal

NIC sonore Annonce publicitaire

 
     

NIC SONORO 2 (1942)


Pendant la seconde guerre mondiale Nic produit pour la première fois un modèle compact, dont le gramophone n'est plus ajouté sur le projecteur mais complètement intégré. La forme du bras lecteur indique bien qu'il s'agit d'un appareil de la première génération, mais l'appareil est de deuxième génération pour films étroits.
Cine NIC Sonoro (2ème époque) NIC (Tomàs & Josep Nicolau Griñó; Nicolau=Nic) Brevet 157905 1942
Film papier à 2 lignes d'images, disques 78t
Carton, base en bois
PR2-NICS-012
cm
22
28
16

Brevet 157 905 demandé le 20 juin 1942.

 

Le 19 mai 1942, ce sont toujours les mêmes deux auteurs Tomas et Jose Maria Nicolau Grino qui déposent à Barcelone une demande de brevet pour un projecteur nettement apparenté au Cine Nic. La pricipale différence réside dans le dispositif d'entraînement du film et des films avec perforations centrales.

Brevet ES 0 157 448
     

NIC SONORO 2 (1943)

Cine Nic Sonoro de la deuxième époque.

Cine NIC Sonoro (2ème époque) NIC (Tomàs & Josep Nicolau Griñó; Nicolau=Nic)
Film papier à 2 lignes d'images, disques 78t
Carton, base métallique
PR2-NICS-019
cm
22
28
16

 

NIC SONORO 2 PEQUENO (1943)


Appareils sur boîtier NIC 2ème époque (surnommé le NIC sonore à petite bobine de film, "NIC Sonoro pequeño")
Cine NIC Sonoro (2ème époque, pequeño) NIC (Tomàs & Josep Nicolau Griñó; Nicolau=Nic) Brevet 131567  demandé le 3 août 1933 et obtenu le 1er octobre 1933 avec effet au 28 août 1933, amélioré par le brevet 157905 demandé le 20 juin 1942 et obtenu le 1er mars 1943 avec effet au 8 mars 1943 1943 >> 1960
Film papier à 2 lignes d'images, disques 78t
Carton, base en bois
PR2-NICS-020
cm
22
28
16

Nic sonoro carte recto Nic sonoro carte verso

Le brevet original espagnol du Cine Nic Sonoro date de 1933, c'est celui de la première version de l'appareil. Il sera ensuite amélioré par le brevet 157905 demandé le 20 juin 1942 et attribué le 1er mars 1943 avec application au 8 mars 1943.
Les disques tournaient à 78 tours par minute.

Disque pour Nic Sonoro : face 1 nº 28.La Urraca / face 2 nº 19.La Bruja.

Notice d'utilisation du Cine Nic Sonoro
Nic sonoro notice recto Nic sonoro notice verso
   

 

 

Le 30 septembre 1939 à Barcelone, Tomas Nicolau Grino et José Maria Nicolau Grino domiciliés au n° 48 de la rue Marquès del Duero, déposent une demande de brevet concernant un nouveau jouet.



Accordé sous le numéro 148 678, ce brevet décrit un projecteur qui pouvait projeter l'image de personnages marionnettes animés.



Cet appareil sera fabriqué sous le nom de "cine polichinela" constitué d'une boîte en carton comportant à l'arrière une fente permettant d'y introduire des marionnettes.



La marque de ce jouet destiné aux enfants avait été demandée en avril 1941 par Tomas et José Maria Nicolau Grino et obtenue le 3 mai 1942 sous le numéro 118.937.



Ces marionnettes, habillées de tissus, pouvaient alors être manipulées et animées lors de la projection.

Photographies de l'appareil et des marionnettes aimablement transmises par Miquel de CaLaCinta

Peu de temps après, le 6 avril 1940, les mêmes Tomas Nicolau Grino et José Maria Nicolau Grino déposent une demande de brevet qui sera accordée sous le numéro 149 265.



Cette demande concerne une visionneuse destinée à regarder les films à images alternées, permettant, ainsi que le précise la demande de brevet, de produire l'illusion optique du mouvement.

Je ne sais pas si cette invention a été produite commercialement.

     

SUPERNIC (1950)


Après la seconde guerre mondiale, le premier modèle de SuperNIC est apparu durant les années 1950.
Super NIC NIC (Tomàs & Josep Nicolau Griñó; Nicolau=Nic) Brevet du 25 avril 1931 1950
Film papier à 2 lignes d'images
Métal
PR2-NICS-015


supernic

Une version "panoramique" fut ensuite créée. Elle utilisait des pellicules de plus grand format, de taille similaire à celles de la première époque (10 cm de large). Il est amusant de constater que ce retour aux sources est annoncé comme un progrès car offrant une vision plus large, panoramique !

Cet appareil se différencie extérieurement des productions plus anciennes :
- par les deux larges ouvertures devant les objectifs, occupant toute la face avant de l'appareil,
- par la fente au-dessus des objectifs, par laquelle le mécanisme d'entraînement peut se mouvoir.

 

  par la suite l'esthétique du SuperNic sera légèrement modifiée, les couleurs seront plus variées.

Toute une collection sera ainsi poursuivie
jusquà la fermeture des usines Nic en 1974.
 
     

CINE NIC TELEVISION 1 (1951)


le Cine NIC Television est apparu en 1951.
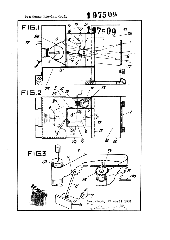
Cine NIC Television 1ère époque (NIC TV cartòn) NIC (Tomàs & Josep Nicolau Griñó; Nicolau=Nic) Brevet demandé le 17 avril 1951 et attribué le 1er août 1951 avec le numéro 197509 (applicable au 23 avril 1951) 1951
Film papier à 2 lignes d'images
Carton
PR2-NICS-009


Image extraite du brevet ES197509

Les boutons en façade sont uniquement décoratifs.
 
Cette version est en carton de couleur grise. Le boîtier est du type "1ère époque".
PR2-NIC*-007 (1)
 
Autre version carton de couleur verte. Les films utilisés sont ceux de petite taille.
PR2-NIC*-007 (2)
 

Brevet 197 509 demandé par Tomas Nicolau Grino le 17 avril 1951 à Barcelone.


 
 

CINE NIC TELEVISION 2 (1960)

Cine NIC Television 2ème époque (TV Super NIC) NIC (Tomàs & Josep Nicolau Griñó; Nicolau=Nic) Brevet demandé le 13 juillet 1960 et obtenu sous le numéro 259912 le 10 octobre 1960 (application au 30 juillet 1960) 1960
Film papier à 2 lignes d'images
Carton. Ampoule 25 W.
PR2-NICS-013
cm
15
29
11


Images aimablement communiquées par Francisco Boisset (Espagne)


Cette deuxième version connaîtra un modèle français de couleur bleue.
 
     

CINE NIC TELEVISION SONORO 1 (1953)


L'année 1953 verra sortir un modèle sonore : le Cine Television Sonoro. Cet appareil est un projecteur classique Nic Television sur lequel un système sonore a été ajouté.
Cine NIC Television sonoro 1ère époque NIC (Tomàs & Josep Nicolau Griñó; Nicolau=Nic) Brevet 200 624 concédé le 9 décembre 1953 1953
Film papier à 2 lignes d'images
Carton
PR2-NICS-010


 
Le brevet 200 624 est précisé comme étant une amélioration du brevet 197 509 de 1951, celui du Nic Television.
 
 
 

CINE NIC TELEVISION SONORO 2 (1961)

Cine NIC Television sonoro 2ème époque (NIC TV Sonoro Metàlico) NIC (Tomàs & Josep Nicolau Griñó; Nicolau=Nic) ~ 1961
Film papier à 2 lignes d'images
Métal
PR2-NICS-014

Notice NIC TelevisioN SonorO recto Notice NIC TelevisioN SonorO verso


Images aimablement communiquées par Francisco Boisset (Espagne)
 

 

 
     

REFLEX NIC (1958)


Le Reflex NIC est un accessoire pour les projecteurs NIC apparu en 1950. C'est un ensemble de carton contenant un miroir qui, par réflexion, projetait l'image par rétroprojection sur un écran de papier calque.
Reflex NIC NIC (Tomàs & Josep Nicolau Griñó; Nicolau=Nic) Brevet 60.873 du 26 mai 1958
~1958

Carton
PR2-NICS-18




Couvercle de l'appareil
Images aimablement communiquées par Francisco Boisset (Espagne)
Le Reflex NIC était livré avec un projecteur NIC. L'idée de rétroprojection se retrouvera dans d'autres pays, tels le TV Cine anglais. Ce premier dispositif permettant de regarder les films sur un écran incorporé, sera amélioré deux ans plus tard par un ensemble de même principe, le TV Super Nic. Une autre solution entre-temps sera également trouvée avec le Nic Television.
 
Le 1er septembre 1957, le Bulletin Officiel de la Propriété Industrielle espagnol publie dans son numéro 1690 la demande de brevet déposée par Alberto Nicolau Araque. Il s'agit du modèle d'utilité décrivant le Reflex Nic. Déposé avec le numéro 60.873, ce brevet sera accordé le 1er juillet 1958 avec effet au 26 mai 1958.
 
 
     

TV SUPER NIC (1960)


Successeur du Reflex Nic et solution complémentaire aux Cine Television, le TV Super NIC est un ensemble astucieux contenu dans une boîte en carton : la boîte elle-même fait office d'écran de projection, et un projecteur Nic de forme compacte est fixé sur le fond ouvrable.
TV Super NIC NIC (Tomàs & Josep Nicolau Griñó; Nicolau=Nic) Brevet 259.912 du 16 octobre 1960 ~1960
Film papier à 2 lignes d'images
Métal, carton
PR2-NICS-17
Images aimablement communiquées par Francisco Boisset (Espagne)
 

Le brevet 259 912 est la concession d'un certificat d'ajout au brevet 197 309.
Le brevet 259.912 demandé le 13 juillet 1960 par Tomas Nicolau explique en images le contenu de la boîte : la première image (figure 3) montre l'ouverture du fond de la boîte, permettant ainsi de mettre en place le projecteur compact (figure 1)
Brevet du Reflex Nic Brevet du Reflex Nic Brevet du Reflex Nic Brevet du Reflex Nic Brevet du Reflex Nic
Le dépositaire de la demande de brevet était Tomas Nicolau Grino, domicilié Calle Conde de Asalto, n°175, à Barcelone (Espagne).
Ce brevet se présente comme une amélioration du brevet 197.509 datant de 1951 (très certainement celui du Reflex Nic, puisque cette demande d'amélioration du brevet concerne l'amélioration du boîtier).
 
 
 

 

Le 22 août 1966, c'est Alberto Nicolau Araque qui dépose à Barcelone une demande de brevet pour un projecteur pliable. Le brevet 331 078 sera délivré le 1er juillet 1967 avec effet au 14 mars 1967.



L'appareil sera fabriqué sous le nom "Nic Universal". Il était destiné à projeter des images par réflexion de la lumière sur des images (des chromos) introduites sur l'arrière de l'appareil.

     

SUPER NIC ELECTROMATIC (1969)


Certainement le dernier modèle produit : c'est en 1969 que l'appareil sera finalement équipé d'un moteur électrique ("Super NIC electromátic") . Dernier soubresaut avant l'arrêt des productions Nic en 1974, cet appareil est le seul qui ait été équipé d'un moteur afin d'améliorer le confort et la régularité des projections. electromatic electromatic electromatic
Super NIC electromátic NIC (Tomàs & Josep Nicolau Griñó; Nicolau=Nic) 1969
Film papier à 2 lignes d'images
Carton
PR2-NICS-016

Il est étonnant de constater que Nic a eu besoin de presque 40 ans pour se décider à motoriser son projecteur, près de 35 ans après les petits Dux allemands ou le Mickey Mouse Talkie Jector américain. Mais il est vrai que pour ces anciens appareils le système d'avancement était un mécanisme à ressort et non un moteur électrique.
 
     

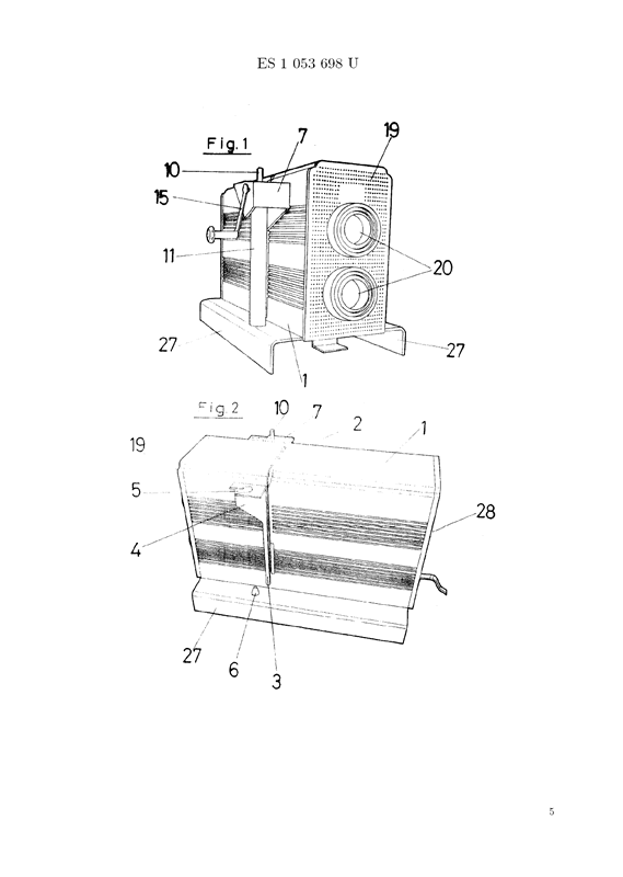
NIC CROMOSOMA (2003)


Enfin, en dernière nouvelle, la société Cromosoma a sorti pour Noël 2003 une version modernisée du NIC.


Avec la permission de Cromosoma
Le brevet ES 1 053 698U a été demandé le 7 janvier 2003 et accordé le 1er mai 2003.
 
 
     

FILMS NIC

Films pour les projecteurs NIC

 

Bande large
Axe métallique

Bande étroite
Axe en carton
Bande large
Axe en carton
 
Bonne nouvelle : Salvi Jacomet a numérisé plusieurs de ces films, un excellent travail de qualité qui est disponible sur YouTube. Un DVD a également été édite. A voir la page de Salvi.

NIC Support métal      
Serie A Serie B Serie C Serie D Serie E
  - 13 : El sueño de Manolín
- 14 : El gigante del Bosque
- 15 : Las Ranas envidiosas
  - 37 : La Bruja
- 38 : El Cuervo
- 39 : El Yo-Yo
 
         
         
Concesion Walt Disney        
    Serie Los tres Caballeros    
       
 
         
 
NIC Pequeño        
Serie A Serie B Serie C Serie D Serie E
- 1 : La Cenicienta
- 2 : Tom el Cow Boy
- 3 : Barba Azul
- 4 : El Cuento de la Ratita
- 5 : Los Gatos van al teatro
- 6 : Buscadores de Oro

- 7 : Las ranas envidiosas
- 8 : La bella durmiente
- 9 : El Arca de Noé
- 10 : El soldadito
- 11 : MIAU tenor
- 12 : Los enanos del bosque

- 13 : El gran premio
- 14 : MIAU zapatero
- 15 : El país de los juguetes
- 16 : El caballo blanco
- 17 : El valiente
- 18 : El gato con botas
- 19 : La bruja
- 20 : Los misterios del mar
- 21 : El cuervo
- 22 : El castillo maldito
- 23 : El mentiroso
- 24 : El asalto del tren

- 25 : La Caperucita
- 26 : La cigarra y la hormiga
- 27 : Las ratas codiciosas
- 28 : La Urraca
- 29 : Las tres hilanderas
- 30 : La hija del molinero

- 31 : La isla del tesoro
- 32 : Los Reyes Magos
- 33 : El Circo
- 34 : El Gigante del Bosque
- 35 : El perro presumido
- 36 : Caza mayor

- 37 : Popeye marinero
- 38 : Popeye campeón
- 39 : Popeye pescador
- 40 : Popeye excursionista
- 41 : Popeye buscador de oro
- 42 : El Gimnasio de Popeye
- 43 : Popeye domador
- 44 : Popeye y los piratas
- 45 : El Tesoro de Popeye
- 46 : Popeye fotógrafo
- 47 : Popeye músico
- 48 : Popeye en el polo

- 49 : Rosalinda
- 50 : MIAU estudiante
- 51 : Los dos hermanos
- 52 : Pulgarcito
- 53 : El pequeño Robinson 1
- 54 : El pequeño Robinson 2

- 55 : Gran reclamo
- 56 : MIAU bombero
- 57 : Dick el bandido
- 58 : Títeres
- 59 : La venganza
- 60 : Los dos conejos
Serie F Serie G Serie H Serie I Serie J

- 61 : Gulliver 1.ª parte
- 62 : Gulliver 2.ª parte
- 63 : Robo ruidoso
- 64 : Perro sabio
- 65 : MIAU sacamuelas
- 66 : El gorrión

- 67 : Garbancito de la Mancha 1.ª p
- 68 : Garbancito de la Mancha 2.ª p
- 69 : Garbancito de la Mancha 3.ª p
- 70 : Garbancito de la Mancha 4.ª p
- 71 : Garbancito de la Mancha 5.ª p
- 72 : Garbancito de la Mancha 6.ª p

- 73 : Blanca Nieves y los 7 enanitos 1.ª p.
- 74 : Blanca Nieves y los 7 enanitos 2.ª p.
- 75 : Blanca Nieves y los 7 enanitos 3.ª p.
- 76 : Blanca Nieves y los 7 enanitos 4.ª p.
- 77 : Blanca Nieves y los 7 enanitos 5.ª p.
- 78 : Blanca Nieves y los 7 enanitos 6.ª p.

- 79 : Los tres caballeros
- 80 : Los tres caballeros 2.ª
- 81 : Los tres caballeros 3.ª
- 82 : Pato Donald pintor
- 83 : Pato Donald jardinero
- 84 : Pato Donald cazador

- 85 : Pinocho 1.ª parte
- 86 : Pinocho 2.ª parte
- 87 : Pinocho 3.ª parte
- 88 : Pinocho 4.ª parte
- 89 : Los tres cerditos
- 90 : El lobo y la caperucita

- 91 : DUMBO 1.ª parte
- 92 : DUMBO 2.ª parte
- 93 : DUMBO 3.ª parte
- 94 : DUMBO 4.ª parte
- 95 : El gato bandido
- 96 : La gallinita sabia

- 97 : El Vagabundo
- 98 : Al Polo Norte
- 99 : MIAU torero
- 100 : El Invierno
- 101 : La Primavera
- 102 : Ladrones de ganado

- 103 : Nikito en China
- 104 : Negros Sonoros
- 105 : El Acordeón
- 106 : Perro Aventurero
- 107 : Ratón Agradecido
- 108 : El Mamut

- 109 : Pluto y la Foquita
- 110 : Pluto hace de las suyas
- 111 : Pluto sonámbulo
- 112 Pluto cazador
- 113 : Pluto cantor
- 114 : Pluto y el perrero

- 115 : BAMBI 1.ª parte
- 116 : BAMBI 2.ª parte
- 117 : BAMBI 3.ª parte
- 118 : BAMBI 4.ª parte
- 119 : BAMBI 5.ª parte
- 120 : El ratoncito Volador
Serie K Serie L Serie M Serie Serie

- 121 : El muñeco de nieve
- 122 : MIAU detective
- 123 : El perezoso
- 124 : Un buen negocio
- 125 : León triste
- 126 : Nikito en la India

- 127 : La Lecherita
- 128 : Los grillos sabios
- 129 : El sueño de Manolín
- 130 : La Cotorrita
- 131 : MIAU pintor
- 132 : El Domador

- 133 : La Cenicienta 1.ª parte
- 134 : La Cenicienta 2.ª parte
- 135 : La Cenicienta 3.ª parte
- 136 : La Cenicienta 4.ª parte
- 137 : La Cenicienta 5.ª parte
- 138 : La Cenicienta 6.ª parte

- 139 : Alicia en el país de las Maravillas 1.ª p.
- 140 : Alicia en el país de las Maravillas 2.ª p.
- 141 : Alicia en el país de las Maravillas 3.ª p.
- 142 : Alicia en el país de las Maravillas 4.ª p.
- 143 : Alicia en el país de las Maravillas 5.ª p.
- 144 : Alicia en el país de las Maravillas 6.ª p.

- 145 : La Dama y el Vagabundo 1.ª p.
- 146 : La Dama y el Vagabundo 2.ª p.
- 147 : La Dama y el Vagabundo 3.ª p.
- 148 : La Dama y el Vagabundo 4.ª p.
- 149 : La Dama y el Vagabundo 5.ª p.
- 150 : La Dama y el Vagabundo 6.ª p.

- 151 : Peter Pan 1.ª parte
- 152 : Peter Pan 2.ª parte
- 153 : Peter Pan 3.ª parte
- 154 : Peter Pan 4.ª parte
- 155 : Peter Pan 5.ª parte
- 156 : Peter Pan 6.ª parte

 
         
SUPERNIC        
Serie Cuentos 1 Serie Cuentos 2 Serie Cuentos 3 Serie Cuentos 4 Serie Cuentos 5

- 507 : La Cenicienta
- 508 : El cuento de la ratita
- 509 : La cigarra y la hormiga
- 510 : El mentiroso
- 511 : La urraca
- 512 : El valiente

- 531 : La hija del Molinero
- 532 : El Castillo Maldito
- 533 : Las Cerezas
- 534 : La Bruja
- 535 : Las tres Hilanderas
- 536 : Barba Azul

- 537 : Rosalinda
- 538 : Las Ratas Codiciosas
- 539 : Los siete hermanos
- 540 : Caza mayor
- 541 : Camino del mercado
- 542 : La Bella durmiente

- 543 : Pulgarcito
- 544 : La Isla del Tesoro
- 545 : Los Enanos del Bosque
- 546 : Los Gatos van al Teatro
- 547 : Los Misterios del Mar
- 548 : El Caballo Blanco

- 549 : El Gato con Botas
- 550 : Los dos Conejos
- 551 : Miau Zapatero
- 552 : El Perezoso
- 553 : Los Reyes Magos
- 554 : Las Ranas Envidiosas
Serie Cuentos 6 Serie Cuentos 7 Serie Cuentos 8 Serie Cuentos 9 Serie Cuentos 10

- 555 : La Mona
- 556 : Buscadores de oro
- 557 : El sueño de Manolín
- 558 Miau estudiante
- 559 : El pequeño Robinsón - 1.ª p.
- 560 : El pequeño Robinsón - 2.ª p.

- 561 : El Gorrión
- 562 : Dick "El bandido"
- 563 : El Domador
- 564 : Títeres
- 565 : El Vagabundo
- 566 : Miau Tenor

- 567 : El país de los juguetes
- 568 : El acordeón
- 569 : Tom el cow-boy
- 570 : El gran reclamo
- 571 : Perro aventurero
- 572 : Miau pintor

- 573 : Perro presumido
- 574 : El gran Premio
- 575 : Miau sacamuelas
- 576 : Los grillos sabios
- 577 : El ratón agradecido
- 578 : Al Polo Norte

- 579 : El asalto del tren
- 580 : Negros sonoros
- 581 : La venganza
- 582 : Miau bombero
- 583 : Ladrones de ganado
- 584 : Robo ruidoso
Serie Cuentos 11 Serie Cuentos 12      

- 585 : Gulliver 1ª parte
- 586 : Gulliver 2ª parte
- 587 : Perro sabio
- 588 : El cuervo
- 589 : Miau detective
- 590 : El mamut
- 591 : El Circo
- 592 : Miau Enamorado
- 593 : El Soldadito
- 594 : El Algodon
- 595 : El Leon Triste
- 596 : El Invierno
     
Serie Oeste Serie Futuro Serie Grandes Cacerías Serie Fiesta Brava  

- 501 : La Patrulla perdida (Policía Montada)
- 502 : El valle de la muerte
- 503 : El asalto al banco
- 504 : Búfalo Bill (Coronel Cody)
- 505 : El traidor
- 506 : El asalto de la diligencia
- 513 : El viejo canón de Fort Ridgely
- 514 : El primer servicio (Policía Montada)

- 525 : Objetivo Planeta K10 1ª Parte - 519 : Cazando fieras ¡emocionantes escenas!
- 520 : Los hombres pantera (una feroz tribu)
- El Torito Negro
- Barba Azul
- A la Plaza
 
Concesion Walt Disney        
  Serie Mary Poppins     "Concesion pat. 142 292 Balet Blat"
- Pluto Hace de las Suyas
- Pluto Cantor
- Pluto y la Fanquita
- Pluto el Perrero
- Pluto Cazador
- Pluto Sonambulo
- Blanca Nieves y los Siete Enanitos (4)

- Los tres Cerdito
- Los tres Caballeros
- La Gallinita Sabia
- Dumbo (2)
- Pinocho
- Bambi
- Pato Donald Cazador
- Pato Donald Pintor
- Pato Donald Jardinero
- El Gato Bandito
- El Lobo Feroz y la Caperucita

603 à 608

615 à 620

638
- Garbancito de la Mancha
         
        Cromosoma
       
   
Disques        
19 - La Bruja
65 - Miau. Sacamuelas
89 - Los Tres Cerditos
92 - Dumbo
     

 

LES AUTEURS DES FILMS NIC

Ramon Nicolau Griñó
Tomàs Nicolau Araque, neveu du précédent

Ricard Opisso i Sala (Tarragona 1880 - Barcelona 1966), a collaboré à de nombreuses publications (Xut!, Cu-Cut!, L'Esquella de la Torratxa, TBO, Papitu, Virolet). Il était également un peintre et un graphiste publicitaire reconnu.
Il est l'auteur du graphisme du titre de TBO, journal de bandes dessinées pour enfants.

  Opisso dessiné par Picasso

Antoni Rocca dessinateur caricaturiste a collaboré à de nombreux journaux dont Estel. Illustrateur.

Artur Moreno (1909 - Barcelona 25 juin 1977) était un dessinateur, graphiste humoriste , illustrateur. Il publia dans les journaux Pulgarcito (satirique), Pocholo, El Hogar et TBO. Il entrera dans l'histoire comme créateur et producteur du premier long-métrage espagnol de dessins animés : "Garbancito de la Mancha" (1945).

Alfons Figueras (Vilanova 15 octobre 1922) a très tôt été intéressé par le cinéma et les bandes dessinées. Il est particulièrement connu pour avoir dessiné les personnages espagnols des agents secrets Aspirino y Colodión (1966) et Topolino (1968)

     

CINE PAYA (1940)


le PAYA
Cine PAYA (N°724) Payà 1934 1940
Film papier à 2 x 2 lignes d'images
Métal
PR2-PAYA-002
cm
17,5
12,5
7


Lot de pellicules Paya et coffret



Ce modèle est une version simplifiée du projecteur Cine Rai. Cette production fut réalisée pendant la guerre : la pénurie des matières premières avait alors conduit le constructeur à concevoir un boîtier plus petit que la version originale

 
Les films pour Cine Paya permettent une animation à deux images. Ils ont la particularité de contenir deux histoires : pour lire la deuxième histoire il suffit de retourner le film.
Ainsi quatre bandes d'images sont dessinées : deux pour chacune des histoires.
Sur les 6,5 cm de largeur c'est ainsi deux histoires qui sont racontées : généralement c'est la suite de l'histoire qui est racontée sur la deuxième partie du film. Pour la même longueur de film la projection est alors d'une durée double à celle d'un film habituel (comme l'animation à double image des Nic, Dux,...).
 
Les films sont imprimés sur un papier résistant et translucide, de la même façon que les films du projecteur Nic. La projection est assurée par une ampoule de bonne puissance alimentée par le secteur électrique, beaucoup plus forte que les petites ampoules alimentées par pile des petits projecteurs Dux ou Eagle.

Films pour Paya:
- Juguetes y niños : Los escolares
- La Flauta encantada : En busca de la joven
- La lampara de las maravillas : Y mi esposa
- De la tierra a la Luna : 1ª y 2ª partes
- Fallas Valencianas : Un solo de Bombo
- El ladron de Bagdad
- Ali Baba y los 40 ladrones
 
     

 

Paya Hermanos S.A. (surnommée "LA SIN RIVAL-PAYÁ HERMANOS", la sans rivale) est une entreprise créée en 1905 par les enfants de Rafael Paya Pico (Pascal, Vicente et Emilio Payá Lloret) dans la ville de Ibi. Spécialisée dans la fabrication d'objets simples en fer blanc (pot à lait, récipients), elle élargira sa gamme vers les jouets à partir de 1912 par la création d'un premier modèle signé Paya représentant une voiture avec cheval, puis des jouets mécaniques. Le projecteur jouet Cine Paya est un témoin de cette diversification.
Les objets de l'entreprise Paya étaient peints à la main, puis lithographiés à partir de 1919.
C'est à patir de 1933 que l'enterprse se lance dans la fabrication de trains miniatures ... et de projecteurs pour enfants.
vers 1923

Sous-traitant de grandes marques françaises et allemandes, Paya fabriquera ses premiers jouets en imitant des modèles importés, notamment d'Allemagne. Les réalisations étaient présentées à l'Exposition Régionale de Valence. Les pièces produites dans les ateliers de Paya (image ci-contre), majoritairement de fer blanc, pouvaient être animées au moyen de mécanismes à ressort, à friction... Il n'y avait ni piles, ni électricité, ni aucune nouvelle technologie. Les jouets RAI, uniquement de fer blanc, disparurent après l'irruption de la matière plastique.
L'ancienne fabrique a été transformée en musée du jouet.


Ferblantier spécialisé dans la fabrication de récipients pour transporter la glace (production typique de Ibi, la neige hivernale était compactée en glace pour être exploitée le reste de l'année), Rafàel Payà Picó avait élargi sa gamme vers divers accessoires ménagers. Il fabriquera son premier jouet en 1902 et créera sous la pression de ses trois fils la "Payá Hermanos, S.A." (Paya frères) en 1905.
Fut créée au même moment un autre atelier qui devint la "Rico S.A.", puis en 1925 la “Juguetes y Estuches” par d'anciens ouvriers de la Paya SA. Ainsi Ibi sera considéré comme le grand centre producteur espagnol de jouets. En 1933 les droits de la Sociedad Paya sont concédés à la R. S. Paya Hermanos,Sociedad Anonima (concessions 20 765 et 36 187, publiées le 16 mars 1934 avec effet au 19 novembre 1933).


 Visionneuse Paya permettant de regarder des image stéréoscopiques (images 7 x 3 cm).


Le Paya 730 est un projecteur utilisant une pellicule de 17,5 mm, la moitié d'un film 35 mm (le film ne comportant qu'une seule rangée de perforations d'entraînements, il semble bien qu'il s'agisse d'un film coupé en deux...).


Le Visor Paya est une rare et curieuse visionneuse permettant de regarder les films de 9,5 mm.


Images aimablement communiquées par Francisco Boisset (Espagne)
     

CINE RAI (1934)


le Cine RAI
Cine RAI (Cine Sonoro N°720, version muette N°722) Payà Hermanos, S.A. à Ibi (province de Valence) Brevet demandé le 20 février 1934, délivré le 16 avril 1934 (N° 133 629). Brevet compLémentaire demandé le 7 mars 1934, et obtenu sous le numéro 133 786 le 16 août 1934. Concession d'exploitation 135 851 demandée le 9 octobre 1934 et publiée le 1er janvier 1935.
1934
Film papier à 2 lignes d'images et 15 lignes de sons
Métal
PR2-PAYA-001
affiche rai21

En 1934, les appareils jouets cinématographiques à image alternées étaient en pleine expansion et les premiers appareils sonores apparaissaient. Le Cine Rai se différencie des autres productions par son système sonore : alors que ses concurrents intègrent un système de type gramophone comme les Nic Sonoro espagnols, ou aux Etats-Unis le Talkie Jector ou le Dorotone Talkie System, les établissments Paya ajoutent à leur Cine Paya un petit orgue de barbarie (mécanisme à lames vibrantes comme dans les harmonicas).
Cet appareil porte le nom de la production de qualité de la société Paya : Rai.
 
Le premier brevet concernant cet appareil avait été demandé le 20 février 1934 à Valence et attribué à la société Paya Hermanos le 6 mars 1934 sous le numéro 133.629.

Bulletin Officiel de la Propriété Industrielle espagnol N°1143 du 16 avril 1934 p.1051
Ce brevet fut suivi par le brevet 133.786 décrivant la synchronisation d'images et de sons. Déposé le 7 mars 1934, suspendu le 21 mars 1934, il sera finalement accordé le 29 juin 1934 à la Paya Hermanos SA.

Bulletin Officiel de la Propriété Industrielle espagnol N°1143 du 16 avril 1934 p.1056
Bulletin Officiel de la Propriété Industrielle espagnol N°1151 du 16 août 1934 p.2330
Il sera suivi le 3 décembre 1934 par le brevet 135.851 accordé à la même société et qui concerne une amélioration au brevet 133.629. Cette demande déposée le 9 octobre 1934 avait été suspendue le 19 novembre 1934 pour informations insuffisantes avant d'être finalement accordée.

Bulletin Officiel de la Propriété Industrielle espagnol N°1160 du 1er janvier 1935 p.3891
 
Le principe du Cine Rai a été breveté en Suisse le 24 octobre 1934 (N° 182 426).
 
En Allemagne le brevet 653.182 date du 1er novembre 1934.
 
le même brevet a ensuite été déposé en France le 13 novembre 1934 , il sera accordé le 18 février 1935 sous le numéro 781.198. La société Paya Hermanos S.A. présentait son appareil comme le premier combinant à la fois la projection d'images et la reproduction sonore ou musicale l'accompagnant : le cinématographe sonore.
Le brevet cite la demande de brevet déposée en Espagne le 20 février 1934.
 

Aux Etats-Unis, Raimundo Payá Rico avait déposé sa demande de brevet. Il l'obtiendra sous le numéro 2,075,470 le 30 mars 1937, applicable à compter du 23 janvier 1935.
Dans le brevet l'auteur fait référence au brevet suisse du 24 octobre 1934.

 
Au Royaume-Uni, Raimundo Paya Rico a obtenu le 3 janvier 1936 le brevet 440,702 applicable au 10 mai 1935.
 
Enfin, il est à noter que le 10 mai 1943 un nouveau brevet (N°160.619) prolonge le brevet d'un appareil ciné sonore et de sa pellicule.
Les plans présentés dans cette demande de brevet sont bien ceux du projecteur Cine Rai.
Comme je le suppose, cette demande devait, en période difficile de guerre mondiale, assurer une certaine garantie par la prolongation du brevet initial qui arrivait l'année suivante au terme de ses 10 années de protection.
 




Le Cine Rai a été produit vers 1934, fabriqué par Payà Hermanos, S.A. à Ibi (province de Valence) . La bande comportait des perforations utilisées par un petit orgue de barbarie , incorporé à l'appareil, de style harmonica, qui jouait ainsi à partir des 15 lignes perforées du film. La partie musicale était fabriquée en collaboration avec l'entreprise "Claudio Reig" également de Ibi (entreprise créée en 1934 et spécialisée dans les jouets musicaux et notamment les "poupées pleureuses" et qui prit son essor grâce à la fabrication des sifflets et soufflets pour Paya).





http://es.geocities.com/cine_nic/cine/cinenic1/peliculaq.jpg (bande avec piste sonore) eBay lampe

La partie optique est éclairée par une ampoule de 40 W, de la même puissance que celle des Cine Nic.
 
Pellicule pour projecteur Paya Rai Sonoro

Animation d'un film pour Paya Rai

Exemple de film pour le Paya Rai Sonoro : la bande est large (12,5 cm !), car elle comprend à la fois les images et la partie sonore.
Les deux premières lignes concernent les images, elles permettent l'animation simple à 2 images alternées. Le film ne contient qu'une seule histoire, contrairement au modèle précédent de Paya : le retournement du film aurait été impossible en raison des perforations musicales.
Ensuite les quinze lignes suivantes contiennent les perforations : comme dans un orgue de barbarie, ces trous permettent le passage de l'air actionnant la boîte à musique. Inclus sur le même support, le son et l'image étaient donc parfaitement synchronisés.

Pellicule pour projecteur Paya Rai Sonoro
Le principe de ce film qui comprend à la fois les images et les perforations sonores faisait partie intégrale des brevets déposés. Mais il ne sera ensuite repris dans aucun autre projecteur, ce qui fait du Paya Rai Sonoro un appareil unique.
 
   

 

"juguetes Rai posee para su nena la felicidad" : les jouets Rai promettait le bonheur des enfants .

Catalogue Paya Rai

La marque RAI a été publiée le 16 septembre 1935 sous le numéro 105 118 (Bulletin Officiel espagnol de la Propriété Industrielle N°1177 du 16 septembre 1935, page 7215)

 

 

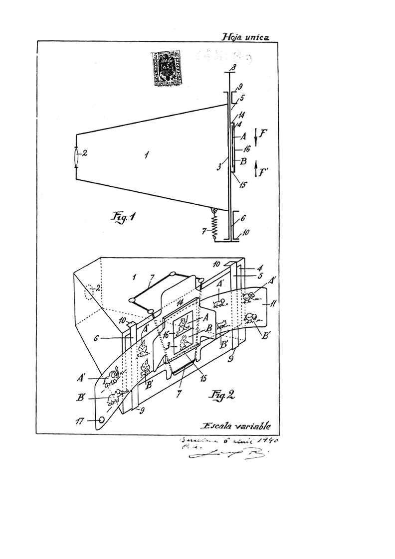
Description du brevet français 781198

Cinématographe sonore servant de jouet. Bien qu'il existe sur le marché des appareils de projection de divers genres, destinés à servir de jouets aux enfants, aucun ne combine la projection des images avec la reproduction sonore ou musicale qui doit l'accompagner. Pour obtenir ce résultat, il a été imaginé un appareil qui est décrit ci-après en se référant aux dessins annexés, dans lesquels:
La figure 1 est une vue schématique de l'appareil, laquelle montre quelques parties essentielles de son mécanisme et la boîte à soufflet qui va être décrite.
La figure 2 fait voir spécialement le dispositif par lequel l'objectif cinématographique est mis en mouvement de va-et-vient vertical, et un fragment du rouleau de papier qui contient des figures et les orifices producteurs du son.
La figure 3 montre le mécanisme de l'appareil en projection latérale.
La figure 4 est une représentation détaillée d'un fragment de rouleau de papier contenant les figures auxquelles l'appareil communique les mouvements cinématographiques, et des orifices producteurs des sons qui accompagnent les mouvements de ces figures.

Comme on peut le voir sur les figures 1 et 3, la manivelle 1 produit le mouvement dont dépend tout le fonctionnement de l'appareil. Son mouvement circulaire produit les différents mouvements secondaires, en se transformant de manière à réaliser chaque de la façon qui est expliquée ci-après.

La manivelle possède, à l'extrémité de son axe, un vilebrequin 2 (fig. 3) qui est relié à une bielle 3 transmettant le mouvement dudit vilebrequin au levier oscillant 4 près de son extrémité libre 6, l'autre extrémité de ce levier étant reliée à l'axe 5. A l'extrémité 6 du levier 4 se trouve le point d'articulation du levier 7, et la disposition de tous ces éléments est telle que le mouvement de rotation de la manivelle 1 est transformé en un mouvement de va-et-vient rectiligne et vertical.

Le levier 7 porte, à son extrémité, la pièce 8 constituée par une plaque qui se meut sur l'axe 9 et possède une élasticité de mouvement qui lui permet de se mouvoir de haut en bas grâce aux ressorts a b et a' b' fixés de manière que chacun d'eux soit fixé par une extrémité sur la pièce 7 et par l'autre sur la plaque 8, de la manière qu'on voit sur la figure 3. La pièce 8 mentionnée présente d'un côté, celui opposé à l'axe g, une rainure 12 dans laquelle entre l'extrémité 13 du levier 14 (fig. 2) lequel fait osciller la pièce 18 sur laquelle est monté l'objectif 19, de manière à communiquer à cet objectif un mouvement de va-et-vient vertical.

Le bout extrême 16 du levier 14 s'introduit dans la boîte 17 qui, à cet effet, porte la coulisse 18 et à laquelle le levier 14 transmet ses mouvements d'impulsion sous l'action du mouvement de la pièce 8 reliée au levier 7. La coulisse 18 porte, à sa partie supérieure, l'objectif 19, lequel se meut avec elle et a pour guides des glissières 20, et à son extrémité inférieure une butée 21 qui est faite en une matière molle pour amortir le bruit et les chocs et limite en même temps la course de la coulisse 18 tant vers le haut que vers le bas.

L'effet sonore est produit par le même mouvement du levier 7, lequel agit par son extrémité 34 (fig. 3) sur le soufflet 23. Celui-ci introduit l'air recueilli dans sa chambre dans la boîte additionnelle 24 (fig. 1) qui fait office de condensateur. Cette boite 24 possède une face 25 qui est mobile, à la manière d'un soufflet, perpendiculairement à la paroi opposée de la boîte 24 et qui, conjointement avec le ressort 26 assure que l'air se trouve sous pression à l'intérieur de la chambre 24 et disposé à sortir par les fentes de la plaque harmonique 27 (frg. 3) adossée par sa face interne contre la boîte 24 et en contact avec elle.

La plaque harmonique 27 présente, dans sa surface, une série de fentes 28 (fig. 2) qui coïncident. avec les languettes de la plaque harmonique 27 et sont indépendantes les unes des autres. A travers ces fentes, au passage de la bande 2 q et à mesure que communiquent avec elles les évidements de ladite bande, l'air produit les sons cor respondant aux notes qui, n'étant pas obtu rés, le laissent passer.

Lorsque le rouleau cinématographique 29 avec ses figures et ses impressions sonores a été placé sur le support 30 (fig. 2) et que le rouleau ou bande sur sa bobine a été assujetti à sa partie supérieure par le levier 31, de manière à se trouver prêtà fonctionner, il passe derrière la glissière 20 portant l'objectif 19, frôle les fentes 28 de la plaque harmonique 27 jusqu'à arriver sur l'axe 35, (fig. 3), sur lequel a lieu son enroulement après son passge derrière l'objectif, cet axe recevant son mouvement de la rotation de la manivelle 1, en même temps que celle-ci tourne, au moyen de la vis sans fin 33 formée sur l'axe de cette manivelle et engrenant avec la couronne ou roue dentée dont est pourvu à sa partie inférieure de cet axe 32, produisant ainsi le mouvement de rotation désiré pour le déroulement et l'enroulement de la bande.

Le fonctionnement de l'appareil est le suivant : la source lumineuse ayant été placée sur le porte-lampes 22 (fig. 3) et la bobine de la bande sur le support 30 (fig. 2), et cette bande ayant été passée par derrière la glissière20 portant l'objectif 19, comme cela a été dit plus haut, on fait tourner la manivelle 1 de manière à mettre en action le groupe de leviers décrit pour donner ainsi naissance au mouvement vertical de va-et-vient de l'objectif 19, ce qui a pour effet, de produire sur l'écran le mouvement cinématographique des figures de la bande à leur passage par l'objectif. En même temps, le jeu des leviers. mentionné plus haut, qui a lieu toujours en vertu du mouvement de la manivelle 1, a pour effet que le levier agit sur le soufflet 3 (fig; 1) qui accumule ainsi dans la chambre 24 l'air nécessaire à la production des sons au passage des évidements de la bande par la plaque harmonique.

Lorsque la bande 29 a passé sur l'axe 32 après le fonctionnement de l'appareil, on désaccouple de la vis sans fin 33, au moyen du secteur circulaire 36 (fig. 1) la couronne dentée que porte à son extrémité l'axe 32, et celui-ci se trouve alors libre pour enrouler la bande sur sa bobine primitive fixée sur le support 30, dont l'enroulement. s'effectue au moyen de l'axe 35 (fig. 2) qui porte le levier 31. Si l'on accouple à nouveau l'axe 32 au moyen du secteur circulaire 36 pour le ramener en position d'action, il se trouve prêt à opérer de nouveau de la manière décrite.

L'appareil est enfermé dans une caisse de laiton ayant une porte latérale qui permet. de surveiller l'éclairage.

Bien entendu l'appareil décrit peut être fabriqué avec emploi de toute espèce de matériaux appropriés et à des dimensions variables, et l'on pourra modifier entièrement ou en partie la forme, la disposition et le placement de ses éléments en tant que ces modifications n'altèrent pas les fondements essentiels décrits ni l'animation des figures résultant du mouvement de l'objectif et la production simultanée de sons par l'emploi d'une plaque harmonique, le tout étant contenu dans le même appareil et obéissant, à un seul mouvement.

Bien que la bande productrice des effets de cinématographe sonore ait été décrite en ce qu'elle a de fondamental, ses caractères seront détaillés ci-après, étant donné qu'elle constitue une partie si importante de l'appareil cinématographique sonore décrit.

La fig. 4 est, une représentation de cette bande.

Il s'agit d'une pellicule faite de toute matière appropriée, qui est synchronisée pour la projection d'images animées avec audition musicale obtenue au moyen d'une plaque harmonique ou par un autre moyen analogue.

La caractéristique essentielle de la bande ou pellicule en question consiste dans la disposition des éléments concourant à son action pour produire, au moyen desdits élément:, la synchronisation de la projection animée de ses figures avec une audition musicale.

Pour obtenir ce résultat, les figures sont disposées dans une des marges longitudinales de la pellicule ou toutes les deux selon la disposition de l'objectif employé à la projection, et le reste de la pellicule présente une série de perforations rectangulaires ou de toute autre forme géométrique pour que soient produites, à leur passage et lorsque lesdites perforations coïncident avec les orifices de sortie de l'air dans la plaque harmonique, les notes musicales gravées dans la pellicule sous la forme des perforations mentionnées.

Les perforations de la bande ou pellicule (que l'on pourrait appeler musicales, puisqu'elles servent à produire l'audition des sons de la plaque harmonique, à cause de l'air qui passe à travers ses fentes en combinaison avec lesdites perforations) se font dans la pellicule au moyen d'éléments mécaniques ou manuels, vu que la caractéristique essentielle de ces bandes perforées consiste dans leur but et leur application formant partie intégrante des figures ou dessins.

La bande ou pellicule pourra être en papier, celluloïd, toile, ou toute autre matière susceptible d'application. Quant au moyen actif pour l'obtention de l'audition musicale, il pourra être la plaque harmonique déjà indiquée ou un autre moyen permettant d'obtenir le même résultat.

 
     

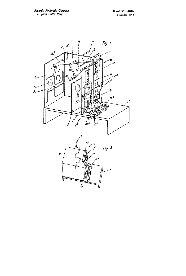
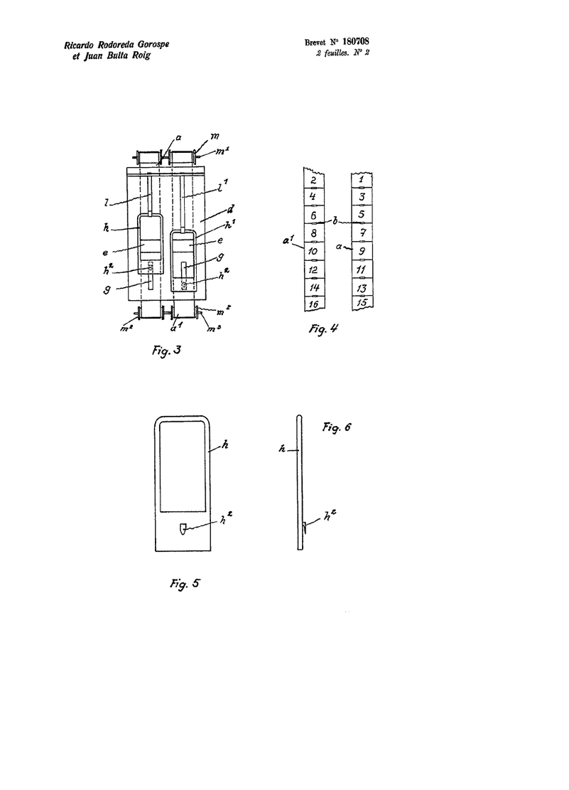
CINE ROD BUL (1935)


le Cine Rod Bul

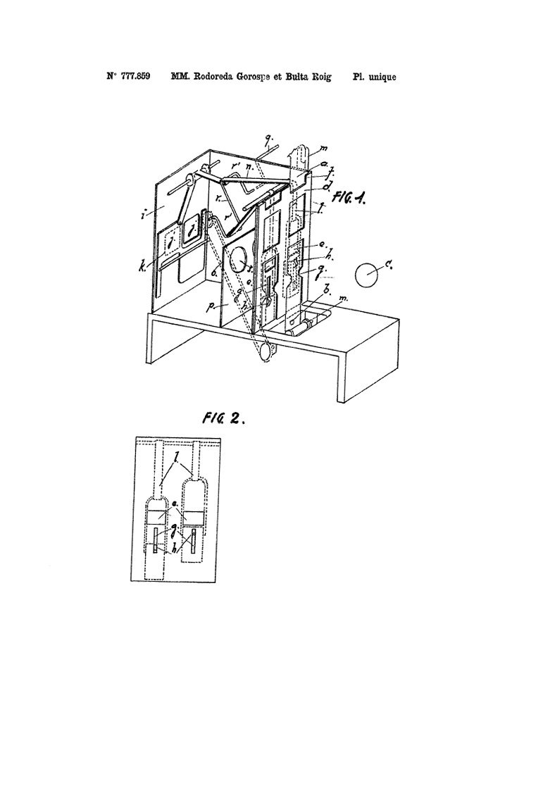
a été inventé en 1933 par Ricardo Rodoreda Gorospe et Juan Bulta Roig. Cet appareil se différencie du Nic par l'utilisation de deux films projetés en parallèle : c'est toujours le même procédé d'animation à deux séries d'images, mais au lieu d'être sur la même bande de papier ce sont deux bandes de film dont les images sont projetées alternativement.
Cine Rod Bul Ricardo Rodoreda Gorospe et Juan Bulta Roig, Barcelone. Premier brevet 131 879 déposé le 9 septembre 1933. Brevet 139 324 déposé en Espagne le 30 juillet 1935 et délivré le 16 novembre 135 (avec effet au 5 octobre)
1935
Film en papier

PR2-RODB-001

Par ce procédé de projection sur deux bandes leur inventeur présentait l'avantage d'une animation différente, moins saccadée et plus fluide. Se rapprochant du principe du cinéma, l'image de chaque bande n'est projetée qu'une seule fois : contrairement à la projection obtenue sur un projecteur Nic, un personnage apparaissant d'un côté de l'écran ne doit pas disparaître de l'autre côté, au rythme de l'avancement du film.


Images aimablement transmises par Francisco Boisset (n°1) et Miguel-Angel Urrutia (n°2 & 3)

Le nom de l'appareil vient des premières lettres du nom des deux auteurs : Ricardo Rodoreda [Gorospe] et Juan Bulta Roig.

Le brevet espagnol de ce projecteur a été demandé à Barcelone le 9 septembre 1933. Il a été publié le 16 novembre 1933 avec effet au 9 octobre 1933. Les deux auteurs Ricardo Rodoreda et Juan Bulta étaient résidents de Barcelone.
 
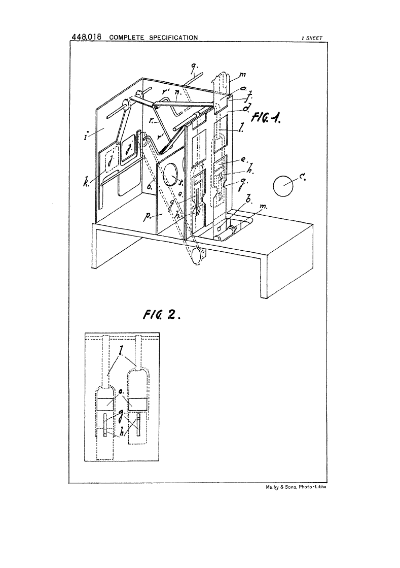
Un second brevet a été demandé le 22 août 1934 en Grande-Bretagne. Il sera attribué sous le numéro 448,018.
Il donne les adresses des deux déposants :
- Ricardo Rodoreda Gorospe, 550 Cortes à Barcelone,
- Juan Bulta Roig, 24 Cruz de los Cauteros à Barcelone.
Le mécanisme du projecteur comprend bien un double système d'avancement des films. Le texte du brevet définit cette mécanique comme "un appareil de projection très simple" : petit mécanisme, système de contrepoids, boîte en bois ou carton-fibre.
Une glissière asymétrique obstrue alternativement les deux faisceaux lumineux. Dans le même moment où la lumière est coupée, le film correspondant avance d'une image.
  Brevet anglais du RodBul 448,018 Brevet anglais du RodBul 448,018 Brevet anglais du RodBul 448,018 Brevet anglais du RodBul 448,018
 
Le 31 août 1934 Ricardo Rodoreda Gorospe et Juan Bulta Roig font déposer à Paris une demande de brevet pour un "nouveau procédé et appareil permettant d'obtenir des projections par transparence produisant des images animées". Ce brevet 777.859 sera obtenu le le 5 décembre 1934 (publié seulement le 2 mars 1935). Mention est faite du dépôt initial espagnol datant du 9 septembre 1933.
  Brevet français du RodBul 777.859 Brevet français du RodBul 777.859 Brevet français du RodBul 777.859 Brevet français du RodBul 777.859
 
La demande du brevet français avait été déposée le 31 août 1934 à 14h46, la demande suisse a été déposée le même jour à Berne à 18h15. Ce brevet comporte plus de dessins que ceux anglais ou français.
Le brevet 180708 sera délivré le 15 novembre 1935.
Il détaille notamment le mécanisme d'avancement des films : on voit sur le dessin ci-contre deux schémas. Celui de droite précise les séries d'images contenues sur chacun des deux films, la projection devant ensuite alterner une série et l'autre.
Le schéma de gauche explicite le système d'avancement commandé par une came.
  Brevet suisse du RodBul 180708 Brevet suisse du RodBul 180708 Brevet suisse du RodBul 180708 Brevet suisse du RodBul 180708 Brevet suisse du RodBul 180708
 
Et finalement le 30 juillet 1935 Juan Bulta Roig dépose une demande de brevet à Barcelone, qui sera accordé le 16 novembre 1935 avec effet au 9 octobre 1935.
 
Je ne sais pas dans combien de pays les auteurs auront déposé leur brevet, mais ce projecteur fera également en Pologne l'objet d'un brevet délivré à Varsovie le 15 avril 1936. La demande avait été faite le 31 août 1934 avec l'aide de J. Wyganowski et faisait référence au brevet espagnol du 9 septembre 1933.
 
 
Films :

Images aimablement transmises par Miguel-Angel Urrutia
 

 

Description du brevet français 777859

Nouveau procédé et appareil permettant d'obtenir des projections par transparence produisant des images animées. La présente invention a pour objet de nouveaux procédés et appareil différent complètement de ceux qui sont employés dans la cinématographie et qui nécessitent la prise d'une très grande série de vues ou de tracés de dessins pour les projeter ensuite à une vitesse de dix-sept vues par seconde, d'où la nécessité de mécanismes compliqués pour la prise et la projection des vues.

Ils diffèrent également du procédé em ployé pour projeter des dessins animés par projection alternative et répétée de deux moments d'une même scène qui se développent sur l'écran, toujours dans le même sens jusqu'à son passage total, les différentes scènes qui constituent une historiette, apparaissant successivement et se projetant de la même façon et, dans chacune des scènes, l'une et l'autre des deux phases du mouvement se voyant toujours et d'une façon répétée, tant que dure leur passage sur l'écran.

Le nouveau procédé qui va être décrit est basé sur l'utilisation de deux pellicules transparentes qui portent imprimées alternativement et sur chacune d'elles, une série de vues de moments instantanés d'une action, vues qui sont projetées dans le même ordre, de telle façon que chacune d'elles demeure fixe pendant un instant et disparaisse ensuite rapidement pour faire place à la suivante; le fait physiologique de la persistance des images sur la rétine du spectateur, joint au phénomène psychologique de l'illusion, produit la sensation du mouvement des figures qui apparaissent sur l'écran.

Ce procédé représente de grands avantages, surtout dans la projection des dessins dits animés ; effectivement, si on le compare au cinématographe, on verra qu'il nécessite un nombre bien moindre de dessins et un appareil de projection très simple; si on le compare au système de lanterne avec pellicule de deux moments par scène, on verra qu'il présente l'avantage de la continuité de mouvements et d'actions dont manque ce dernier, puisque, de même que nous l'avons dit plus haut, il se limite à projeter alternativement et d'une façon répétée, deux positions depuis leur apparition sur une extrémité de l'écran jusqu'à leur disparition à l'autre extrémité. .

A titre d'exemple une forme de réalisation de la présente invention va être décrite ci- dessous en regard du dessin annexé représentant l'appareil qui en fait l'objet et dans lequel La fig. 1 représente une vue dudit appareil en perspective; La fig. 2 représente un détail du jeu des contrepoids servant à faire descendre les pellicules et dont il est fait mention ci- dessous.

Pour pratiquer ce nouveau procédé, les éléments nécessaires et leur disposition sont les suivants :
En ce qui concerne les pellicules, deux bandes indépendantes a sont nécessaires; elles peuvent être constituées d'une matière transparente quelconque. telle que : papier, toile, papier parcheminé, celluloïd ou analogue et qui présente une résistance suffisante. Sur ces deux pellicules 1 et 2, dans le sens de leur largeur et alternativement sur l'une et sur l'autre, on dispose la succession des vues, soit au moyen d'un dessin direct, d'une photographie, d'une gravure, d'une photogravure ou de quelque autre procédé graphique, tout cela pouvant être même en une ou plusieurs couleurs. Entre les scènes de chaque bande, séparées par un millimètre environ, il y a un trou carré b, de la même hauteur et qui peut se trouver in distinctivement dans le centre ou bien des deux côtés.

Le projecteur utilisé est un projecteur de boîte qui porte à l'intérieur le réflecteur nécessaire c, constitué par un ensemble de deux miroirs formant dièdre, ou bien encore peint intérieurement en blanc ou disposé de quelque autre façon convenable et portant aussi à l'intérieur une ou deux ampoules électriques. Il peut être construit en bois, en carton-fibre ou avec toute autre matière appropriée.

La chambre de projection présente la forme d'un caisson allongé et peut être construite en bois, en carton-fibre ou de toute autre matière.

Dans la cloison postérieure d du caisson, à la moitié de sa hauteur environ, existent deux petites fenêtres e, l'une à côté de l'autre, ayant à peu près la dimension du carré de la pellicule, portant chacune à côté d'elle des guides f qui se prolongent dans tout le sens de la hauteur et servent à guider les pellicules; dans la partie inférieure de chaque petite fenêtre, il y a une rainure g dans laquelle peut pénétrer une dent h.

Dans la cloison antérieure i existent deux orifices j servant à laisser passer les faisceaux lumineux; à l'intérieur de ladite cloison et glissant contre les orifices, un obturateur k, dont la forme permet de lui imprimer un mouvement de haut en bas couvrant et découvrant alternativement chacun d'eux.

Dans l'intérieur du caisson, et glissant contre la paroi postérieure, existent deux contrepoids 1, pourvus de dents h qui peuvent pénétrer dans les rainures g.

Deux rouleaux m, l'un disposé à la partie supérieure et l'autre à la partie inférieure de la chambre, enroulent et déroulent les pellicules, transmettant le mouvement de l'une à l'autre au moyen de poulies sur les quelles s'enroulent un cordon ou une petite courroie o.

Les objectifs sont montés sur une cloison p placée dans l'intérieur du caisson.

Le mouvement est transmis au moyen d'une manivelle q accouplée directement à un arbre r, à deux coudes r`, à 180° qui, par l'intermédiaire des rubans n actionnent les contrepoids 1 et l'obturateur k.

Ce fonctionnement de ce dispositif est le suivant:
Les deux pellicules étant enroulées sur le rouleau supérieur m, on fait passer leurs deux bouts par les guides f jusqu'à ce que le commencement de chaque pellicule se trouve en face de chaque petite fenêtre e ; on assujettit leurs extrémités au rouleau inférieur m, puis, ayant fixé le projecteur contre la paroi des petites fenêtres, on actionne la manivelle q ; le mécanisme se met alors en mouvement de telle façon que, pendant un très court instant, l'orifice correspondant au faisceau lumineux, qui correspond à la fenêtre où se trouve la pellicule 1, est découvert pendant que la pellicule 2 avance d'une image; ensuite la pellicule 2 est découverte et se projette pendant que la pellicule 1 se déplace et ainsi de suite.

Les dispositions ci-dessus ne sont, bien entendu, données qu'à titre d'exemple seulement, les formes, matières et dimensions des organes constitutifs ainsi que les dispositions de détail peuvent être modifiées sans nuire au principe de l'invention.

 
Description du brevet suisse 180708

Procédé pour obtenir des projections par transparence produisant des images animées, et appareil de projection pour la mise en oeuvre de ce procédé. La présente invention comprend un procédé pour obtenir des projections par transparence produisant des images animées, ainsi qu'un appareil de projection pour sa mise en ceuvre, cet appareil pouvant par exemple constituer un nouveau jouet pour les enfants, susceptible de produire autant que possible les effets de la projection cinématographique, sans toutefois nécessiter la prise d'une très grande série de vues ou de tracés de dessins pour les projeter ensuite à une vitesse de dix-sept vues par seconde, ce qui nécessite des mécanismes compliqués pour la prise et la projection des vues et les opérations complémentaires.

Le procédé que comprend l'invention est caractérisé en ce qu'on distribue les vues successives d'une série de moments d'une action alternativement sur deux pellicules et en ce qu'on projette ces vues dans l'ordre de leur prise, en donnant à ces deux pellicules un mouvement saccadé tel qu'elles se déplacent alternativement, chacune devant une fenêtre d'un appareil de projection. Par suite de ce mouvement saccadé des pellicules, chaque vue demeure fixe pendant un moment et disparaît ensuite rapidement pour faire place à la suivante; le fait physiologique de la persistance des images sur la rétine du spectateur, joint au phénomène psychologique de l'illusion, produit la sensation du mouvement des figures qui apparaissent sur l'écran.

Une forme d'exécution de l'appareil de projection pour la mise en oeuvre du procédé est représentée schématiquement et à titre d'exemple aux dessins annexés.

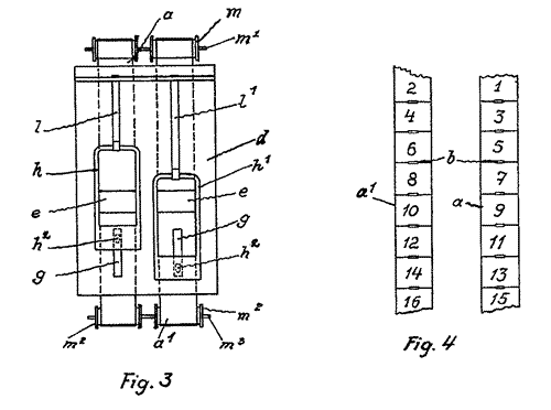
La fig. 1 représente une vue dudit appareil en perspective, la fig. 2 montre, à plus petite échelle, l'ensemble de l'appareil; la fig. 3 représente un détail du mécanisme d'entraînement des pellicules; la fig. 4 montre comment sont distribuées les vues sur les deux pellicules; les fig. 5 et 6 montrent, à plus grande échelle, deux vues d'un autre détail.

Le procédé nécessite deux pellicules a et a' (fig. 4) qui peuvent être faites en un matériel transparent quelconque, tel que papier toile, papier parchemin, celluloïde, ou un autre matériel analogue, et qui présente la résistance convenable. Sur ces deux pellicules a et a' sont disposées, alternativement sur l'une et sur l'autre, les vues successives d'une scène de telle façon qu'une vue, continuation d'une vue antérieure de la même scène, sera différente de cette dernière, de façon que la continuité de la scène s'obtiendra en projetant alternativement une vue de chaque pellicule; par exemple, on projettera la vue 1, ensuite les vues 2, 3, 4, 5, 6, 7, et ainsi de suite. La disposition des vues sur les pellicules sera faite au moyen du dessin direct, de la photographie, de la gravure, de la photogravure ou de n'importe quel procédé graphique, en une ou plusieurs couleurs. Sur chaque pellicule, on a prévu un trou b entre deux vues consécutives, ces trous étant d'un millimètre, environ de largeur et étant placés transversalement mais coupés par leur milieu par la ligne longitudinale médiane de chaque pellicule.

Pour projeter les vues des pellicules, l'appareil comporte un projecteur non représenté, de construction usuelle.

L'appareil comporte encore une chambre de projection c disposée sur un supporte c. Dans la cloison postérieure d de cette chambre, à la moitié de sa hauteur environ (fig. 1 et 3, la fig. 3 montrant la face intérieure de cette cloison d), existent deux petites fenêtres e, l'une à côté de l'autre, ayant à peu près la dimension du carré d'une vue des pellicules. La face extérieure de la cloison d porte des guides f, f1', qui portent, à leurs extrémités supérieures, des ressorts lames f 2 servant à presser les pellicules contre la cloison d au-dessus des fenêtres e. Au-dessous de chaque fenêtre, la cloison d est munie d'une rainure verticale g.

Dans la cloison antérieure i de la chambre c sont pratiqués deux orifices j, servant à laisser passer le cône lumineux d'un projecteur à l'intérieur de ladite chambre. Contre les orifices j glisse un double obturateur k, auquel est imprimé un mouvement de va-et-vient vertical et qui est conformé de manière à obturer alternativement chacun des deux orifices j, par suite dudit mouvement. Dans ce but, l'obturateur k est relié à l'une des extrémités d'une bande k', guidée par un rouleau k2 et dont l'autre extrémité est fixée au coude r' d'un arbre vilebrequin r qui peut tourner dans les parois latérales de la chambre c. Urre manivelle q sert à actionner à la main ledit arbre.

Dans l'intérieur de la chambre c, et glissant contre la paroi postérieure d, sont prévus deux contrepoids h, pourvus de dents obliques h2, qui traversent les rainures g. Chaque contrepoids est suspendu à une bande 1, respectivement l1, la bande 1 étant fixée au coude r' de l'arbre r, tandis que la bande l1 est fixée au coude r2 dudit arbre, les deux coudes étant décalés de 180°.

Deux rouleaux de dévidage m, sur lesquels sont enroulées les pellicules, sont fous sur un arbre commun m' fixé d'une manière non représentée à la partie supérieure de la chambre c. Deux rouleaux de renvidage m2 sont disposés au-dessous du support c' muni d'une fenêtre c2 pour le passage des pellicules. Les rouleaux yra" sont fous sur un arbre m3 fixé au support c'. Des verres objectifs non représentés sont montés en s sur une cloison p, placée dans l'intérieur de la chambre c.

Le fonctionnement de l'appareil décrit est le suivant:
Les deux pellicules étant enroulées librement sur les rouleaux de dévidage m de façon qu'eu tirant l'une de ces pellicules, on puisse la dérouler complètement sans dérouler l'autre pellicule, on fait passer leurs deux bouts par les guides f, f' jusqu'à ce que le commencement de chaque pellicule se trouve en face de chaque petite fenêtre e; puis on assujettit les extrémités aux rouleaux de renvidage m2. Ensuite, après avoir disposé le projecteur en regard de la paroi d de la chambre, on actionne la manivelle q. Le mécanisme se met en mouvement de telle façon que l'un des orifices j est débouché un bref laps de temps, pour dévoiler par exemple la vue 1, tandis que la vue 2 de l'autre pellicule avance et est projetée immédiatement après. Ensuite vient la projection de la vue 3, tandis que la vue 4 avance pour être projetée ensuite, et ainsi successivement. Le mouvement saccadé des pellicules est effectué par les contrepoids h, h' qui sont soulevés et abaissés alternativement par l'action des bandes l, l' et dont les crochets h2 entraînent, lors de chaque abaissement, la pellicule correspondante. La partie inférieure de chaque pellicule s'enroule automatiquement, à chaque pas, sur le rouleau de renvidage m2 correspondant.

Le procédé décrit est applicable surtout pour la projection des dessins dits "animés"; effectivement, si on le compare au procédé cinématographique usuel, on verra qu'il nécessite un nombre bien moindre de dessins et un appareil de projection très simple; si on le compare au système de lanterne avec pellicule de deux moments par scène, on verra qu'il présente l'avantage de la continuité de mouvements et d'actions dont manque ce dernier, car il se limite à projeter alternativement et d'une façon répétée, deux positions depuis leur apparition sur une extrémité de l'écran jusqu'à leur disparition à l'autre extrémité.

L'appareil représenté aux dessins peut constituer un jouet cinérnatographique, remarquable par la simplicité de ses mécanismes, et par la suppression de tout l'outillage des appareils utilisés pour la projection des pellicules habituelles et à long métrage, cet appareil servant particulièrement à projeter des pellicules déterminées, à court métrage, et des dessins animés.

     

DUX KINO MM (1935)


Le Dux Kino allemand a été diffusé en Espagne
: le Dux Kino MM y a été importé dès 1935, les films allemands étant traduits en langue espagnole.

Dux Kino MM
brevet 140215 déposé le 29 octobre 1935 et obtenu le 16 janvier 1936 avec effet au 9 décembre 1935
~1935

Film 35mm à 2 bandes d'images
Bakélite rouge
PR2-DUXE-001
  
cm
9
12,5
7


Dos arrière de l'emballage diffusé en Espagne - MM Côté de l'emballage diffusé en Espagne - MM Fond de l'emballage diffusé en Espagne - MM Ensemble Dux MM diffusé en Espagne vers 1935


Films :
- 1 : El Circo
- 2 : La Varita magica
- 17 : En el Ring
- 19 : La Mina de Oro
- 20 : Corrida de Toros

 
Le brevet 140215 de cet appareil a été déposé par Mario Sassoli le 29 octobre 1935 et obtenu le 16 janvier 1936 avec effet au 9 décembre 1935.

Bulletin officiel de la propriété industrielle, N° 1185 du 16 janvier 1936, page 226.
 

 

 


(extrait du Bulletin Officiel de la Propriété Industrile espagnol n°1559 du 16 mars 1952, p.1557)

Le 22 février 1952 est accordé à César Scarpa Marmolada le brevet 201.991. La demande avait été déposée le 16 févier de la même année. Ce brevet concernait des améliorations apportées aux projecteurs : cette dénomination était courante dans le monde des brevets ù elle indiquait fréquemment un changement de modèle.
Ce brevet aurait passé inaperçu dans mes recherches, cependant quelques jours après le même auteur déposait une demande de modèle d'utilité :


(extrait du Bulletin Officiel de la Propriété Industrile espagnol n°1560 du 1er avril 1952, p.2046. Dans ce même bulletin l'auteur signe également deux autres modèles, pour une cafetière et un filtre pour infuser les plantes)

Ce modèle d'utilité donne la description du modèle pratique d'un petit projecteur. Il avait été déposé par César Scarpa marmolada le 7 mars 1952. Les dessins joints à la demande sont clairs : il s'agit bien d'un projecteur similaire aux Dux !

Enfin le même inventeur obtiendra le 16 mai 1952 le brevet d'une marque 251.002 (j'ignore le nom de marque qui avait été obtenu, et si elle avait rapport avec les projecteurs).
     

CINE EGDA (1936)


L'importation de projecteurs d'autres pays s'est également faite pour le projecteur français Cine Egda. En fait il s'agit d'un appareil du type Egda MM (lui-même inspiré du modèle allemand Dux Kino MM), donc très certainement fabriqué sur la base d'un brevet de Mario Sassoli.
Sur le carter du moteur est indiquée la mention "patentado" qui indiquerait que le modèle était breveté, mais je n'en ai pas trouvé référence dans les brevets espagnols.

Cine Egda

1936 ?
Film 35mm à 2 bandes d'images
Bakélite noire
PR2-EGDE-001
  
cm
9
12,5
7



L'ensemble des images de l'appareil et des films a été aimablement communiqué par Francisco Boisset

Notice - Mode d'emploi
Notice de l'appareil Cine Egda. La langue espagnole témoigne que cet appareil était bien diffusé dans ce pays.
 

Films :
les films sont présentés à plat, et non enroulés comme pour le Dux Kino ou les premiers films du Cine Egda MM français. Ils sont protégés par un étui de carton. Cette présentation et la liste des films proposés indiquent qu'ils datent des années 1960.


Films en noir & blanc :
El gran desfile
Jim, el cowboy
La isla del tresoro
En el polo
Los cosacos
El alegre vagabundo
Galopin, el caballo colosal
Los alegres conejitos
La mina de oro
La corrida de toros
Films en couleurs :
La ratita hacendosa
La caperucita roja
El gato con botas
D. Quijote y los molinos
La cigarra y la hormiga
La zorra y el cuervo
El sodadito de plomo
El flautista de Hammelin
Ali-baba y los cuarenta ladrones
La bella durmiente
El patito feo
Hansel y Gretel
El pequeno cazador
Piel de asno
El negrito zambo
La isla del tresoro
El baron Munchausen
 
     

DISNEY STAR (1947)


le Disney Star
Disney Star Industrias Plásticas Trilla, Ripollet (?), Barcelona Licence Disney. Brevet 177 061 déposé par Miguel Nebel le 19 février 1947 et obtenu le 16 avril 1947
1947-1949
Film à 4 lignes d'images

PR2-STAR-001

Le Disney Star semble être une version espagnole du Minicine anglais, donc certainement basé sur le brevet obtenu en Espagne par Miguel Nebel en 1947 ou plus probablement sur l'amélioration déposée en 1949.
 
L'annonce du brevet 177 061 telle qu'elle a été publiée dans le "Bulletin officiel de la propriété industrielle" espagnol n° 1441 du 16 avril 1947.
Une amélioration sera présentée deux ans plus tard et accordée le 8 juin 1949 sous le numéro 188 088. "Bulletin officiel de la propriété industrielle" espagnol n° 1496 du 1er août 1949.
Brevet 188 088 du 8 juin 1949
 

.

.

.

.

.

.

Le 1er avril 1950, le Bulletin officiel de la Propriété industrielle espagnol publie la demande pour un modèle d'utilité décrivant un mécanisme d'entraînement pour projecteur. Ce système avait déjà été décrit dans le brevet que Miguel Nebel avait déposé en Grande-Bretagne en 1946.

     

CINERAMA (2002) & DISNEY MAGIC ARTIST (2002)


Le Cinerama, un projecteur utilisant le même principe d'image alternée, était toujours en vente fin 2002 pour 24£ dans certains magasins de jouets anglais .
Cinerama Toy Story
Famosa
~2002
Film à 2 bandes d'images
Matière plastique
PR2-FAMO-001
   




On peut également le trouver sur le site de vente directe KidsMall au prix de 119,90 $ singapouriens (environ 60€)


En 2003, une nouvelle version a été publiée dans la collection Disney Magic Artist. Ce modèle s'inspire du dessin animé Monsters. Egalement vu sous les versions Super Proyector Mickey ou Proyector Libro de la Selva ou Proyector Princesas.
Attention : image de grande taille !!

Disney Magic Artist Monsters,Inc.
Famosa (Fabricas Agrupadas de Muñecas de Onil SA), Onil-Alicante, España
© Disney - Pixar
2002
Film à 2 bandes d'images
Matière plastique
PR2-FAMO-002
   


Cet appareil jouet se présente sous la forme d'un ensemble complet et homogène, intégrant dans une valise l'ensemble du matériel nécessaire à projeter des films à images alternées :
- un projecteur à deux ampoules, avec un mécanisme actionné par une manivelle,
- un boîtier pour 4 grosses piles
rondes de 1,5 volts,
- un chassis et 4 films permettant de construire 4 bandes animées,
- un écran de projection,
- une table à dessin, des crayons, des modèles pour réaliser des dessins.
Le tout est contenu dans une valise plastique pouvant être décorée avec les images adhésives jointes.

Le principe du chassis permet de changer les films projetés. Peut-être était-il dans l'idée de Famosa de distribuer des films supplémentaires ? De même il est possible de dessiner ses propres films animés, mais rien n'est prévu dans la boîte pour cela.

L'unique notice jointe à l'appareil présente sous forme graphique les instructions d'utilisation. Cette solution permet la compréhension dans toutes les langues !

Un zoom permet sur l'appareil de régler la taille de l'image projetée.

Films livrés avec l'appareil  
 
     

CINE INFANTIL (1935)

le Cine Infantil est un petit appareil apparu en 1935.
Cine Infantil 1935

Métal


Ce jouet en carton est basé sur un système astucieux : deux images représentant les deux phases d'un mouvement sont découpées en bandes étroites verticales, puis assemblées une bande de la première image, puis une bande de la deuxième, ensuite à nouveau une bande de la première image puis une de la seconde, et ainsi de suite. Cette image composée est ensuite disposée derrière une grille du même pas que les bandes d'images. Ainsi, lorsque l'image est convenablement placée derrière la grille, cette grille ne laisse apparaître que les bandes verticales de la première image, et notre cerveau reconstitue la scène entière. En déplaçant légèrement l'image d'un pas, la grille laisse alors apparaître les bandes de la deuxième image, reconstruite de la même façon par notre vue et notre cerveau. Alors, en poursuivant le mouvement de défilement de l'image derrière la grille, c'est alternativement la première et la seconde image qui sont affichées. Si ces deux images sont bien les deux scènes d'un mouvement, l'illusion de ce mouvement est alors restitué.

Un appareil du même type est apparu simultanément en France sous le nom similaire de Ciné Enfantin.
 
     
Pour des informations sur les autres projecteurs espagnols, rendez-vous sur ma page sur les Projecteurs jouets espagnols. Vous pourrez y découvrir le Cine Isuar, le Cinelin ou les productions CinExin.
 
     

le Cine Infantil Mickey Mouse
Cine Mickey Escobar brevet 133 145 du 9 janvier 1934 demandé par Angel Ruiz, Maria Agusti née Vidal Salleras et Salvador Tusell et obtenu le 16 mars pour application au 31 janvier 1034 ~1934
Film papier à 2 lignes d'images et lignes de sons
Bois



Boîte

Cet appareil a été créé vers 1934 pour Escobar (José Escobar Saliente). Construit en bois et fer blanc, il possédait un soufflet interne lui permettant de jouer des sons en soufflant l'air au travers des perforations du film.
Parmi les personnages des films figurait "Juanito milhombres", né de l'idée de Salvador Mestres et dessiné par Escobar.

 
En France, un brevet annonçant le Ciné Mickey est demandé le 2 janvier 1934 à Paris ; la même demande sera déposée le 9 janvier 1934 à Barcelone (brevet 133195). Les trois auteurs espagnols, Angel Ruiz, Maria Agusti née Vidal Salleras et Salvador Tusell ont obtenu le brevet 787.299 le 1er juillet 1935. Il fait référence au brevet initial espagnol du 9 janvier 1934.
Ce brevet concerne un projecteur jouet, mais sans la partie sonore qui fait la spécificité du Ciné Mickey.
Une des images du brevet permet de bien comprendre le mécanisme du projecteur, appelé "appareil cinématographique jouet".
Le mécanisme d'entraînement comprend à la fois un dispositif excentrique avec un cliquet permettant l'avance du film, un disque obturateur et, le plus visible extérieurement et ce qui le rapproche du Ciné Mickey, une bobine réceptrice placée devant l'appareil et entraînée par une courroie.
 
Le brevet précise bien la forme rectangulaire de la boîte, constituée de deux parties, celle arrière pour le mécanisme et celle avant pour la glissière du film et l'objectif. Il préconise de plus les films sur papier, en préférence au celluloïd. Enfin il propose de juxtaposer sur le film deux séries d'images, à lire alternativement dans chaque sens, ce qui permet après visionnage de ranger le film sans avoir à le rembobiner.
 
En Espagne, les auteurs déposent leur demande de brevet à Barcelone le 9 janvier 1934. Le brevet sera accordé le 16 mars 1934 avec effet au 31 janvier 1934.
Le 16 avril 1934 les mêmes trois auteurs ont fait publier le modèle de pellicule comprenant deux séries d'images indépendantes : c'est bien la pellicule utilisée dans le Cine Mickey. Le 1er décembre 1934 ce modèle sera concédé avec effet au 14 novembre 1934.
La notice précise que l'adresse des 3 auteurs est au 35 Pablo Iglesias à Barcelone.
Le 16 décembre 1934 est publiée la concession d'une licence d'exploitation N° 121 060 attribuée à Angel Ruiz et Salvador Tusell pour l'exploitation du projecteur.
 
 
Salvador Mestres (1910 - Barcelone, 2 mars 1975) est un dessinateur bien connu. Il a participé à de nombreuses revues enfantines espagnoles telles que La Alegria Infantile, Esquitx, Pulgarcito, TBO, Aventuras, Camaradas (dont Guerra en la estratosfera), Pocholo, El Capitan Cobra, Florita, Gong el Emperator Pirata, ...


Angel Ruiz et Salvador Tusell avait déjà travaillé ensemble sur la fabrication d'un projecteur de vues, ils en avaient déposé le brevet à Barcelone le 13 décembre 1930.

Le 16 avril 1934, le Bulletin Officiel espagnol de la Propriété Industrielle publie dans son N°1143 le dépôt de modèle 2462 : les auteurs Angel Ruiz, Maria Vidal Salleras et Salvador Tussel y décrivent des pellicules de film avec deux séries d'image et des perforations centrales assez particulières.
La concession de ce brevet sera publiée le 1er décembre 1934 (Bulletin N°1158)


Le 13 septembre 1956, Gabriel Rovira Ibanez, un inventeur espagnol habitant Barcelone, dépose deux demandes de brevets d'utilité qui seront accordés le 1er novembre 1956 :
- le brevet 56.190 concernant une pellicule à deux rangées d'images indépendantes, donc de modèle semblable à la pellicule Cine Mickey.
- le brevet 56.191 pour un projecteur jouet dont la forme ressemble beaucoup au Cine Mickey (même face avant, mais le dos arrondi).
Les brevets protégeant le Cine Mickey étant périmés, Ces nouvelles demandes étaient recevables. Je ne sais pas si des appareils ont été fabriqués sur la base de ces deux nouveaux brevets accordés le 10 mai 1957..

 

     

le Cine SKOB
Cine Skob Escobar Brevet espagnol 163 801 demandé le 18 novembre 1943 et délivré le 1er mai 1945 avec effet au 22 septembre 1944 1942
Film papier opaque 35 mm
Plastique et bois



créé en 1942, inventé par un dessinateur espagnol, José Escobar Saliente (le nom de l'appareil est issu du début du nom de l'auteur). La projection est obtenue par réflexion de la lumière sur la pellicule dessinées en trois couleurs. Les films les plus connus étaient "Carpanta" et "Zipi y Zape". Par la suite une version améliorée vit le jour,...

 
Première version du Cine Skob sortie en 1942. Cet appareil est de couleur grise.
 
Autre version (peut-être une deuxième version ?), de couleur verte.
 
Le brevet 163 801 a été demandé par José Escobar, habitant Plaza de San Junto à Barcelone. Sa profession indiquée est artiste dessinateur de l'art cinématographique.
 

Sur ces appareils on notera une particularité amusante : l'obturateur de projection est externe, le disque est placé devant l'objectif...
Notice film Skob Notice film Skob Notice film Skob Notice film Skob Notice film Skob Notice film Skob Notice film Skob Notice film Skob
Notice du film Skob "La Cigarra y la Hormiga".



Aimablement transmis par Rafael Calle

 
Comme semble le démontrer ce carnet de tickets, des projections publiques de films Skob ont du exister.


Le Cine-Stuk est une évolution du Cinéma Skob construite en 1952 et appartient au même fabricant. Il est fait en matière plastique (de qualité moyenne) et projette des films transparents en papier de calque de 3,5 cm de largeur avec perforation centrale toutes les 3 images (le système est identique à celui du film de 9,5 millimètres de Pathé !). Il y a une histoire dans chaque sens du film. Contrairement au Skob, la projection du Stuk est plus classique et se réalise par passage de la lumière au travers de la pellicule transparente.

Les 2 Skob et le Stuk Boîte
Images aimablement communiquées par Francisco Boisset (Espagne)

Deux versions de cet appareil ont existé : le modèle vert le plus courant et un modèle rouge.
 

 

José Escobar Saliente (Barcelone 22 octobre 1908, 31 mars 1994) est un des plus célèbres et des plus créatifs dessinateurs espagnols. Prolifique (il a commencé à dessiner dès l'âge de quinze ans mais se consacrera essentiellement au dessin qu'à partir de 1939, après un épisode douloureux dans les prisons espagnoles), il a participé à de nombreuses revues dessinées espagnoles pour enfants : Pocholo, El Campeon, TBO,.... Ses personnages les plus célèbres sont Carpenta et le duo Zipi & Zape. auto portrait (@ C.Mettavant 2005)

Zipi y Zape ont été imaginés par Escobar sur la base des "Max und Moritz" allemands (créés en 1897 par Wilhelm Busch ils ont été notamment utilisés comme personnages des films pour projecteurs allemands Dux). Zipi, le blond, et Zape, le brun, sont deux charmants enfants, attentifs, amusants et optimistes, qui resistent au mensonge des autres. Nés en 1948, leur graphisme a évolué. Leur humour universel leur a permis de vivre longtemps et de s'exporter au delà de leur pays natal.

José Escobar utilisera son acronyme Skob pour un autre jeu : un billard, produit au cours des années 1940. On connait égaleent un mini bowling de la même marque.


Les histoires racontées dans le films destinés au Cine Skob étaient également édités en livres.
Livre Skob Livre Skob

 

le Cine Micro est un petit projecteur apparu vers 1950. Il fut inventé par Salvador Mestres.
Cine Micro Salvador Mestres Brevet 191.911 du 23 juin 1950 ~1950
Film en boucle noir & blanc de 16 mm
Métal

Les films étaient dessinés par Salvador Mestres lui-même et par son homologue dessinateur catalan Alfons Figueras.
Le 16 octobre 1950 est publié l'accord du brevet demandé par Carlos Poch Xarrie.
Ce brevet décrit l'appareil de projection complet et notamment le mécanisme d'avancement du film.
Peu de temps avant, le 1er août 1950, c'est le nom de marque "LUX" qui était accordé avec effet au 30 juin 1950.




Cet appareil Cine Micro fut suivi par le Cine Lux en 1955.
Cinema Lux Salvador Mestres
Novedades Poch, Barcelone ~1955
Film 35mm à 2 x 2 lignes d'images
Métal

.

     
     
mise à jour le dimanche 2 mai, 2010 /// http://project.mettavant.fr

.

.

Selic, Jecktor, Minicine, toy, projector, viewer, Dux, Nic, vintage, projecteur, projektor, proiettore, proyector