Projecteurs
pour images fixes (en bande strip)
|
|
|
Give.a.Show
Kenner (The Kenner Products, Cincinnati, Ohio. 45202
of the fun Group at General Mills)
Brevet 3,100,420 du 13 août 1963 applicable au 3 avril
1961
1959, 1960 (1960 #501 Popeye; 1961 #801 & 1962
Woody Woodpecker; 1961 & 1962 #502 Yogi Bear,
Hanna Barbera Cartoons; 1962 #503 Popeye 2d edition;
1962 #601 Kenner's Adventure Time dinosaures; 1963
#504 The Flintstones; 1963 #802 Deluxe Kaleidoscope;
194 Popeye Newest Edition; 1965 #506 Yogi Bear; 1966
#507 Popeye; 1967 Franky Jr; 1967 New TV Favorites;
1968 #509 Superman; 1969 Gulliver; 1970 Apollo11; 1973
513 Bugs Bunny; 1971 >> 1974 #514 Scooby doo;
1972 Valley of the Dinosaurs ; 1974 Fat Albert; #517
Star Trek; Wheelie and the Chopper Bunch)
bandes d'images. Des lots de bandes étaient vendus
séparément (Woody Woodpecker, Yogi the Bear, Roy
Roger,...). (Ref 1,
2,)
|
|
La
licence de cet appareil sera exportée dans de nombreux
pays :
- Royaume Uni: Give.a.Show
de Chad Valley
- France : Minema
de Meccano-Triang
- Italie : Festacolor
de Harbert
- Allemagne : Kinder
Kino de Meccano-Triang
- Australie : Give.a.Show
de Toltoys
Disque 45 tours destiné à être écouté pendant la
projection des images.
|
| |
 |
 |
 |
 |
 |
 |
 |
 |
 |
 |
 |
 |
 |
 |
 |
 |
 |
 |
 |
 |
 |
 |
 |
 |
|
|
|
 |
Give.a.Show
1973... (1973, 1974 & 1977 Six Million Dollars
Man; 1977 & 1979 #35180 Star Wars; 1980 Empire
Strikes Back; 1981 Strawberry Shortcake and Friends;
1981 Wicket the Ewok; 1982 #36350 Scooby Doo; 1983
Super Powers; 1984 Return of the Jedi; 1985 Ewoks )
(cf: France, Minema)
|
 |
 |
 |
 |
 |
 |
 |
|
|
|
 |
Ugly Mugly Projector
Remco
1968
10 bandes de 7 images
|
 |
|
|
|
Show at Home
Lincoln
196x
Bandes de 7 images
En plastique, fonctionne sur piles.
|
|
Exemples
de strip : The Horse Show, Gus and
Jac, Police Patrol, Figaro, Monty and Morty, Peter Pan
and Tinkerbell, Space Patrol, Grand Prix Series, The
False Alarm, The First Manned Flight to the Moon
|
| |
Donald Duck Projector
|
|
|
 |
Magna-Slide
1961
|
 |
 |
| |
 |
 |
16
bandes dont:
- Donald Pulls the Hat trick on His Nephews
- Snow White Poisen to Poisen
- Lady & the Tramp
- Lady Has A Bone to Pick |
|
|
Stellar (59767)
197x
Thèmes (fabrication à Hong-Kong) :
Jack & Jill, Hey Diddle Diddle, Sleeping Beauty,
Goldilocks, Little Boy Blue,...
|
|
|
 |
Mighty Morphin Power
Rangers
1993
10 bandes de 7 images
|
 |
|
 |
Lionel Automatic
Movie-Jector
The Lionel Toy Company, Hillside, NJ
1964 (Lionel Snow White & the 7 Dwarfs Projector)
|
 |
Films
livrés avec l'appareil: The Kingdom without a Cat
46551-101; The Sea Battle of Jutland-World War One
46550-201; The strange Storie of Rip Van Wrinkle
46553-101; The Pekinese and the Prince 46551-103; The
first Balloon 46555-102; The Sultan of Swat:Babe Ruth
46552-101; The Manassa Mauler:Jack Dempsey 46552-201;
The Brown Bomber:Joe Louis 46552-202; The Battle of
Verdun-World War One 46556-201; The Galant Tailor or
Killed seven at One Blow 46553-201; The Pied Piper of
Hamelyn Town 46553-202; The Spirit of Saint Louis: The
Lindbergh Flight 46555-201; The Race between the Hare
and the WeaselL 46551-202; Snow White and the seven
Darfs 46553-106; The Shelling of Port Sumter...The
Beginning of the Civil War 46550-102
|
 |
The Bionic Woman
Kenner Products, Cinn. Oh. 45202-NO.36400
General Mills Fun Group.
1976
|
|
|
 |
ACME Plastic Toys Inc.
|
 |
Films
: Lone Ranger 4,
11&12; Dick Tracy 1, 3 & 4; Superman 2, 3, 4, 9
& 12; Orphan Annie
1 & 2; Sweeney & Son 1; Tiny Tim; Little Joe; Gasoline
Alley. |
 |
Super Show
Bandwagon Inc.
1972
|
 |
|
|
|
Radio Junior
1 : Keystone MFG.CO à
Boston
2 : H.O. White Co., North Bennington, Vermont
192x ?
Fonctionne avec deux lampes. Projecteur de cartes
postales.
|
|
|
 |
Radioptican (#
401)
Keyston MFG.CO, Boston
Mass USA.
|
 |
 |
 |
Pictograph
(#441)
Keystone Camera Co., Inc., Hallet Square, Boston 24,
Mass.
194x ?
|
|
|
 |
Baldwin
Post Card Projector.
|
|
|
 |
Mirrorscope
MIRRORSCOPE Clevland
U.S.A. Sixth City Trademark Reg. U.S. Patent Office.
|
 |
|
 |
Fotoscope
Stratton Manufacturing
Company New York City
|
|
|
| |
|
|
|
 |
Little Giant
Cummings, A.B., Attleboro, Mass., USA.
1915 ?
35mm
|
|
|
 |
Memoscope
Agfa Ansco, Binghamton, New York
1927
35mm (demi-images)
|
|
|
|
|
Magna-Vue
Magna-vue projector
New-York.
Métallique
|
|
|
| |
 |
 |
|
 |
Hollywood Magic Lantern (model
A)
Carleton Mfg. Co. 6162-6170 Sepulveda Boulevard, Van
Nuys, California
194x
|
 |
 |
| |
|
 |
 |
 |
Junior's Television
Junior's Television Co. Inc, 2 Park Ave, New York, NY.
~1939
|
 |
|
 |
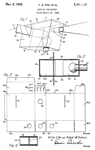
Comicscope
Remington Morse, New-York Chicago / Division of
Hamilton Ross Industries New York Chicago
1943
Brevet 2,301,114 du
3 novembre 1942
En carton. Il permettait de projeter les bandes de
Comis Strip parues dans les journaux.
|
Image |
 |
| |
|
 |
 |
 |
|
 |
 |
 |
Crown Projector Set
Fillum Fun Inc., New York, USA
1933
16mm
|
 |
|
 |
Excel Widget
Excel Projector Corp,
Chicago ILL.
16mm.
|
 |
 |
 |
Visualette Demonstrator Visual
Demonstration System, 259 Delaware Avenue, Buffalo,
N.Y.
|
 |
 |
 |
Jam
Dandy
News Paper film corp
|
 |
|
 |
Moviegraph (modèle 198)
Keystone, à Boston.
|
 |
|
 |
Irwin Projector
1936
Projecteur de petite taille (13 cm de long),
métallique. Betty Boop sur l'emballage.
|
 |
 |
 |
Films
: Flirt
 |
 |
 |
 |
Keystone Flashlight Movie
Machine
Keystone
1922
35mm
|
 |
 |
| |
 |
|
|
 |
Film Projector
Pordell Projector Inc., New York
1927
35mm
|
|
|
 |
Vuaid Ann Harbor Michigan.
|
|
|
 |
Aljac
|
|
|
 |
Model AK
SVE, Society for Visual Education, Chigado, Il USA.
1939
|
|
|
|
|
Model K
SVA - Society For Visual
Education, Inc., Detroit.
|
|
|
|
|
300 Instructor
Chicago
|
|
|
 |
FA3-S
Beseler
|
 |
Filmstrip Projector Model
K100
Advance Schools Inc.
1972
|
 |
Viewlex
Viewlex INC., 35-01 Queens Blvd, L.I.C.1, N.Y.
35mm
|
 |
 |
 |
CR-500
Concepts Corp.
|
|
|
 |
Model 1000-C Standard
Projector
Standard Projector Equipment Co. Chicago, USA.
|
|
|
 |
Dukane 300
Dukane
|
|
|
 |
Bell & Howell
|
|
|
 |
Modèle 28a33
Dukane.
|
 |
|
 |
Projecto Master
Bell California
194x
16mm
|
 |
|
 |
K100 Prima
Hudson Photographic Industries, Inc. , New York
Brevet 3,520,599 du 14 juillet 1970
|
 |
|
 |
View-Master Standard
Sawyer's Inc., Portland, ORE.
TM REG. U.S. PAT. OFF.
MARCA REG.
PATENTS: US 2,625,078
BELGIUM - 517,859
US 2,511,334 / 2,916,964
USD 184,949
MARQUE DEPOSEE
195x
115V AC-DC 30 WATT BVR
|
 |
|
 |
View-Master, modèle 2421
Sawyer's.
|
|
|
|
|
Junior Projector
View-Master
195x
(Ref 1,
2,
)
|
|
|
 |
S-1
View-Master
1947
Il coutait 47,50$. (Ref 1, 2,
3,
).
Métallique
|
|
|
 |
Walt Disney Cartoon Theatre
Sawyers Inc. Portland, Oregon and Chicago, Illinois
View Master
1959
Disques à 14 images (non stéréoscopiques)
|
 |
 |
| |
|
|
Disques:
sleeping beauty- 101 dalmations- goofy the traveling
cameraman- pinocchio & snow white-pluto the circus
dog- bambi-mickey mouse the toy shop- mickey mouse the
brave little tailor- donald duck donald gold mine
|
 |
Walt Disney Cartoon Theatre
Sawyer's Inc. Portland,
Oregon.
View Master
Avec View-Master standard.
|
 |
 |
 |
Woody Woodpecker Slide
Projector
1974
|
 |
|
 |
Flashbrite Generator
Projector
Janex Corp, NJ.
1975 & 1976
Il pouvait utiliser les disques mono ViewMaster ou
Flashbrite (Janex) à 14 images.
Il comprenait une générateur électrique actionné par
la manivelle. Made in Hong-Kong
|
 |
 |
 |
Teddy Ruxpin Picture
Show
W.O.W. World's of Wonder toy
Teddy Ruxpin
Copyright 1985 & 1989
1989
Disque "viewmaster"
Plastique
|
 |
|
 |
Televue (#2005)
National Plastic Corp. New York.
A Max Fleischer Creation.
Copyright 1939 (brevet original 2,540,872 applicable
au 21 juillet 1948)
1939
Plastique. 117 volts, 7 Watts
Plus de 30 disques différents, 20 images chacun.
|
 |
Films
: 1 Cinderella ;
2 Snow White ;
6 Little Red Riding Hood ;
8 Jack and Jill ;
17 Rudolph, the Red Nosed Reindeer
[2];
19 Three Bears; 20 Old Woman in the Shoe; 21 Humpty
Dumpty, cat and the Fiddle, Crooked Man; 22
Pinocchio ;
23 Three Little Kittens ;
24 Old McDonald Had a Farm ;
25 Old Mother Hubbard ;
26 Sinbad the Sailor ;
32 Ugly Duckling ;
Jack and Jill; Lion and the Mouse; Jingle Bells;
Robinson Crusoe; ko ko the baby sitter; Hare & The
Tortoise; Puss in boots
|
A Max
Fleischer Creation
115volts 7 watts
No 303 Televue Film Projector
National Plastic Corp, New York 18, NY |
 |
 |
 |
| |
 |
 |
 |
 |
Cardcaptors
Comporte un disque de 12 images extraites de la série
du même nom (histoire de deux écolières de 10 ans)
|
 |
|
 |
Princess Movie Theater
Permet de projeter une des 8 images de chaque disque.
Existe en version Animal
Friends.
|
Films
classiques de Disney: Cinderella, Beauty and the
Beast, The Little Mermaid, Sleeping Beauty, Snow White
|
 |
 |
|
Films
de Walt Disney : The Lion King, 101
Dalmations, Lady and The Tramp, The Jungle Book, and
Bambi
|
|
 |
The Thing
(Fantastic Four)
Toy Biz
Marvel Comics. Héros de la télévivion.
1995
Jouet projetant les images contenues dans 3 disques
|
|
|
 |
Dream
Lite
Dream-Lite Company, 55
Catherine Street, Dayton 2, Ohio (Dream Lite Co., PO
Box 56, Mendino, Ohio)
Wyandotte Toys, All Metal
Products Co.
195x
|
 |
Films
:
- Cowboys & Indians
- Alice in Wonderland
- The Wizard of Oz
- Mother Goose |
 |
Disney Babies Toy Carousel
Projector
Jouet projetant des images sur le plafond
|
 |
|
| |
Mickey Mouse Safe Toy Cinema
Ensign Mickey Mouse Safe Toy Films
by arrangement with Walt Disney Mickey Mouse Ltd.
~1933
|
 |
|
 |
Previewer Jr. No. 1
Viewlex, inc. Holbrook, N. Y. 11741.
|
 |
|
 |
Jecta-Scope Model No. 60
Federal Stamping and
Engineering Corp, Brooklyn NY.
|
 |
|
 |
Jecta-Scope Model No. 70
Federal Stamping and
Engineering Corp. in Brooklyn, NY.
194x
|
 |
|
 |
Drawing Projector
Shiley Barber's Fairies
|
|
|
| |
|
|
 |
Projecteurs
pour films (en cassettes)
|
|
|
Kenner Easy Show
Ideal Toy Corporation
Kenner
brevet 3,399,944 du 3 septembre 1968 (voir le brevet
anglais 1,100,488 du 3 janvier 1966 ou le brevet
allemand 1 285 299 du 12 décembre 1968)
1965 (1965 #771 Popeye; 1965 Lassie; 1966 #772 Secret
Squirrel; 1966 Superman; #774 Captain America; 1968
Moby Dick; 1970 #776 Bugs Bunny; 1970 Superman; 1970
Globetrotters)
films 8mm en boucle.
|
|
|
 |
 |
|
|
 |
 |
 |
 |
 |
|
 |
 |
| |
 |
|
|
 |
Kenner Motorized Movie
Projector Easy Show
Kenner
1969
films 8mm en boucle.
|
 |
 |
| |
|
 |
|
 |
Cassette Movie Projector
Kenner
1974
|
|
 |
 |
Full O' Fun
(# 6545-8)
Ideal Toy Corp., 1979, Hollis, New York 11423
Cassette de 100 images
|
|
|
 |
Project-or-View
Topic Toys, 420 North Orlenes, Chicago 10, Ill.
196x

Visioneuse à main pouvant se transformer en projecteur
en lui ajoutant une torche lumineuse.
|
 |
|
 |
Moving Picture Projector
(All Year Outdoor System)
Irwin Toy ?
Mr Christmas
2001
film de 45 secondes
Il a existé en plusieurs versions (Noël, anniversaire)
|
 |
 |
| |
|
Films
1: Happy New Year; Valentines Day;
Patriotic; Happy Easter; Happy Halloween; Thanksgiving
Harvest; Seasons Greetings; Merry Christmas; Happy
Birthday; The Party's Here
|
Films
2: (1) Happy New Year (2) Happy Valentine’s
Day (3) Happy St. Patrick’s Day (4) Happy Easter (5)
Happy Mother’s Day (6) Happy Father’s Day (7)
Congratulations!! (8) The Party’s Here (9) 4th of July
(10) Happy Anniversary (11) Happy Birthday (12)
Welcome (13) Happy Halloween (14) Trick or Treat (15)
Happy Thanksgiving (16) Happy Hannukah (17) Happy
Holidays (18) Merry Christmas (19) a image of snow
flakes and camels in the background (20) Season’s
Greetings
|
 |
Holiday Projector
Mr Christmas
Les films durent 45 secondes.
|
 |
|
| |
Cassette Movie Viewer
|
|
|
 |
Donald Duck Projector
Hong-Kong ("British Crown Colony")
Transogram Co., Inc., 200 Fifth Ave., New York, N.Y.
10010
196x
|
 |
Films:
2506 Donald Duck; 2507 Snow White; 101 Dalmatians;
Goofy; Pluto; Peter Pan; Lady & the Tramp; Dumbo;
Cinderella
|
| |
|
 |
 |
  |
Mickey Mouse Club Projector
Stephens Products CO., Middletown, Conn.
La bobine est factice, un film tourne en boucle
continue à l'intérieur.
|
 |
 |
 |
Donald Duck Projector
(modèle n°499)
Stephens Products Inc., Middletown, USA.
1946
16 mm.
|
 |
Films
: Pluto in Trouble, PeterPan and the Pirates, Donald
Duck in Early One Morning, Chip and Dale in Rolling
Snwoballs, Zorro.
|
| |
|
 |
|
 |
WW Movie Projector
Worchesterware, Worchester, Mass.
1952
film 16 mm en boucle (similaire à celui de Stephens)
vec télécommande filaire
|
 |
 |
|
|
Redskin
Excel Projector Corp., Chicago
1929
|
|
|
 |
The Hollywood
Montgomery Ward Hox
192x
|
 |
 |
 |
Jolly Theatre
Toy Movie Projector & Theatre
Excel Movie Products, Inc. Chicago
1947
16mm
|
 |
 |
 |
Mickey Mouse Movie
Projector (Model E-18)
Keystone, Boston
(voir le brevet français 805.090 demandé le 31 mars
1936 par Irwin Emanuel Cohn et Wilfried Elliot Tait -
le brevet anglais 456,292 demandé le 4 septembre 1935)
193x
16mm
|
 |
 |
| |
|
|
Films : Oh
Suzannah |
 |
Mickey Mouse Club Newsreel
Mattel
1955/1956
|
 |
 |
 |
|
Films
: Justice Rides the Range, Captain Meteor, Pluto, Hopalong
Cassidy, Touchdown Mickey, Dance of The Leopard
Boys, Mickey The Mail Pilot, Peculiar Penguins, The
Tortoise and The Hare, The Brave Little Tailor
|
 |
 |
Trojan 2 in 1 Movie
Trojan Sporting Goods Co.
16mm
|
|
|
| |
|
|
 |
Projecteurs
avec sonorisation
|
 |
Talking
Show Projector
Kenner (General Mills)
1971 (1971 #2301)
Disques 45t. 2 histoires différentes par face. Bandes
à 7 images.
|
 |
Films
: Popeye "Insect to Injury", Porky Pig
"Mouse Menace", Yosemite Sam "Rail-Ridin' Robber",
Daffy Duck "Cold Duck", Sabrina "History Headache",
Tweety & Sylvester "Tweety Bird", Bugs Bunny
"Bucaneer Bugs", Archie "Opening Night for the
Archies", Harlem Globetrotters "The Great Geese
Goof-Up", Penelope Pitstop "London Town Treachery",
Gooney Bird "Stump the Pirates", Wacky Races "The
Dopey Dakota Derby"
|
| |
|
 |
|
 |
Real Sound Movie Projector
(#1271, version sonorisée du Kenner Show)
Kenner Products Co., Cincinnati, Ohio
1968
|
 |
 |
| |
|
 |
 |
 |
Talking View-Master Projector
GAF
1974
|
 |
 |
 |
Play-N-Show
Hanna-Barbera
Kenner's
1969
|
 |
- Beauty and
the Beast avec the Flintstones
- Goldilocks and the three bears avec Yogi Bear
- Mr Magoo in King Arthur
- Mr Magoo in Paul Revere's Ride |
| |
 |
 |
 |
 |
Picturephone
O.J. McClure Talking Pictures, Wilmette, Ill .
Destiné aux professionnels, il utilisait des disques
33, 45 et 78t. Projecteur : SVE Picturol Projector,
Model Q 120 volts 100W (Society for Visual Education
Inc., Chicago)
|
 |
|
 |
Explainette
Operadio Manufacturing
Company
The Jim Handy Organization
|
 |
|
 |
The Jam Handy Organization, Chicago Dayton Detroit
Hollywood Pittsburgh New-York Washington
1950
Disque 33 à 78t.
|
 |
|
 |
Illustravox
Society for Visual
Education Inc. Chicago
Electro Engineering & Mfg Co
The Magnavox Company Fort Wayne, Ind
Magnavox, Detroit Mich
113 volts, 170 Watts
|
|
|
 |
Dukane.
Il projette des bandes de films sonorisées par des
disques 33t.
|
 |
|
 |
|
|
|
 |
Dukane
Il lisait des disques 33 et 45t synchronisés par des
bips sonores avec plus de 100 bandes de films
différentes.
|
|
|
 |
Show-N-Tell
General Electric
1964
Il permettait de regarder des images en écoutant le
son (disques 16, 33, 45, 78t).
|
 |
 |
| Modèles :
A660 rouge |
![Historical info: A hybrid medium aimed at children was the GE Show 'N Tell, a device for simultaneously playing a phonograph record and displaying a synchronized filmstrip. The record was the size of a 45, but played at 33 1/3 rpm. The filmstrip, with about 12 frames on what appeared to be 8mm film, was housed in a rigid cardboard or plastic strip, with a tab at the top for easy removal from the player. The display resembled a television screen, but was actually nothing more than a magnifier for a given frame of the filmstrip. The phonograph was on the top of the "TV" set. It could also be used to play 45-sized records (at either 33 1/3 or 45rpm) without viewing a filmstrip. Each topic consisted of a folder containing a filmstrip and accompanying record. The "A" side of the record was to be played synchronized with the filmstrip. The "B" side was related audio (such as a song) on the same topic, but was not intended to be played with the filmstrip. A "light-saver" switch allowed the video display (i.e. the lightbulb) to be turned off while playing the "B" side, or any record not designed for filmstrip synchronization. To play a record with filmstrip, one started by turning on the set, setting the turntable speed switch to "N", and rotating the turntable by hand until an indicator line appeared in a small window next to the turntable. Otherwise synchronization could be off. One then set the record "A" side up on the turntable, and set the tone arm by hand at the beginning of the record. The slot for the filmstrip was in the top of the set, to the right of the turntable. One had to move the tone arm to gain access to the slot, one reason why you had to set the tone arm on the record before inserting the filmstrip. One slid the filmstrip into the slot as far as it would go, limited by the large tab at the top of the filmstrip; then adjusted so that the first frame of the film was properly centered on the screen. A lever in the side of the set adjusted the focus. Moving the turntable speed switch to "33" started the record. Synchronization of the film to the audio was then automatic. Well over 100 filmstrip/record sets were available for the GE Show 'N Tell. Categories included Disney characters, Fairy Tales, Children's Classics (Heidi, Robinson Crusoe, Treasure Island, etc.), Christmas, Fun with Facts (Dinosaurs, Indians, Wright Bros., etc.), and Captain Kangaroo. Some titles that surprised me were "Hans Brinker and [sic] the Silver Skates" (properly "Hans Brinker, or, the Silver Skates"), "Huckleberry Finn," and, most surprising of all, "Jane Eyre." Needless to say, longer and more complex stories such as "Jane Eyre" suffered even greater oversimplification than "Children's Classics" such as "Treasure Island."](Images/selic/showntell5i.jpg) |
 |
 |
|
Exemples de
séries produites par Pickwick
International. Chacun des programmes contient 1
film et 1 disque 7 pouces datant de 1964
ST101 : The Wizard of Oz
ST102 : Gingerbread Man
ST103: Cinderella
ST104 : Peter Pan
ST105 : Sleeping Beauty
ST106 : Alice in Wonderland
ST107 : The Emperor's New Clothes
ST108 : Heidi
ST109 : Black Beauty
ST111 : Gulliver's Travels
ST112 : Paul Bunyan
ST113 : Pinocchio
ST114 : Robin Hood
ST115 : Treasure Island
ST116 : The Tin Soldier
ST120 : Red Riding Hood
ST121 : Jane Eyre
ST122: Hiawatha
ST123 : Hans Brinker & the Silver Skates
ST124 : Count of Monte Cristo
ST125 : Ali Baba and the 40 Thieves
ST126 : Moby Dick
ST127 : The Three Musketeers
ST128 : Last of the Mohicans
ST129 : Robinson Crusoe
ST130 : Huckleberry Finn
|
ST131 :
Davy Crockett
ST132 : Daniel Boone
ST133 : Custer's Last Stand
ST134 : Jim Bowie
ST135 : John Paul Jones
ST136 : Hansel & Gretel
ST137 : Jack and the Beanstalk
ST138 : The Princess and the Pea
ST139 : The Three Bears
ST140 : Rumpelstiltskin
ST145 : Fall of the House of Usher
ST152 : Phaeton and the Horses of the Sun
ST165 : Winston Churchill
ST166 : Puss in Boots
ST168 : Tom Thumb
ST171 : Marco Polo
ST173 : Magellan
ST177 : Spanish/Numbers
ST178 : Spanish Days of the week
ST180 : Spanish the weather and its colors
ST186: Frankenstein
ST187 : Tarzan and the Apes
ST188 : Man in the Iron Mask
ST189 : Kim
ST190 : Lost Worlds
ST191 : The Enchanted Christmas Tree
ST192 : Jingle Bells
ST193 : The Nativity
ST194 : A Christmas Caro
ST195 : Twas the Night Before Christmas
ST196 : The Fourth Wise Way
ST197 : The Christmas Chimes
ST198 : The Toy's Own Christmas Party
ST206 : Peter Rabbit
ST207 : The Emperor's New Clothes
ST208 : The Pied Piper
ST209 : Beauty and the Beast
|
ST604 : The
Elephant and His Nose
ST605 : Do Dolphins Talk
ST606 : Abe Lincoln in New Salem
ST607 : George Washington's Surprise Attack
ST608 : Indian Pow Wow
ST609 : The Wright Brothers Flying Machine
ST610 : Clipper Ships : Greyhounds of the Sea
ST611 : Would You Eat Flowers
ST612 : When Giants Walked the Earth
ST613 : Sounds from the Stars
ST614 : The Monarch Butterfly
ST615 : Where Does Rain Come From
ST616 : What Makes Music: the Violin family
ST617 : Talking in Threes
ST618 : Lets Paint Pictures
ST619 : Story of Clocks
ST620 : Which Way is North
ST621 : How Did the Sun Begin
ST622 : A Trip Around the Sun
ST623 : The Sun's Family
ST624 : What Keeps the Earth in Orbit
ST625 : How do we know the Earth is round
ST633 : Calling the Shot (Babe Ruth) (1964)
ST636 : The Ice Age
ST639 : Animal Fossils
ST642 : Hogs : They Live to Eat
ST649 : Dinosaurs
|
E762 : Tell Winkie Bear and His Red Boots (1968)
53701 : DC Super Heroes : Superman in The Flying
Firefighter
53703 : DC Super Heroes : Batman in the Joker's
Traffic Jam (1983)
53704 : DC Super Heroes: The Justice League in
Cleaning up Pollution (1983)
Child Guidance PictureSound (avec disque 45t)
- Captain Kangaroo (1972)
- Cinderella (1978)
- Marie Poppins (1978)
- Three Little Pigs (1978)
- The Little Engine that Could (1980)
- Fraggle Rock : Gobo and the Gorgs (1985)
- Inspector Gadget : There's Something in the Air
CK101 : Captain Kangaroo Musical Band
CK102 : What Time is It ?
CK103 : Let's Go Traveling
CK104 : People Ane Like
CK105 : Captain Kangaroo Taking a Look at Yourself
CK106 : Where Do You Live ?
CK107 : When you Were a Baby
- CK-108 : Captain Kangaroo What Do You Say
|
Matériel :
RS4187 : Stylo
RS6725 : Lampe de projection
RT9530 : Stand Carousel
|
Walt Disney
Programs
WD101 :Three Little Pigs
WD102 : Pinocchio
WD103 : Cinderella
WD104 : Peter Pan
WD105 : Snow White
WD106 : Alice in Wonderland
WD107 : Cap Kangaroo : Lady and the Tramp
WD108 : 101 Dalmations
WD109 : Mickey Mouse
WD110 : Bambi
WD111 : Dumbo
WD112 : Sleeping Beauty
WD113 : Donald Duck
WD114 : Mary Poppins
WD115 : Winnie the Pooh
WD116 : Jungle Book
WD117 : The Aristocats
WD118 : The Swan in the State
WD119 : Disney's Swiss Family Robinson
WD120 : Pluto
WD121 : Disney's Small World
WD122 : Minnie Mouse's Surprise
WD123 : Goofy
WD124 : Walt Disney World
|
Canon
Bible Program
CREATION
God Creates Land, Water and Plants
God Creates Living Creatures
CBP134 : God Made the First Family
PATRIARCHS
Noah Builds an Ark
CBP115 : Abraham Lets Lot Choose First
CBP137 : Rebekah is a Willing Helper
LIFE OF JOSEPH
CBP116 : Joseph has Strange Dreams
CBP117 : Joseph is sold by His Brothers
CBP118 : Joseph is Kind to His Brothers
LIFE OF MOSES
Baby Moses is Kept Safe
God Sends Plagues to Egypt
Israel Crosses the Red Sea
CBP121 : God Gives the Law to Moses
The People Build a Tabernacle
CONQUEST OF CANAAN
The Walles of Jericho Fall
LIFE OF SAMUEL
CBP123 : God Gives Hannah a Son
CBP124 : Samuel Lives in God's House
LIFE OF DAVID
CBP125 : David is a Shepherd Boy
David Meets Goliath
David is Chosen to be King
CBP128 : David Spares Saul's Life
KINGS OF ISRAEL AND JUDAH
King Joash Repairs God's House
PROPHETS
CBP129 : Elijah Meets Baal's Priests
CBP130 : Elisha Helps a Poor Widow
Naaman's Leprosy is Healed
|
EXILE AND RETURN OF JUDAH
CBP136 : Ezra Teaches God's Word
Daniel in the Lions' Den
LIFE OF JESUS
CBP101 : Jesus is Born
The Wise Men Follow the Star
Boy Jesus Visits the Temple
Jesus Chooses Helpers
CBP103 : Jesus Stills a Storm
Zacchaeus Meets Jesus
CBP105 : Jesus Feeds 5,000 People
CBP146 : The Prodigal Son Returns
CBP147 : The Unforgiving Servant
CBP-106 : Peter Walks on the Sea
The Lost Lam
CBP107 : Friends Brind a Sick Man to Jesus
CBP108 : Jesus Visits Mary and Martha
Jesus Raises Lazarus to Life
CBP111 : A Samaritan Helps a Traveler
CBP145 : Jesus Teaches a Samaritan Woman
A Leprous Man Thanks Jesus
Jesus Heals Jairus' Daugher
CBP140 : The Pharisee and the Publican Pray
Jesus Blesses the Children
Jesus Triumphantly enters Jerusalem
the Last supper
CBP141 : Jesus Goes to Calvary
Jesus is Alive Again
Jesus Ascends to Heaven
LIFE OF PAUL
CBP112 : Saul Sees a Great Light
CBP113 : Paul and Silas Sing in Jail
CBP150 : Paul is Shipwrecked
THE EARLY CHURCH
Peter and John Heal the Lame Man
CBP149 : Peter is Delivered from Prison
Peter Meets Cornelius
CBP114 : Dorcas Helps Others
Timothy Learns to Serve God
|
 |
PhonoViewer
Penncrest
~1965
Peut lire tous les films conçus pour le Show-N-Tell
|
|
|
 |
modèle 28A46A
Dukane Audio Visual Division - St. Charles, Illinois.
Permettait de visionner des bandes en écoutant une
cassette audio.
|
|
|
| |
|
|
 |
Projecteurs
à main, style lampe-torche ou pistolet
|
 |
Super Show
Tyco
Viewmaster
1995, 1996
|
 |
 |
| |
(1995) |
Films
(set de 3 disques) :
- Disney's Beauty & The Beast
- Disney's Pooh's High Flying Adventure
- Disney's Toy Story
- Disney's Toy Story 2
- Disney's Pocahontas
- Disney's Tarzan
|
- Disney's
101 Dalmatians
- Disney's The Lion King
- Disney's A Bug's Life
- Dinosaurs: Stuggle For Existance
- Discovery Channel: Dinamation
- Disney's Dinosaur
- Power Rangers: Lost Galaxy
- Sea World: Shows & Animals
|
 |
Flashcat
Un projecteur qui permet de projeter sur les murs des
images amusant les chats !
|
|
|
 |
ELMO
Cet appareil peut projeter les images de trois disques
colorés.
|
|
sujets
: Ernie, Elmo, et Cookie Monster |
 |
Disney
ViewMaster
Lilo & Stitch
|
|
|
 |
Fisher Price
Pouvait projeter 12 images. Il pouvait également
émettre des sons.
|
|
Images
: ours, hibou, loup, grenouille, éclair, étoiles,.. Sons
: Crickets, hurlement de loup, hibou, grenouilles,...
|
 |
Daisy Picture Pistols
194x
Ont existé en plusieurs modèles (Daisy Dart Rocket
Pistol, Daisy Superman Krypto Ray Gun) .
|
|
 |
| |
 |
|
|
 |
Superman Krypto Ray Gun
(P6353 #94)
Daisy Mfg. Co, Plymouth, Mich.
Brevet 2,100,008 du 23 novembre 1937 applicable au 8
juin 1936 / Brevet 2,146,237 du 7 février 1939
applicable au 2 août 1937
1939 (arrêt de production en 1941, en raison des
efforts de guerre américains)
16mm. Films en boucle de 28 images.
Tôle emboutie
|
 |
 |
| |
 |
 |
 |
|
|
|
Films
:
#195: Reforming the Prison, Foiling Football Crooks,
& Killing the Cab Racket.
#205: The Subway Mystery, Saving the Circus, & One
Man Police Force
|
 |
Daisy
fabricant d'armes produisait des pistolets jouets
notamment au cours des années 1930 et 1940. Ces
pistolets étaient souvent associés à des héros de
bandes dessinées : Buck Rogers, Superman,...
1950 : Daisy Manufacturing Company . Plymouth .
Michigan . USA
Manufacters of Daisy B-B guns and Bulls eye shot
|
 |
 |
 |
Flashy Flickers
Magic Picture Gun - Batman
Louis Marx Co.
~1965
|
 |
 |
 |
Movie Projector Gun
Allied Mfg. Company, Chicago, IL
1937
Projetait sur le mur ou l'écran argenté fourni les
images d'un film en boucle.
|
 |
 |
| |
|
|
Films
:
- livrés avec l'appareil : Moon
Mullins 1, Clyde Beatty 1, Little Joe 1, Tiny
Tim 1, Babe Ruth 1
- autres films : Charlie Chaplin 2, Gasoline Alley 2,
Babe Ruth 2, Buffalo Bill 1, Harold Teen 2
|
 |
Auto-Magic
Stephens
Products Co., 2160 Broadway, New York, NY 10023
copyright 1937, patent pending.
1938 (1939 : new improved)
Film 16mm de 28 images en boucle.
|
 |
 |
 |
 |
|
Films : #205, #240 |
 |
Auto Magic Space Viewer
Pistol
Worcester Toy Company, Massachusetts.
195x
|
 |
 |
| |
 |
 |
 |
| |
 |
|
|
 |
Drive in Movie Gun Projector
(N° 486)
Stephens Products Co. Inc. from Middletown,
Connecticut.
1946 (~1950 "new improved")
|
 |
Film:
Peter Pan |
 |
Mickey Mouse Club Auto-Magic
Picture Gun Model No. 482
Stephens Products Co. in
Middletown Connecticut
|
|
|
 |
Disneyland Gun & Theater
196x
|
 |
|
 |
Hopalong-Cassidy (Auto-Magic modèle
n°492)
Stephens Products Co, Inc, 36 Water St, Middletown,
Conn.
1950
|
 |
 |
 |
Mattel Funlight
Mattel
1970
|
|
|
 |
Show.Beam
View-Master
1979
|
 |
 |
| |
|
|
 |
 |
Batman Projector
Gun
Toy
Biz.
1989
Bandes de 32 images.
|
 |
|
 |
Ghostbusters
Ghostzapper
Gun Projector
Kenner
1984 & 1986
contient 6 images de fantômes
|
|
|
| |
|
|
 |
|
|
 |
Mouseketeer TV Story
Teller-Tin
Superior Toy Company.
195x
|
 |
 |
| |
 |
|
|
 |
Excel Toy Television
(Model No. P42)
Excel Movie Products Inc,
Elgin Illinois.
1945
|
 |
 |
 |
Hopalong
Cassidy toy television
Automatic Toy Company,
Staten Island, NY.
Certainement brevet 2,441,607 du 18 mai 1948
195x
Bakélite
|
 |
 |
 |
Tel-O-Vision
Play-Time
194x
|
 |
|
 |
Junior Tel-O-Vision
Manufacturing Co. Inc., Worcester, Mass.
Riemann, Seabrey Co. Inc., 24th Street, 1107 Broadway,
New York 11, New York
195x
|
  |
|
 |
1975
Thème inspiré d'une série tv: The
Rookies .
|
|
|
 |
TV Projector
Play-Time
1994
Cet appareil est en fait
un projecteur (image projetée par le dessus de
l'appareil). L'écran présente une image fixe diffusant
une douce lumière. Ampoule 7 watts.
|
 |
 |
 |
TV set
Kenner.
|
|
|
 |
Fisher-Price
Movie Theater
Fisher-Price
1977
8mm
|
 |
Cassettes
films 8mm. Fin commercialisation 1986.
|
| < |
 |
474 Mickey
Mouse and the Giant
475 Lonesome Ghosts!
476 Pinocchio
477 Cinderella
479 Snow White
480 Bambi
481 Three Little Pigs
484 Winnie-the-Poo and Tigger Too
486 Sesame Street Numbers
489 Sesame Street Alphabet
490 Goofy's Glider
491 Mickey's Trailer
495 Pluto in Bone Trouble
498 Big Bird's Birthday Party |
Quelques
autres titres:
- Road Runner in Zipping Along!
- Sesame Streets' Cookie
- Monster in the Kitchen!
- Donald Duck's Toy Train!
- The Rescuers!!
- Sylvester and Tweety
- Dog Pounders
- Tweety in Dog Pounded
- Mickey Mouse Lonesome Giants
- The Rescuers Albatross Airlines |
 |
Viz-Vue
Tel-A-Toy
Montgomery Ward
Tel-A-Toy Disc Film,
disques de 12 images
|
|
Films
- Série N°48-2056: B-14-1 Florida; B-14-2 Hawai;
C-29-3 The Antics of Homer 3; C-29-4 The Antics of
Homer 4; C-24-3 Animals & Birds 3; C-24-4 Animals
& Birds 4; A-9-1 Philadelphia, Pa 1; A-9-2
Philadelphia, Pa 2
- Série N°48-2057: C-29-5 The Antics of Homer 5;
C-29-6 The Antics of Homer 6; B-16-3 World War II 3;
B-16-4 World War II 4; B-19-1 Mexico; B-19-2 South
America; A-6-1 New York City; A-6-2 Washington DC
|
 |
TV-X
Junior ( model #3900-1/2)
Cragstan
8mm
|
 |
 |
 |
Color
Show
Cragstan
196x
8mm
|
 |
|
 |
TV Color Camera
Remco
Fonctionne sans pile, il suffit de se placer face à
l'appareil et on se voit dans l'écran TV !
|
 |
|
 |
Disneyland Television
Lido Toy Co.
195x
|
 |
Films
:
- Donald Duck in Tomorrowland
- Goofy In Frontierland
- Mickey Mouse in Adventureland
- Mickey Mouse visits Disneyland
- Peter Pan in Fantasyland
|
 |
Huckleberry Hound
Lido Toy Co.
|
 |
Films
: -
Huckleberry Hound : The Big Game Hunter
- Yogi Bear : The Bugaboo Bear
- Quick Draw McGrow : The Magificient Massacre
|
 |
Lido Television
Walt Disney's TV Film
195x
|
|
Films
:
- Zorro's Romance
- Zorro Goes to Church
- The Ghost of the Mission
|
 |
Superman
TV film #326B
M. Shimmel Sons Inc.
1966-1967
|
 |
Films:
- B1 The Kryptonite Man
- B2 The Terrible Treo!
- B3 Coupled Capers!
- B4 Saves the Space Program!
|
 |
Dick
Tracy Mini Color Tele-Viewer
1973
|
 |
|
|
|
Mico-Vue
Mico Vue ,119 S. Dearborn St. Chicago
une nouvelle version issue du brevet original de 1951.
35mm.
En plastique
|
|
|
 |
Singer Study Mate II
Filmstrip viewer
|
 |
|
| |
|
|
 |
Visionneuses
pour images fixes (en bandes)
|
 |
Kiddie Kamera
Allied
Mfg Co. Chicago
Brevet 1,957,378 du 1er mai 1934
1932, 1934
Boîtier en plastique, molette métallique permettant de
faire défiler les images.
|
 |
Films
: Dick Tracy (x3), Smitty,
Winnie Winkel (x2),
Gasoline Alley (x2), Moon
Mullins (x2), The Gumps
(x2), Orphan Annie
(x3), Harold Teen,
Terry & Pirates (x2), The Lone
Ranger (x2), Joe
Palooka (x2), Little Joe, Tiny Tim
|
|
|
Mickey Mouse Viewer
Mfd. by Craftmen's Guild, 6916 Romaine St. Hollywood
38, Calif.
Copyright Walt Disney Productions
1939
16mm
Un Mickey est dessiné en relief sur les deux faces de
la visionneuse.
|
|
|
 |
 |
 |
 |
 |
 |
 |
 |
 |
 |
 |
Films
à 16 images "Feature Length Films in Full
Color."
: No 1 Brave Little Tailor (1938), No. 2 Three Little
Pigs, No 3. The Practical Pig (1939), No. 4 Chicken
Little (1943), No. 5 The Tortoise and the Hare, No. 6
The Ugly Duckling (1939), No. 7 The Grasshopper and
the Ants (1934), No. 8. The Pied Piper (1933), No. 9
The Golden Touch, No. 10 Little
Hiawatha, No. 11 The Pointer, No. 12 Donald's
Vacation, No. 13 A Good Time for a Dime
|
| |
 |
|
 |
 |
Whittaker Pixie Viewer
195x
|
|
 |
 |
Hollywood Viewer
Craftsmen's Guild, 6916 Romaine St, Hollywood 38
Calif.
1944
35mm
Existe en version "Professional".
|
 |
 |
| |
|
 |
 |
 |
Mini-Vuer
Craftsmen's Guild
35mm
|
 |
|
 |
Guild Mini-Master
Craftsmen's Guild
Pat.No.2,550,799 . Made in "Hollywood california" .
Brevet du 1er mai 1951, applicable au 25 novembre 1944
35mm
|
 |
|
 |
Zadiix Junior
(#503)
J & M. Products Co. 299 Third St. Brooklyn 15, New
York NY
pat off.no.515440
35mm. (Ref 1,
)
|
 |
Zadiix
Illuminator, adaptateur lumineux qui se
fixe derrière le Zadiix et permet d'éclairer les films
visionnés.
|
 |
Zadiix Royal de Luxe
J & M Products Co., Brooklyn, New York, USA.
|
 |
 |
 |
V35 Yankee
Imperial Viewer.
Yankee
|
 |
|
 |
Chromat-O-Scope,
modèle Imperial
Chromat-O-Scope Co. 426
South Spring Street, Los Angeles.
breveté en janvier 1945
en bakélite "Catalin"
|
 |
|
 |
Chromat-O-Scope,
modèle UltraVue
The Chromat-o-scope Co. of Los Angeles, California.
Brevet de janvier 1945.
|
|
|
 |
Da Brite
The Mostow Co, Chicago
|
 |
|
 |
"Unconquered"
Cecil B.DeMille's Epic
1947
Visionneuse publicitaire livrée avec 5 images du film
avec Gary Cooper & Paulette Goddard
|
|
|
 |
Sawyer Inc. Portland Ore.
195x
Bandes à 7 images
|
 |
 |
 |
1991.
Images de George Brett.
|
|
|
 |
Imperial Pocket Viewer
|
 |
|
 |
Lionel en forme de
locomotive à vapeur
1936
permet de visionner les
films de l'Auto-Magic.
En plastique.
|
|
|
 |
194x
|
 |
Texte de
l'image: "Something to make my husband sleep nights,
please". Entourée de plusieurs jeunes enfants, cette
dame demande au pharmacien quelque chose qui ferait
dormir son mari la nuit !
|
 |
Flash-a-Film
194x
Elle pouvait également être utilisée comme projecteur
en utilisant une lampe torche.
|
 |
Films:
1 Creation and the Patriarchs; 2 Jacob, Joseph and
Moses; 3 Wilderness Wanderings of the Israelites; 4
David, Solomon and the Prophets; 5 Peter and Paul and
the Early Chruch.
Chaque film 1$, les 5 pour 4$.
|
| |
|
 |
 |
 |
Collection de 5 Disney
Mini Viewer
Tomy.
Edition limitée.
|
|
Les 5 titres
étaient:
- Mickey's Trailer
- Runaway Brain
- The Prince and the Pauper
- Clock Cleaners
- Fire Fighters
|
 |
GI Joe Mini Viewer
Collection
Hasbro
12 images par visionneuse
plastique
|
|
6
modèles différents :
1- Bombs Bursting in Air
2- Ninja Showdown
3- Spy Troops
4- Roadblock Gets Heavy
5- Tanks for Nothing
6- Face to Face
|
 |
Tom Mix Ring
193x
Brevet 2,129,759 du 13 septembre 1938
petits films 8mm
Bague en métal
|
 |
 |
| |
Tom Mix Look In Picture Ring
1938
Bague contenant une image (Stanhope).
|
|
|
 |
Atomic Bomb Ring
(Lone Ranger Atomic Bomb)
Distribué par General Mills Co avec ses céréales Kix.
1946
Bague. Ce jouet scientifique n'est pas une visionneuse
mais un Spinthariscope. Une petite source de Radium
face à une plaque de sulfure de zinc entraîne
l'apparition de petites étincelles.
|
 |
Le
principe du Spinthariscope (du grec
spintha=scintiller) a été découvert en 1903 par le
savant anglais William Crookes ( 17 juin 1832, Londres
- 4 avril 1919, Londres)
|
 |
Den Leader Reminder
(#6408)
196x
Films type 110
|
 |
Livré
avec 3 films strips sur le
scoutisme:
- Cub Scouting is...
- Resources
- Reinforcement Recognition Results
|
 |
Neo Manifesto Slide-Viewer
Strip joint au livre du chanteur Prince "Neo
Manifesto"
1994
|
|
|
 |
Major Jet
|
|
Films
:
- No.1 is Major Jet beats Time and Tide
- No.2 Malor Jet and the Fiery Peril
|
 |
Hopalong Cassidy
Produced in Hollywood
Film 35mm inclus dans la boîte
Le film est contenu dans une boîte qui sert elle-même
de visionneuse : un coté de la boîte contient un petit
oculaire et l'autre face une fenêtre translucide
|
 |
|
|
|
Tom Mix mini viewer
probablement brevet 2,570,973 applicable au 22
septembre 1948
1949
Plusieurs versions ont existé: normale, Premium, doré
(Tom Mix est un cowboy héros américain)
|
|
|
| |
|
|
 |
 |
Viewmaster Viz Vue
Tel-A-Toy
Montgomery ward Co.
196x
|
 |
Disques
: 9-1 & 9-2 Phila Pa , 24-3 & 24-4 Animals and
Birds , 14-1 Florida , 29-3 & 29-4 Antics of Homer
( Cartoon ) , 14-2 Hawaii , C27-1 Pete the Indain Boy
|
| |
|
 |
 |
 |
Picture Story Camera
(modèle 784)
Fisher-Price
Brevet 3,490,171 du 20 janvier 1970 applicable au 21
décembre 1967 (également
déposé en Grande-Bretagne n° 1.251.529 du 27 octobre
1971)
1967 -> 1973
Bande film à 8 images.
Devant en plastique et dos en bois.
|
 |
|
 |
Pocket Camera
(modèle 464)
Fisher-Price
1974.
Contient une bande de 27 images appelée "A Trip to the
Zoo".
|
|
|
 |
Movie
Star Camera Viewer
Made in Hong-Kong
195x
16 photos d'acteurs américains
|
 |
|
 |
Mild
Cigarette Viewer
Art Studies (Art Studies Series No. 1)
Micro-Fax Co
bande à 20 images sur film 16 mm
|
|
|
 |
Cigarette
Lighter Viewer (N°104)
Made in Hong-Kong
12 images Marilyn Monroe
|
|
|
 |
Television
|
|
Films
: McDonald Aircrafts
|
 |
Hopalong
Cassidy television
195x
|
|
|
 |
modèle N°818
Camera Viewers.
|
|
|
 |
Lot de visionneuses
McDonalds
40ème anniversaire de Disney.
|
|
|
| |
Double-Vue.
View-Master
|
 |
|
 |
Huckleberry Hound
Viewmarx T.M., Micro-Viewers, Marx Toys, Made In Hong
Kong
copyright Hanna-Barbera
Productions, Inc. 1963 (brevet US 2,889,644 obtenu le
9 juin 1959 et applicable au 15 janvier 1957)
1962
|
 |
|
 |
FotoReel of
Century of Progress
Allied Products Co. 209 S. State St. Chicago, Ill."
1933.
|
 |
|
 |
Komic Kamera
Allied Mfg. Co. Chicago, Ill
Patented Allied Mfg. Co.
Chicago
1934
|
 |
Films:
Joe Palooka, Scrappy,
Kit Carson, Harold Teen,
Orphan Annie, Moon
Mullins, Dick Tracy, Gasoline
Alley, Winnie
Winkle, Africa Speaks, The
Gumps, Krazy Kat, 3 Nursery Pigs, Capt. Beatty's
Animal Circus
|
|
|
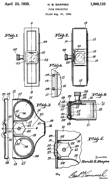
Acme Plastic
Toys, cette visionneuse a existé en plusieurs
couleurs.
- Acme Toy Corp., 1414 So. Wabash Ave., Chicago,
Illinois
- Acme Plastics Inc., Miami, Florida
Le brevet 1,999,133
a été déposé en 1935.
(1939 Golden Gate International Exposition; 1940
Famous Komics; 1948 Lone Rangers; 1953 #200 Dick
Tracy; 1955 Hopalong
Cassidy; 1961 Bonanza [Chemtoy]; 1963 The Three
Stooges Series [Norman Maurer Production Inc]; 1965
#F10SMAN Superman; 1967 Star Trek [Chemtoy]; 1969 Land
of the Giant [ Kent Productions])
La gamme de films 16mm proposés était large.
|
|
|
 |
 |
Quelques
personnages: Dick Tracy, Little
Orphan Annie, Smokey
Stover, Terry & The Pirates, Herby, Winnie
Winkle, Don Winslow, Harold
Teen, Gasoline
Alley, Nebbs, Moon
Mullins, Smilin' Jack, Hopalong
Cassidy
|
 |
 |
 |
 |
 |
 |
Jumbo
Movie Style Viewer
1955
Acme Toy Corp.
The Chicago Tribute
Syndicat
|
 |
|
 |
Superman
Movie Viewer
1965
National Periodical
Publication Inc.
|
 |
|
 |
Hopalong
Cassidy View Master

35 mm
|
|
|
| |
Ciné
Vue New York World's Fair Movie
Views Souvenir
Pathegrams
1939
|
 |
|
|
|
Slide Viewer
Taylor Merchant, NYC,
195x
(Ref 1,
2,
)
|
|
|
|
|
Hollywood Movie-Vuer.
|
|
|
| |
|
 |
Films:
13 Mickey the Piano Player; 14 The stunting Transport
Plane; 15 The flying Ducks; 19 The Jokey takes a
Spill; 23 The flying Autogiro
|
 |
Moviescope
Novelview/Novelart Mfg. Co.
Wheaties
1937
|
|
|
 |
Tru-Vue est une
visionneuse qui a légèrement changé au fil du temps.
|
 |
Quelques
films: 245 Red Ryder, 235 Howdy
Doody, 220 Ringling Bros. Circus, 105 Brookfield Zoo
|
 |
Moving Picture Machine
Farina
1937.
Feuille cartonnée prédécoupée permettant de construire
une visionneuse simple.
|
 |
Les films
papier de 56 images concernaient The
Three Stooges. Titres: 5 "False Alarms", 6 "3
Little Pigskins".
|
| |
|
|
 |
Visionneuses
pour films (en cassettes)
|
 |
Hollywood Motion Picturescope
Hollywood, California
1935
En tôle emboutie, oeilleton en caoutchouc.
|
 |
 |
|
|
Donald Duck Funnee-Movee
Irwin Corporation, NYC.
1949
Les films 16mm, en boucle, mesurent 18".
|
|
|
 |
Melton Movie Viewer
Melton Mascot, film magazine Pat.Pend USA.
1952
8 mm
|
|
Films
8 mm en cassettes en plastique jaune:
- Gene Autry in Shooting Straight
- Gene Autry and horse in Champions Trick
- Gene Autry in Load Guns
- Tex Ritter in Three in the Saddle
- Mickey Mouse in Fun at the Beach
- Pluto's Fish Story
|
| |
|
 |
 |
 |
Pocket Viewer
modèle M-5
8mm
|
|
|
 |
|
 |
|
 |
Action Viewer
Action Film Inc.
1970 & 1971
|
 |
 |
 |
ActionFilms
films Disney en cassette.
197x
|
Films
: Lonesome Ghosts (Mickey, Donald & Goofy)
|
 |
| |
Fisher-Price Movie Viewer
1973 (#460)
|
|
|
 |
Disney Roll-A-Show
True-Vue
Disney product-USA.
197x
super 8mm
|
|
|
 |
Movie
Viewer
Kenner
197x (~1975 Snoopy; 1977 Star Wars; 1979 Alien)
|
|
|
 |
Batman
Movie Viewer (Sneak Previews Motorized Pocket Movie
Viewer & Cassette)
Galoob Toy Company
1984
|
Films
: Batman; Superman; Captain America |
|
 |
Pocket Flix
Ideal Toy Corporation, Hollis, New York.
Copyrighted 1976, 1978 Dino
De Laurentis Corporation
1976, 1978
Populaire. Motorisé
|
|
Films
: Popeye, Scooby Doo, Spiderman, Star Trek, the
Sub-Mariner , Bad News Bears - Breaking
Training, King Kong, Emergency!
|
 |
Steven's Mini Projector
Steven
1971
|
 |
|
| |
Fisher-Price
Movie Viewer (1973):
voir le Fisher-Price Movie
Theater (1977) dans le chapître style
téléviseur
|
|
|
| |
|
|
 |
|
|
 |
Super
Show (#1301)
Kenner Products Co, Cincinatti 2 Ohio
1962
Les images étaient
extraites des cartoons de Hanna-Barbera (Popeye,
Superman, Roy Rogers, Lassie)
Cet appareil est un épiscope original : il comporte
une fonction normale de projecteur pour bandes à 7
images sur lesquelles par effet épiscope des
personnages peuvent être ajoutés en surimpression.
|
 |
 |
| |
 |
 |
 |
| |
|
 |
 |
 |
Navir Episcop Projector
Episcopio
196x
|
 |
 |
 |
Projecta ScOpe / Project-A-Scope
(# 290) / Project-o-scope
Brumberger, Brooklyn 32,N.Y
1971
épiscope utilisant une ampoule de 60 à 75W.
|
 |
 |
| |
|
 |
 |
 |
Glastar Project-A-Scope
Norton Products, New
Rochelle, NY
Ampoule 60W
|
|
|
 |
APCO
Projecta Scope
Version blanche
|
 |
 |
 |
Magnajector
Rainbow Crafts, Inc. (the
Play-Doh People), Cincinnati 12, Ohio.
US Pats 2,735,336 &
D-178719—US TM REG 614,797
1960
|
 |
Egalement
fabriqué en Grande-Bretagne (Peter Austin
Manufacturing Co).
|
| |
 |
 |
 |
 |
Episcope Projector
Vista Rama
195x
|
 |
|
| |
|
|
 |
|
|
 |
Movie Theatre
Home Town
|
 |
|
 |
Teenie Movies
Teenie Movies Co, Tillson, NY
192x
|
Le
film contenu était un de la série The
Tinker Twin's Serie:
- The Tinker Twin's Airplane
- The Tinker Twin's Island
- The Tinker Twin's Automobile
- The Tinker Twin's Secret
|
|
 |
Telejector
Theatre #518
National Plastic Comp. ,
N.Y.
195x
Un miroir installé dans le boîtier permettait de
projeter l'image soit sur l'écran placé devant
l'appareil, soit par réflexion sur un petit écran
placé à l'arrière du projecteur.
|
 |
Films
: The Ugly Ducking,Snow White,Robinson
Crusoe,Old Mc Donald Had a Farm
|
 |
Bookie-Reel
The Toy Krofters Inc.,
Beacon, N.Y.
1925
Films sur papier de 13 cm de large
|
 |
Films
:
- Jack and the Bean-stalk (par Katherine G. Healey)
- Hansel and Grethel (par Blanche Fisher Laite)
|
 |
Pak
o Fun Moovy Sho
A. C. Gilbert Company
1933
Kit pour faire soi-même ses "films"
|
 |
 |
 |
Snoopy Drive-in Theater
Kenner
General Mills Fun Group, INC. Brevet D
234,864 du 27 septembre 1977
1975
|
 |
 |
| |
|
Titres:
- Lucy vs. Masked Marvel
- Good Grief
- Roll Over Beethoven
- Slide Snoopy Slide
- The Easter Beagle
- Skateboard Olympics
- Woodstock's Dream House
|
|
 |
Movieland Drive in Theater
Remco Industries Inc, Newark, NJ
1959
Deux versions de ce jouet ont existé : la première
(voir images) avec un écran de projection blanc, une
deuxième avec un cache noir protégeant l'écran en cas
de projection à la lumière du jour.
|
Titres:
- Mighty Mouse and Farmer Alfalfa
- Have Gun Will Travel and Heckle & Jeckle
- Captain Kangaroo and Dinky Duck
|
 |
| |
|

Notice jointe à la première version du jouet. |
 |
 |
See-Action
Football Game
Kenner
1974-1975
|
 |
|
 |
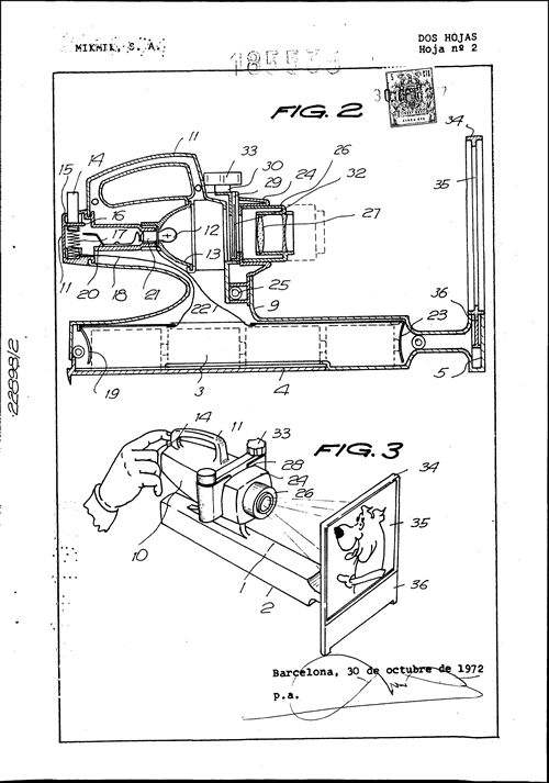
Screen-a-Show
Cassette Projector #35601
Kenner (Div. Kenner Products, Cincinati, Ohio 45202)
General Mills Fun Group, INC. (+déposé en Espagne par
Mikmik SA le 30 octobre 1972 n°185535)
1972
Chaque cassette comprend 21 images en couleurs.
|
 |
Films
: en cassette
1- Harlem Globetrotters (Triple Threat) , Scooby Doo
(Where Are You?)
2- Archies (Dirty Birds)
3- Josie & The Pussycats (Swinging Signal), Hair
Bears Bunch (Clumsy Clean-up)
4- Sabrina the Teenage Witch (Up in Arms)
5- "Look Again" (jeu avec les personnages de Archie),
"What On Earth?" (jeu sur l'écologie)
- Funky Phantom (première version du jouet, remplacé
par film 5 ?)
|
| |
 |
 |
|
 |
Cassette Movie Projector
Kenner
1973
|
 |
Films
:
- Fat Albert & The Cosby Kids
- Josie & The PussyCats
|
 |
Movie Theater
Midgette Toy Company,
Mansfield Massachusetts
1942
Les images sur papier défilent au rythme de la
manivelle.
|
 |
|
 |
Midgette
Midgette Toy Co 280 Friends St Boston MA
Brevet 2,452,776 du 2 novembre 1948 applicable au 14
février 1945
1944
Cette version ultérieure comporte le même dispositif
d'images papier sur un tambour.
|
 |
Film
sur papier livré avec l'appareil : Susie the Silly
Seal.
Films supplémentaires: The Tricky
Mule ; The Bear and the Bees ; The Skating Duck ; The
Butting Billy; Old Juggling Sam ; Why Kitty Got
Spanked ; Large Wampoo and His Arrow ; Bill's Bucking
Bronco ; Suzie the Silly Seal ; Skippy Blackie and the
Bone ; The Dancing Pig ; Tumbling Petie Panda
|
| |
 |
 |
 |
 |
|
|
|
 |
Moving Picture Machine
Pepsodent
copyright 1938-W.D.E.(Walt Disney Enterprises)
1938
Les bobines (flip book) contenaient 56 images couleur,
imprimées recto-verso pour contenir deux histoires.
En carton. Livré en kit
|
 |
Les deux
histoires contenues sur la bobine :
- Walt Disney's Snow White And The Seven Dwarfs
- Mickey Mouse And Donald Duck
|
| |
|
 |
|
 |
Santa's Moving Picture
Machine
American Adv. & Res. Corp
1940
"flip-book" de 32 images.
|
 |
|
 |
3 Stooges Moving Picture
Machine
Offert pour l'achat de deux Pillsbury's Farina
1937
|
 |
 |
 |
Horrorscope
Lowe
Famous Monsters of
Filmland
1964
|
 |
Les
quatre personnages proposés sont Frankenstein,
Dracula, Wolfman et the Creature
|
 |
Newspaper
Movie Machine
World Syndicate Co. of New York, NY
brevet du 9 septembre 1919
Appareil destiné à visionner les images en bandes
publiées dans les journaux.
|
 |
 |
 |
Playland Movies
Admiral Toy Corporation, Chicago 45, ILL.
Après introduction d'une
pièce permettait de visionner un des deux films.
|
 |
Deux films
inclus:
- Felix the Cat, dans Felix Saves the Day
- Dog's Night Out |
 |
Bugs Bunny Moving Picture
Machine
|
|
|
 |
Mickey Mouse Moving Picture
Machine
Offert pour l'achat de deux paquets de céréales
Wheaties
|
|
|
 |
Wheaties Moving Picture
Machine
Offert pour l'achat de deux paquets de céréales
Wheaties
|
|
|
| |
|
|
|
| |
|
|
 |