ETATS-UNIS



En 1932 les débuts du film d'animation simple aux Etats-Unis sont contemporains du brevet espagnol du NIC. Le NIC 100 est une copie conforme des appareils espagnols de 1ère génération, le NIC 200 en est une version améliorée qui sera ensuite sonorisée avec le Nic Talkie 400. De forme originale le NIC 500 de 1934 apparaît comme un pur produit américain, suivi peu après par le NIC 600 sonorisé.
Le principe d'animation par projection alternée d'images sera également adopté en 1933 par la série des Jecktor (Movie Jecktor, Mickey Mouse Movie Jecktor suivis par leurs versions sonorisées Talkie Jecktor et Mickey Mouse Talkie Jecktor) puis en 1934 par Durotone avec son projecteur Uncle Sam (version ensuite sonorisée avec le Talkie System). Tous ces appareils sont construits sur les bases du Nic espagnol, notamment avec des films sur papier translucide. Par la suite, le brevet de Miguel Nebel (à l'origine du Minicine anglais) sera concrétisé en 1950 sous les traits du Disneyland Projector et l'histoire de ces projecteurs jouets à images alternées se terminera en 1952 par le Hollywood Toy Television. La généralisation des projecteurs cinématographiques cloturera cette aventure.

Movie Jecktor animation

Fabricant
Appareils
Films
Remarque
Nombre
images
Support
Longueur
cm
NIC Corp NIC 100
NIC 200
NIC Talkie
NIC 500
NIC 600
2
Papier
Films larges
Brevet Nicolau
Movie Jecktor Movie Jecktor
Talkie Jecktor
Mickey Mouse Movie Jecktor
Mickey Mouse Talkie Jecktor
2
Papier
  Brevet Frisch
Durotone Uncle Sam
Talkie System
2
Papier
  Brevets Durable Toy
Mavco Disneyland Projector
4
Film
  Brevet Nebel
Hollywood Toy Hollywood Toy Television
2
Film
  Brevets Durable Toy


Le 14 juillet 1936, Mario Sassoli, un italien de Milan, obtient le brevet 2,047,521 qui est la reprise de son brevet allemand décrivant le projecteur qui s'appellera Dux Kino MM. Je n'ai pas connaissance que ce brevet ait été effectivement exploité aux Etats-Unis .
Cependant, le projecteur suisse Trixine fera référence à ce brevet
.

Le même Mario Sassoli a également obtenu le brevet 2,213,613 du 3 septembre 1940. Cet appareil présente une forme originale jamais vue, et qui semble t'il ne sera pas exploitée, comme le brevet ci-dessus. Le système de projection était étudié pour des films à 3 rangées d'images.


     

Nic 100 (1932)


Le NIC 100 en carton fut fabriqué à partir de 1932 par la Nic Projector Company, 54 Greene St. , New-York, il est donc le premier projecteur à images alternées produit aux USA. C'est la version américaine du NIC espagnol, elle est fabriquée sur les bases du brevet déposé aux Etats-Unis.
NIC 100
Nic Projector Corp, 54 Greene St. New YorkN.Y.C.
brevet 1,929,815 , délivré le 10 octobre 1933 par Tomas et Jose Maria Nicolau y Grino et applicable au 3 février 1932
1932
Bande papier à 2 lignes d'images
Carton
PR2-NICU-001

L'appareil a existé en plusieurs couleurs, on en connait principalement deux versions en vert et en rouge, le modèle bleu semble moins commun.

Logotype du NIC américain

Séries vertes et rouges du Nic 100
modèle n°100 Logotype du NIC américain
Même les emballages de carton ont revêtu la couleur de l'appareil.
 




Logotype du NIC américain

Emballage d'un film pour NIC américain

Cet appareil est basé sur les principes du projecteur NIC espagnol de première génération. L'ensemble est en carton et fonctionne avec des films en bande large. Sur la notice jointe à l'appareil, seuls les films Nic de 1 à 12 sont cités.

Emballage d'un film pour NIC américain
La notice figurant sur les films Nic rappelle que les boîtiers ont été conçus pour permettre le déroulement des films sans les sortir de l'emballage.
 
     

Nic 200 (1934)


Le NIC 200 métallique est certainement apparu vers 1934. Sa construction est beaucoup plus robuste que celle du Nic 100 : le boîtier est métallique, donc plus résistant aux chocs et à l'humidité, l'ampoule électrique est ventilée ce qui permet d'éviter la déformation de la boîte de lampe et de limiter les risques de combustion lors de longues séances de projection.
NIC 200
Nic Projector Corp, N.Y.C.
~1934
Bande papier à 2 lignes d'images
Métallique
PR2-NICU-002

Cet appareil est assez différent des autres appareils espagnols : la principale différence visible consiste en un petit toit ajouré fixé sur le boîtier principal (cette boîte à lumière peut contenir une ampoule de 40 W).

Logotype du NIC 200  US "The Nic Projector Corporation was a pioneer in the toy field to present popular animated cartoons in the home. They created an animated cartoon projector, the dream of every child. Imagine the delight a child would have in showing moving pictures to their friends in their own home."US strip Cinderella

Animation d'un strip pour NIC US

On peut noter que les deux couleurs connues de cet appareil sont le smêmes que celles de la version précédente : rouge et vert.

Logotype du NIC 200  US Logotype du NIC 200  US

Emballage (partie)



Comme pour les films Nic espagnols de 2ème génération, chaque film est contenu dans un petit boîtier de carton duquel il ne peut être désolidarisé. Le film est alors extrait par une ouverture sur le flanc du boîtier. Après projection, le film est tout simplement rembobiné à l'intérieur de son boîtier.
Les films utilisés sont les mêmes que ceux qui seront ensuite repris par le projecteur NIC 500 (seuls les films 1 à 25 semblent contemporains du NIC 200). Il est à noter qu'en 1934 les projecteurs américains Jecktor et Durotone étaient sortis : tous ces appareils étant basés sur les brevets du Nic espagnols, les films produits pour un appareil peuvent être utilisés par n'importe quel autre projecteur.
 
 
Notice du Nic 200. Elle contient une liste de 25 films, correspondant aux 25 premiers films de la liste des films du Nic 500.
 
 
Amusante image extraite de la notice : comme le logo du Nic italien, cette image semble bien inspirée du personnage principal de Walt Disney...
 
 
 
    Films pour Nic 200 et Nic 500
 
 
     

Nic Talkie 400 (1934)


le modèle NIC Projector "Talkie" 400
NIC Projector "Talkies" 400 Nic Projector Corp, N.Y.C.
Brevet 1.929.815 de 1933
~1934
Bande papier à 2 lignes d'images
Métal
PR2-NICU-003
C'est une version sonore du Nic 200, incorporant un ensemble style gramophone similaire à celui du Nic Sonoro espagnol. Cet appareil est appelé sur la notice Nic Projector Talkie, et non Nic 300 ou Nic 400 comme l'aurait voulu la logique de numérotation des appareils américains.
La forme du boîtier à lampe conserve celle du Nic 100, donc assez différente du modèle espagnol. C'est cette boîte qui fait effet de caisse résonnante pour amplifier le son produit.

Images aimablement transmises par Peter Muldavin ("The Kiddie Rekord King")
 
On perçoit bien l'esthétique générale du Nic 200 sur lequel ont été ajoutés un mécanisme d'entraînement de la platine disque et un cornet acoustique (absent sur l'image présentée ci-contre, en effet cet accessoire assez fragile est souvent manquant sur les appareils trouvés aujourd'hui).
 
Les disques étaient édités par le même fabricant, NIC Projector Corp, 200 Fifth Avenue, New York. Les deux titres présents sur ce disque ci-contre sont Jack The Giant Killer et The Owl And The Pussycat.

Films pour Nic 200 et Nic 500
 
Ce modèle a été joliment restauré par le collectionneur espagnol Miquel, un authentique passionné. On découvre ainsi mieux la forme générale de l'appareil, et on peut constater que la boîte de la lampe sert également de caisse sonore !

Images aimablement transmises par Miquel
Notice d'utilisation des Nic Projector-Talkies

Images originales aimablement communiquées par Miquel

Films pour les projecteurs NIC 400 Les films étaent distribués dans de petites boîtes cartonnées contenant un disque sonore et les films papier correspondants. Les disques étaient d'une fabrication particulièrement soignée, la face non gravée étant joliment décorée d'une image correspondant à l'histoire racontée.




Toutes ces images ont été aimablement transmises par Peter Muldavin ("The Kiddie Rekord King")

 
     

Nic 500 (1934)


le modèle NIC 500
NIC 500 - ZEPHYR Nic Projector Corp, N.Y.C.
Brevet 1,929,815 obtenu le 10 octobre 1933 par Tomas Nicolau y Grino et Josep Maria Nicolau de Barcelone, Espagne
1934
Bande papier à 2 lignes d'images
Métal, extrémités en métal peint puis en métal brillant. Ampoule 15W.
PR2-NICU-004 / ACR 1009
cm
x
22
x


NIC 500 avec film chargé

NIC 500 avec film chargé
Commercialisé en 1934, son boîtier métallique est d'une esthétique plutôt originale. Nic Projector Corp., New York (U.S. Pat. 1,929,815). Une manivelle (ou parfois un bouton ?) permettait de faire avancer le film et simultanément faire pivoter un volet qui obscurcissait alternativement l'image haute ou basse. Ce modèle est américain et n'a connu aucun produit similaire dans les autres pays où étaient produits des NIC.
L'appareil était vendu $1.00 en 1936.
 
Sur ce modèle, on peut remarquer que le mécanisme d'entraînement est actionné par une molette ronde. Ce dispositif ne semble pas très pratique ni ergonomique, il est donc probable qu'il s'agisse d'une réparation. Toutefois, la molette est choisie d'un style parfaitement similaire au reste de l'appareil..
Sur cet autre modèle, c'est une manivelle habituelle qui permet le fonctionnement du mécanisme d'entraînement du film et de projection. Cette fabrication est bien le mdèle standard du Nic 500.
 
NIC 500 avec film chargé
Si la particularité précédente n'est pas parfaitement établie, il est constaté que la couleur des appareils a pu légèrement varier du rouge bordeaux au presque noir en passant par des teintes marron.
PR2-NICU-004 (1)
Mais la plus grosse différence concerne les extrémités de l'appareil : elles pouvaient être soit en tôle peinte de la même couleur que le corps, soit être en métal brillant (nickelé), certainement associé à un corps peint de noir brillant.
PR2-NICU-004 (2)
 
 
 




le brevet 1,929,815 a été obtenu le 10 octobre 1933 par Tomas Nicolau y Grino et Jose Maria Nicolau de Barcelone, Espagne. Applicable au 3 février 1932 aux Etats-Unis - et au 25 avril 1931 en Espagne, ce brevet décrit le principe du projecteur NIC, permettant de projeter sur un écran des images animées. On constate que ce brevet se limite au dispositif mécanique permettant la projection alternée d'images dessinées sur une bande de film à deux lignes, mais il ne décrit pas la forme générale de l'appareil.
croquis du volet
principe du film


Films pour les projecteurs NIC 200 et NIC 500 :

1. The Adventures of Billy Bear
2. Jack the Giant Killer
3. Cat and the Fiddle
4. Little Red Riding Hood
5. Hunting in Africa
6. The Circus
7. Buccaneer Billy
8. The Parade of the Pingos
9. Silly Silhouettes
10. The Witch Queen
11. The Sea People
12. The Adventures of Blotto
13. The Ugly Duckling
14. Billy Bear the Trapper
15. Custer's Last Stand
16. Aladdin's Lamp
17. Billy B ear in Blunderland
18. Adventure of Robin Hood
19. Fall of Troy
20. Mysterious Mansion
21. Cowboy Joe
22. Moko the Magician
23. The Air Pirate
24. Galloping Dominoe
25. Thungor the Giant
26. Three Little Pigs
27. Cowboy Joe and the Indians
28. The Pied Piper of Hamelin
29. Hansel and Gretel
30. Sinbad the Sailor
31. Ali Baba and the 40 Thieves
32. Cinderella
33. The Owl and the Pussy Cat
34. The Knockout Kid
35. Life of George Washington
36. Billy Bear the Cowboy
37. Nursery Rhymes
38. Alice in Wonderland 1
39. Alice in Wonderland 2
40. Billy Bear the Detective
41. The Jungle Man
42. Rose Red and Snow White
43. Shoemaker and the Elves
44. The Three Bears and the Goldilocks
45. Sleeping Beauty
46. Golden Touch - King Midas
47. Robinson Crusoe
48. Billy Bear the Champion

Chaque film était vendu 5c. en 1936. Film en noir & blanc - Film en couleurs

Liste aimablement transmise par The Joseph Gineo Collection

 
     

Nic 600 (1936)


Le modèle NIC 600
NIC 600 (+ NIC 500) Hydro APP LA4366 Nic Projector Corp, N.Y.C.
Brevet 1,929,815 déposé le 10 octobre 1933 par Tomas Nicolau y Grino et Josep Maria Nicolau de Barcelone, Espagne
1936 ?
Bande papier à 2 lignes d'images
Métal. Ampoule 25 watts. 110-120 volts
PR2-NICU-005
extrait d'un catalogue de 1936 SEASON'S GREETINGS HUB CYCLE & RADIO CATALOG
Le NIC 600 est le dispositif qui se fixe sur un appareil NIC 500 et qui permet de lire les disques sonores. Le dispositif sonore était vendu $1.00 en 1936, il était nécessaire d'acheter le NIC 500 à $1.00 pour y fixer le complément sonore.
Image publiée avec la permission de The Joseph Gineo Collection




Cet accessoire est beaucoup plus petit que son prédécesseur espagnol, le Suplemento sonoro. En effet sur l'appareil américain le corps du projecteur est utilisé comme caisson sonore tandis que sur les autres appareils c'est la boîte à lumière qui faisait office d'amplificateur sonore (voir le Nic 400 américain ou le Nic Sonoro espagnol de 2ème génération pour lequels le son issu du lecteur sonore est transmis à la caisse par un cornet acoustique).


Films pour Nic 600 :

Chaque film, accompagné d'un disque, était vendu 15c. en 1936

Voir les films pour Nic 400 : ces deux appareils étant similaires, les mêmes films et disques pouvaient être utilisés.

 
     

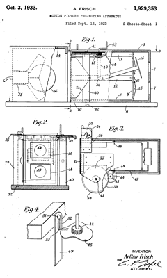
Movie Jecktor (1933)


le Movie Jecktor est apparu en 1933 juste à la suite du NIC 100. Il apparaît en être une version métallique, plus solide et d'une esthétique plus travaillée.



Movie Jecktor ouvert (chargement du film ou changement ampoule)
Movie Jecktor (n° 1500)
The Movie – Jecktor Co. 200 Fifth Ave. N.Y.C.
Brevet 1,929,353 du 3 octobre 1933
1933
Bande papier parchemin à 2 lignes d'images
Métal peint
PR2-JECK-001
  
cm
13
29
14,5



Le boîtier est en métal étamé, décoré en couleur acajou ligné de noir pour imiter les dessins du bois. Le support de lampe est en bakélite.

http://www.system.missouri.edu/spec/martinii.htm

emballage des 6 films de la série 135 "Tarzan"
 
Brevet 1,929,353 du 3 octobre 1933 déposé par l'inventeur Arthur Frisch de Brooklyn et applicable au 14 septembre 1932. Le point majeur mis en avant par le brevet est la forme du réflecteur permettant d'avoir un éclairage uniforme sur les deux rangées d'images.
On le voit donc,
les brevets de ces appareils ne portent pas sur lesprincipes généraux puisque ceux-ci ont été définis par le brevet des Nicolau, mais ils concernent des détails pratiques, des améliorations.

Les projecteurs portent la mention suivante : "Projector patented No. 1.929.353, Film box U.S. Patent Pending. The Movie – Jecktor Co. 200 Fifth Ave. N.Y.C.
 
 
Mécanisme démonté du Jecktor
Vue du mécanisme du Jecktor. L'axe (visible en haut au premier plan) sur lequel vient se fixer une manivelle, permet d'actionner à la fois l'entraînement du film et le système de basculage de l'obturateur. Cet obturateur est une plaque métallique horizontale qui vient occulter alternativement le faisceau lumineux haut et bas. L'ensemble est en tôle mince.
La molette derrière l'axe d'entraînement permet de débrayer le mécanisme soit pour fixer le film ou soit pour le rembobiner.
 
La manivelle noire au-dessus de l'appareil permet de faire avancer le film. La bobine initiale se vide donc lentement et la bobine située sous la manivelle se remplit. En fin de projection il faut rembobiner tout le film sur la bobine initiale. Cette opération est malaisée et peut abîmer le film par déchirure. Aussi le fabricant propose en option une manivelle facilitant le rembobinage du film en toute sécurité : le Film Saver Rewinder.

Celle manivelle s'enclipse surl'appareil pour une meilleure stabilité.
 
Ces deux images permettent de mieux comprendre la mise en place du film. Le film n'est pas extrait de l'emballage cartonné. Ce dernier est glissé dans le support à ouverture carrée. Un axe semblable à une petite pique en bois est introduit dans le trou central de la bobine et enfiché dans le logement ménagé dans la base métallique du support.
La boîte lumineuse est déverrouillée par le petit loquet situé à sa base : la boîte peut alors basculer en arrière. Le film est tiré par sa bande amorce noire. Sur la bobine réceptrice en bois teinté noir un petit clou permet de fixer le film par le trou situé à l'extrémité de la bande amorce. Grace à la molette située au dessus de la bobine réceptrice le film est enroulé jusqu'à ce que la première image soit en position devant la lampe. La boîte est alors remise en place et verrouillée par le loquet de maintien.
La projection peut commencer !
 
   

.

.

.

.

.

.

.

.

.

.

.


Arthur Frisch est un inventeur américain qui a principalement travaillé pour les fabricants de jouets. Son activité principale consernait les poupées jouets Doll, notamment le mécansime des yeux et la reproduction de la voix. Je suppose qu'il a déposé cette demande de brevet plus pour ses connaissances du monde des brevets que sa compétence dans les appareils projecteurs.

.

.

.

.

.

.

.

 
Les films à deux images étaient sur papier parcheminé translucide de 80 mm de large et de plus de 1,30 m de long comportant une trentaine d'images successives. Cette largeur de film est intermédiaire entre celle des films Nic de 1ère génération (10 cm de large) et ceux de 2ème génération (5,5 cm).


Tom Sawyer : Seeking Buried Treasure / © Stephen Slesinger Inc

Films édités pour cet appareil :

Les films pouvaient être achetés à l'unité, ils étaient livrés au revendeur sous forme de boîte contenant 6 films. Les sujets sont typiques du folklore et des héros américains.
Series N° 105 Series N° 110 Series N° 115 Series N° 120 Series N° 125

- Cinderella @1933
- Alice In Wonderland
- The Three Musketeers
- Three Little Pigs, Dandy Films @1933
-
Indian Chiefs of America
-
Alice and the Mad Hatter

- Treasure Island @1933
- Paul Revere @1933
- In Jungle Africa @1933
- Cap't John Smith
- Buffalo Bill
- Hansel and Gretel

- Byrd at the South Pole
- Winslow Of The Navy
- Tail Spin Tommy
- Dan Dunn (Norman Marsh)
- Capt. Ashley M. Kinley With Byrd At The South Pole
- Buck Rogers 25th Century A.D. (Stephen Slesinser)
- Bronco Bill - O'Neill
- Mescal Ike - S. L. Huntley
- Alley Oop
- Lone Cowboy Adventures
- Washtubbs
- Viva Villa

- Freckles and His Friends (Blosser)
- S'matter Pop - C. M. Payne
-
Freckles
-
Ella Cinders and the
 Series N° 130 Series N° 135 Series N° 140 Series N° 145 Series N° 150

- Mutt and Jeff (Bud Fischer)
- Hucklebery Finn
- Out Our Ways (Williams)
-
Our Boarding House
- The Captains and the Kids (Stephen Slesinger)
- Uncle Don
- Benny (Pusey)
- Son of Tarzan
- Tarzan and His Mate
- Tarzan of the Apes
- Jungle Tales of Tarzan
- Tarzan Lord of the Jungle
- Tarzan the Untamed

-
Jungle Tales of Tarzan
-
Jungle Cruise of Tarzan
- Christopher Robin (A.A.Milne)
- When We Were Young
- The King's Breakfast - A. A. Milne
-
Now We Are Six
- The House At Pooh Corner
- Huckleberry Finn Our Gangs Dark Oath
- Huckleberry Finn's Adventures (Mark Twain)
- Huckleberry Finn The Splendid Rescue (Mark Twain)
- Tom Sawyer In The Pirate Crew (Mark Twain)
- Tom Sawyer Seeking Buried Treasure (Mark Twain)
-
Tom Sawyer's Adventures

- Little Red Riding Hood
- Wild Animals
- Mother Goose Songs
- The Alphabet
-
Mother Goose Rhymes
Series N° 155 Sports Series N° 160    Series N° 170 Series N° 175
- This Curious World parts 1 & 2
- Miracles of Sport 1 & 2
- Thurston's Miracles of Magic 1 & 2

- Oliver Twist ( Charles Dickens)
- David Copperfield
- Nicholas Nickleby (Charles Dickens)
- Christmas Carol (Charles Dickens)
- A Tale Of Two Cities (Charles Dickens)
- Dombey And Son (Charles Dickens)
   - Reg'lar Fellers Hiccoughs : Curing the Hiccups (Gene Byrnes)
-
The Big Show
- Tom Mix In The Stagecoach
- Tom Mix In The Cowboy Hero
- Freddie The Football Hero
-
Adventures of Mary And Jack
-
Walt Disney Enterprises @1935 Series N° 5   Series N° 15  

- Flying the Mail
- Shipwrecked
- Going Hunting
- Pioneering
- Dude Ranch
- The Fireman
- Old King Cole
- The Idol Hours Club
- Penguin Club
- The Marathon
- The Sandman
- The Idle Hour Club
- Birds in the Spring
- The Two Bears
- Penguin Land

 
Les films sont fixés sur une bobine en bois, contenue dans un emballage en carton. Les 3 faces du carton sont toujours identiques, la 4ème face ayant changé avec le temps. Ci-contre vous pouvez constater deux versions différentes du même film Huckleberry Finn's Adventures : la première qui est la plus ancienne est personnalisée pour chaque film, ensuite la production industrielle uniformisera l'emballage qui ne sera alors plus différencié que par l'impression du titre.
 




Boîte de films Boîte de films
 

.

Richard E. Byrd (1888 - 1957), aviateur et explorateur américain. Byrd at the South Pole relate les exploits de l'amiral Byrd à la conquête du pôle sud. Byrd y atterrira à bord d'un petit trimoteur une première fois le 28 novembre 1929, il renouvellera plusieurs fois son aventure. Un film de Robert Joseph Flaherty datant de 1930 obtiendra un oscar de l'image.

Richard E. Byrd

Alley Oop est un personnage d'homme préhistorique créé par Vincent T Hamlin (Perry, Iowa 10 mai 1900 - 1993) en 1931. L'année précédente le personnage avit été déjà esquissé sous le nom de Oop the Mighty. Sa véritable histoire en strip a finalement commencé le 5 décembre 1932 dans le Bonnet-Brown Syndicate .
Par un de ses amis, Alley aura l'occasion au gré des images de voyager dans le temps.
Le film destiné au Jecktor ne semble pas avoir été dessiné par Hamelin.

Vincent T Hamlin

Tailspin Tommy est un pilote d'avion crée par Glenn Chaffin (scénariste) et Hal Forrest (dessinateur) le 21 mai 1928 dans le journal Bell Syndicate. La série s'arrêtera en 1942.
Jeune homme passioné d'aviation, Tailspin Tommy passe son brevet et devient pilote pour une petite compagnie du Texas. Il explorera ensuite les Andes, le pôle sud,.... Au mileu des années 1930 Hal Forrest poursuivra seul la série en l'élargissant à des sujets moins conventionnels (rayons laser, avions stratosphériques, avions pilotés par des squelettes ennemis,...).


Mutt & Jeff de Harry Conway "Bud" Fisher (3 avril 1884 - 1954) a été publié la première fois le 15 novembre 1907 dans The San Francisco Chronicle sous le titre "A. Mutt". Le personnage sera suivi jusqu'en 1982.


Christopher Robin de Alan Alexander Milne (18 janvier 1882, Londres - 1956). L'auteur a écrit plusieurs poèmes inspirés par son fils Christopher Robin Milne (21 août 1920, Chelsea - 20 avril 1996).
Il publia également le 24 décembre 1925 sa première histoire de Winnie-the-Pooh (en français Winnie l'Ourson).

     

Dandy Projector (1933)

Le Dandy Projector est également sorti en 1933.

Dandy Projector
The Movie – Jecktor Co. 200 Fifth Ave. N.Y.C.
Brevet 1,929,353 du 3 octobre 1933
~1933
Bande papier à 2 lignes d'images
Métal peint
PR2-DAND-001

La forme générale de l'appareil permet de penser qu'il est une version économique du Movie Jecktor, avec une présentation esthétique moins chatoyante et certainement une fabrication mons soignée. Ceci se constate principalement dans la qualité des films Dandy, ces films étant aujoud'hui généralement très fragilisés et en mauvais état contrairement aux autres productions qui ont mieux résisté au temps.



Le logotype de l'appareil est un amusant singe portant un monocle et fumant une cigarette, ce qui était certainement sensé lui donner une allure de dandy ! L'histoire nous dira peut-être un jour l'origine de cette représentation.

Les films à deux rangées d'images étaient sur papier comme pour tous les projecteurs issus du brevet des frères Nicolau.

In Jungle Africa
@1933 Alice in Wonderland, Down the Rabbit hole @1933
Paul Revere @1933
Cinderella @1933
Adventures of Jocko @1933

Certains des films proposés ne sont pas les mêmes que ceux du Movie Jecktor, il semble donc s'agir d'une collection spécifique au Dandy Projector.

 
     

Talkie Jecktor (1935)


Le Talkie Jecktor apparaît
vers 1935. C'est un appareil Movie-Jecktor sur lequel un gramophone a été adapté. C'est une évolution constante dans tous les projecteurs à images alternés de cette époque.

Talkie Jecktor
The Movie – Jecktor Co. 200 Fifth Ave. N.Y.C.
Brevet 1,929,353 du 3 octobre 1933
~1935
Bande papier à 2 lignes d'images
Métal peint
PR2-JECK-002
 
cm
00
00
00

Le cornet acoustique est en carton, avec les extrémités métalliques. Il sera repris dans le modèle Mickey Mouse Talkie Jecktor. Par contre, le reste de l'appareil Mickey sera nettement différent car ce dernier était un appareil conçu avec le gramophone intégré tandis que le Talkie Jecktor n'était qu'une base de Movie Jecktor au-dessus de laquelle un mécanisme de gramophone était fixé.
On retrouvera ce même principe de gramophone adapté avec le NIC 600 américain, et auparavant par le Suplemento sonoro du Nic espagnol.

Mickey Mouse Talkie-Jecktor Centre d'un disque pour Talkie Jecktor Centre d'un disque pour Talkie Jecktor

Images publiées avec l'autorisation de Jay (peddlerboy)

Disques 78 tours/ minute :

401
- 401B (4058) : Cinderella
407
- 407A (4063) : Tarzan of the Apes
- 407B (4064) : Tarzan and his Mate
 
.
 
     

Mickey Mouse Movie Jecktor (1935)


Le Mickey Mouse Movie Jecktor apparaît vers 1935 sur la base du brevet déposé en 1933 par les deux frères espagnols Nicolau, les inventeurs du projecteur Nic. Comme pour tous les Jecktor, les films sont en papier translucide, avec des dessins en 4 couleurs.
Mickey Mouse Movie Jecktor
The Movie – Jecktor Co. 200 Fifth Ave. N.Y.C.
Brevet 1,929,815 du 10 octobre 1933 déposé par les espagnols Tomas Nicolau y Grino et Jose Maria Nicolau (auteurs du NIC)
~1935 > ~1937
Bande papier à 2 lignes d'images, disques 33t
Métal peint en noir
PR2-JECK-003
 
cm
13
26
15
   
Ce projecteur est produit sous la licence de Walt Disney : les difficultés économiques des années 1930 avaient conduit Walt Disney à proposer à la vente ses droits. Ce fut une excellente affaire puisque dès 1936 Walt Disney faisait plus de bénéfices avec les produits dérivés inspirés de Mickey que sur ses propres films !

Le boîtier en tôle noire à l'esthétique différente du Movie Jecktor annonce le Talkie-Jector.
Copyright marked WD. Ent. and US pat. 1929.
http://members.lycos.nl/cinemat/mickeyjector.jpg
 
Il est amusant de constater que le Mickey Jecktor ne fait plus référence au brevet 1,929,353 du 3 octobre 1933 mais à celui 1,929,815 du 10 octobre 1933 déposé par les Nicolau. Victoire juridique ou sage précaution imposée par Walt Disney ?
   

Emballage de Mickey Jecktor ?



Films pour le Movie Jecktor :

La série originale semble être en boîte emballage orange. Par la suite deux séries noires se sont succédées, une première avec des noms de série et la seconde avec de nouveaux nombres sans nom de série. Les dernières séries mélangeront les références.
La licence Disney avait été attribuée de 1935 à 1937.

Couvercle boîte d'un film 20 Mickey Mouse Presents "The Funny Bunnies"

Chaque série comprend 6 films :

Series 5 Series 10 Series 15 Series 20
Mickey Mouse Presents "Dude Ranch"
Mickey Mouse Presents "
Shipwrecked"
Mickey Mouse Presents "
Flying The Mail"
Mickey Mouse Presents "
The Fireman"
Mickey Mouse Presents "
Going Hunting"
Mickey Mouse Presents "
Pioneering"
Mickey Mouse in "Homerun Mickey"
Mickey Mouse in "The Detective"
Mickey Mouse in "The Haunted House"
Mickey Mouse in "Winning the Derby"
Mickey Mouse in "Going Touring"
Mickey Mouse in "Mickey's Pal Pluto"
Mickey Mouse Presents "Penguin Land"
Mickey Mouse Presents "The Two Bears"
Mickey Mouse Presents "The Sandman"
Mickey Mouse Presents "The Idle Hour Club"
Mickey Mouse Presents "The Marathon"
Mickey Mouse Presents "Birds in the Spring"
Mickey Mouse Presents "The Funny Bunnies"
Mickey Mouse Presents "Old King Cole"
Mickey Mouse Presents "The Three Little Pigs and the Big Bad Wolf"
Mickey Mouse Presents "Ambrose, the Kitten"
Mickey Mouse Presents "The Doll Dance"
Mickey Mouse Presents "Grasshoppers and Ants"
Liste transmise par Rich Andrews

.

.

.

.

La société "The Movie-Jecktor Co" était hébergée à l'adresse 200 Fifth Avenue à New-York. Il est permis de remarquer que le fabricant du projecteur Durotone, la société "Durable Toy and Novelty", se situait à la même adresse ! Mais la surprise ne s'arrête pas là : la société "Nic Projector Corp" elle-même indiquait cette adresse !

.

.

     

Mickey Mouse Talkie Jecktor (1935)


le Mickey Mouse Talkie-Jecktor
Mickey Mouse Talkie Jecktor
The Movie – Jecktor Co. 200 Fifth Ave. N.Y.C.
Brevet 1,929,353 du 3 octobre 1933
1935
Bande papier à 2 lignes d'images, disques 33t
Métal
PR2-JECK-004
 
cm
12
33
13



Publicité http://www.xs4all.nl/~wichm/talkiejecktor.jpg Mickey Mouse Talkie-Jecktor Mickey Mouse Talkie-Jecktor Devant du carton d'emballage

Modèle sans platine ni cornet

Le Talkie Jecktor, le prédécessur du Mickey talkie, était un projecteur ordinaire Movie Jecktor sur lequel une partie gramophone avait été adaptée : l'avancement du film et du disque sonore était obtenu par le mouvement d'une manivelle unique.
Le Mickey Mouse Talkie Jecktor est, quant à lui, bien différent du Mickey Mouse Movie Jecktor, car il a été spécialement étudié et conçu, un moteur mécanique à ressort assure un mouvement régulier aux images et au son, permettant ainsi une meilleure synchronisation. Enfin la construction de l'appareil est renforcée : la base épaisse est bien plus solide, le support du cornet acoustique est mieux étudié, le mécanisme est sérieux avec un entraînement par chaîne, la protection de la partie frontale est amélioée. Cette construction était gage d'une grande solidité, certainement une condition requise ou imposée par Walt Disney afin de préserver son image de marque naissante.

Mécanisme
Images publiées vec l'aimable autorisation de Booksdc.



Cet appareil était produit par Movie Jecktor Co.Inc. à New York.
 
Playthings juillet 1935
La première publicité pour ce projecteur est parue en juillet 1935 dans le catalogue de jouets américain Playthings. C'est cette publicité, qui annonçait l'arrivée imminente de ce nouveau produit, qui permet d'en dater les débuts.

Ce catalogue de 112 pages était réputé pour sa complétude. Il incluait notamment de nombreuses publicités des producteurs de jouets américains.
 
Quelques appareils sont curieusement étiquetés "Mickey Mouse Talkie Jecktor" alors qu'ils ne ressemblent pas à ces appareils : ni le porte-bobine du Talkie Jector, ni la forme du vrai Mickey Mouse Talkie Jecktor... Ils sont même strictement identiques au Mickey Mouse Movie Jecktor !
Erreur d'étiquetage à la fabrication, ou publicité pour le modèle Talkie ? On peut également évoquer l'effet de la production industrielle du boîtier.
 
   




Films :

voir Films pour Mickey Mouse Movie Jecktor
Série noire 5A   Série noire 10A
#5A1 201 Mickey Mouse in: Dude Ranch #10A1 207 Mickey Mouse in: Homerun Mickey
#5A1 202 Mickey Mouse in: Pioneering #10A1 208 Mickey Mouse in: The Detective
#5A2 203 Mickey Mouse in: Going Hunting #10A1 209 Mickey Mouse in: The Haunted House
#5A2 204 Mickey Mouse in: the Fireman #10A1 210 Mickey Mouse in: Winning the Derby
#5A3 205 Mickey Mouse in: Flying The Mail #10A3 211 Mickey Mouse in: Going Touring
#5A3 206 Mickey Mouse in: Shipwrecked #10A3 212 Mickey Mouse in: Mickey's Pal Pluto
Série noire 15A Série noire 20A
#15A1 213   Mickey Mouse Presents Silly Symphony in: Penguin Land #20A1 219   Mickey Mouse Presents Silly Symphony in: The Funny Bunnies
#15A1 214   Mickey Mouse Presents Silly Symphony in: The Two Bears #20A2 220 Mickey Mouse Presents Silly Symphony in: Old King Cole
#15A1 215   Mickey Mouse Presents Silly Symphony in: The Sandman #20A2 221 Mickey Mouse Presents Silly Symphony in: The 3 Little Pigs And The Big Bad Wolf
#15A1 216   Mickey Mouse Presents Silly Symphony in: The Idle Hour Club #20A2 222 Mickey Mouse Presents Silly Symphony in: Ambrose The Kitten
#15A3 217  Mickey Mouse Presents Silly Symphony in: The Marathon  #20A3 223 Mickey Mouse Presents Silly Symphony in: The Doll Dance
#15A1 218   Mickey Mouse Presents Silly Symphony in: Birds In The Spring #20A3 224 Mickey Mouse Presents Silly Symphony in: Grasshoppers and Ants
Série noire   
4041   4051 Three Little Pigs
4042   4052 Buffalo Bill
4043 Viva Villa 4053  
4044 Christopher Robin 4054 Winnie The Pooh
4045 Lone Cowboy 4055 Alice and the Mad Hatter
4046 Huckleberry Finn's 4056 Alice In Wonderland
4047   4057 Little Red Riding Hood
4048 Alphabet In Rhymes 4058 Cinderella
4049   4059 David Copperfield
4050 Mutt and Jeff 4060 Oliver Twist
    4061 Treasure Island
    4062 Tom Sawyer's Adventures
Série orange 5A Série orange 10A
#5A1 267 The Fireman #10A1 297 Homerun Mickey
#5A1 271 Shipwrecked #10A1 To be done
#5A2 269 Dude Ranch #10A2 298 The Haunted House
#5A2 272 Going Hunting #10A2 301 The Detective
#5A3 268 Pioneering #10A3 299 To be done
#5A3 270 Flying The Mail    
Série orange 15A   Série orange 20A
#15A1 Penguin Land #20A1 The Funny Bunnies
#15A1 The Two Bears #20A1 Old King Cole
#15A2 The Sandman #20A2 The Three Little Pigs
#15A2 The Idle Hour Club #20A2 Ambrose The Kitten
#15A3 Birds In The Spring #20A3 The Doll Dance
#15A3 The Marathon #20A3 The Grasshopper And The Ants
Série orange   
6090 Dude Ranch   Homerun Mickey
6091 Flying The Mail   The Haunted House
6092 Winning the Derby   Mickey's Pal Pluto
6093 Penguin Land   The Two Bears
6094 The Sandman   Funny Bunnies
6095 The Idle Hours Club   Birds In The Spring
       
Disques (en anglais "Records")
- Side 1- Mickey Mouse in: Pioneering #5A1 202, Side2- Mickey Mouse the Fireman # 5A2 204
- Side 1- Mickey Mouse in: Going Hunting #5A2 203, Side2- Mickey Mouse in: Shipwrecked #5A3 206
- Side 1- Mickey Mouse Presents Silly Symphony in: Ambrose The Kitten #20A2 222, Side 2- Mickey Mouse Presents Silly Symphony in: The Doll Dance #20A3 223
- Side 1- Mickey Mouse Presents Silly Symphony in: Old King Cole #20A1 220, Side 2- Mickey Mouse Presents Silly Symphony in: The Marathon #15A3 217
- Side 1- Mickey Mouse Presents Silly Symphony in: Grasshoppers and Ants #20A3 224, Side 2- Mickey Mouse Presents Silly Symphony in: The 3 Little Pigs And The Big Bad Wolf #20A2 221

avec l'autorisation de booksdc@starpower.net avec l'autorisation de booksdc@starpower.net

.

.

.

.

.

     

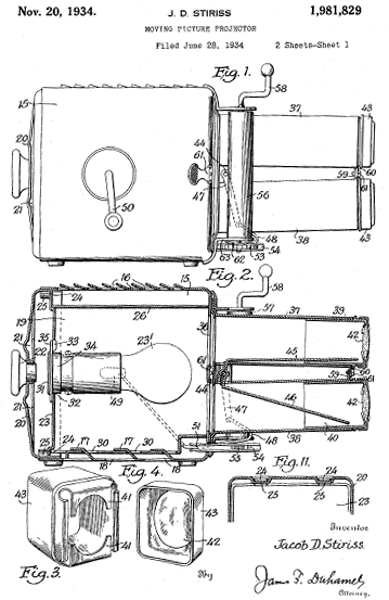
Uncle Sam's (Durotone) Movie Projector 400 (1934)


le Uncle Sam's Movie Projector Durotone n°400 de 1934 était produit par Uncle Sam's Register Bank Co.(Durotone) 200 Fifth Avenue . New-York

Uncle Sam's Movie Projector (n°400) Durotone (Durable Toy and Novelty), 200 Fifth Avenue . New-York
Brevet 1,963,454 du 19 juin 1934 et brevet 1,963,455 également du 19 juin 1934
1934
Bande papier à 2 lignes d'images
Métallique
PR2-USAM-001
& PR2-USAM-002
cm
13
28
11



La proximité entre les fabricants Durotone et Nic Corp permet de constater qu'ils avaient utilisé un mode de numérotation très similaire pour leurs différents appareils.

 
Sur ce premier modèle, un plus simple obturateur bombé est fixé sur la manivelle afin de dissimuler le trou permettant le passage de l'axe. Ce modèle est le premier apparu en 1934.
PR2-USAM-001
 
Uncle Sam's projector : 2ème modèle ~1935 Logotype du 2ème modèle dUncle Sam's projector
Sur ce deuxième modèle, on peut remarquer que sur la manivelle est fixé un disque large. Ce disque n'a en fait d'utilité que sur le Talkie System puisque sur cette configuration il permet l'entraînement du tourne disque. Ce modèle, datant d'environ 1935, était donc prêt à accueillir le dispositif sonore Durotone Sound System .
PR2-USAM-002
 
 
 Brevet 1,963,454 du 19 juin 1934 (applicable au 30 décembre 1932) et brevet 1,963,455 également du 19 juin 1934 (applicable au 14 mars 1933) déposés par Jacob D. Stiriss pour Durable Toy Novelty Company, New-York. Ils se différencient notamment par le système d'entraînement des films.
Un dernier brevet 1,981,829 du 20 novembre 1934 apportera des améliorations définitives au boîtier de la lampe. La forme du premier modèle est ainsi fixée. La manivelle ne comporte encore pas le disque qui servira à entraîner le plateau du modèle sonore.
 
Cette vue permet de mieux comprendre le fonctionnement du projecteur :
- entraîné par la manivelle, le mécanisme n°1 entraîne à la fois le cliquet n°2 et les volets n°3.
- le cliquet n°2 à chaque tour de manivelle fait avancer la roue crantée d'un cran, donc de 1/17éme de tour la bobine réceptrice du film.
- en un tour de manivelle les deux volets n°3 symétriques montent et descendent en parallèle une fois. En position haute, le volet du haut bouche le faisceau lumineux tandis que le volet bas laisse passer la lumière, et inversement pour les volets en position basse . En position médiane les deux volets laissent passer une partie de la lumière assurant ainsi une transition plus douce entre les deux images.
 
La convergence des deux images, afin que les deux scènes projetées se superposent parfaitement, est obtenu par l'écartement entre les deux objectifs : une cale située à l'extrémité est plus mince que l'écartement à la base de ces objectifs. Ce dispositif ne peut être ajusté.
 


Emballage Couvercle d'une boîte de films pour Uncle Sam's projector


L'objectif lumineux (le fabricant indique une "ouverture F5") permettait de projeter une image jusqu'à la dimension de 45 x 40 cm. Cette puissance lumineuse (bien plus forte que celle des Dux allemands par exemple) était en fait fortement absorbée par l'opacité du papier des films projetés. Le résultat obtenu est ainsi finalement très similaire !
Les pièces métalliques sont nickelées, le corps de l'appareil est recouvert d'une peinture imitant la peau granitée de lézard. L'appareil était vendu $2.50 en 1936.

L'appareil pouvait être équipé d'un trépied pour être utilsé en traceur.

Jecktor monté sur son trépied Gros plan du logotype Appareil sur pied (avec l'autorisation de http://njauction.com
Troisième image (appareil sur pied) avec l'autorisation de NJ Auction

 
Gros plan du couvercle d'une boîte de films pour Uncle Sam's projector
Le projecteur était habituellement destiné à projeter des images sur un mur. Mais il pouvait de plus servir d'appareil à copier les images ("traceur" : movie tracer) : en projetant une image sur une feuille de papier, il était alors facile de redessiner le sujet. L'appareil étant mis en position verticale, il projetait l'image sur une feuille de papier. L'enfant pouvait alors dessiner les contours sur la feuille et ainsi reproduire l'image projetée.
Un kit avait été produit pour accompagner la fonction traceur du Uncle Sam's Movie Projector : contenu dans une boîte cet ensemble d'accessoires facilitait l'utilisation de l'appareil. Je ne connais pas le contenu exact du kit : écran de projection style théâtre, boîte de rangement, feuilles de papier, crayons. L'image contenue dans la boîte informe sur son utilisation.
Badge du Club
Image (badge) avec l'autorisation de J.Haines
Vers 1934 la société Durotone a créé un club afin d'assurer la promotion des films. Ce badge officiel pouvait s'accrocher aux vêtements par une épingle de sureté fixée à l'arrière du badge. Je ne sais pas le succès remporté par ce club, mais le badge assez facile à trouver montre qu'il a été largement diffusé.
 



Films pour projecteur Durotone. Voir également le modèle distribué au Royaume Uni.

 
     

Uncle Sam's (Durotone) Movie Projector 410 (1935)


le Durotone Talkie System est une version sonorisée du Uncle Sam Durotone. Le système sonore référencé "Sound 405" s'adapte sur le projecteur simple "Movie 400", l'ensemble étant ainsi dénomé "Talkie 410".
Uncle Sam's Movie Projector (n°410) Durotone (Durable Toy and Novelty), 200 Fifth Avenue . New-York
Brevet 1,963,454 du 19 juin 1934 et brevet 1,963,455 également du 19 juin 1934
~1935
Bande papier à 2 lignes d'images
Métallique. Movie 400 + Sound 405 = Talkie 410.
PR2-USAM-003
cm
23
31
17



 
vue du mécanisme d'entraînement
Le mécanisme d'entraînement du plateau du disque est assez sommaire : comme montrée dans la contruction du Movie Projector, une pièce ronde adaptée sur la manivelle actionne une roue qui elle-même fait tourner le plateau. Cette roue comporte à sa périphérie un anneau caoutchouté pour mieux agripper sur les deux autres pièces.
La partie "gramophone" était également d'une construction simple : l'aiguille de lecture est reliée à un caisson permettant d'amplifier le son. Cet ensemble, assez lourd et fragile, ne permettait pas d'obtenir une restitution sonore de bonne qualité. Il devait certainement abîmer la surface des disques sonores.
 

Notice de l'appareil distribué au Royaume Uni. Extrait d'un catalogue de 1936 SEASON'S GREETINGS HUB CYCLE & RADIO CATALOG

Il fut fabriqué vers 1934 par Durable Toy and Novelty à New-York. Le son produit par le petit gramophone était réputé pour être de piètre qualité.



L'ensemble référencé 410 est constitué par un projecteur Uncle Sam's Movie Projector400 ($2.50 en 1936) sur lequel est facilement adapté un dispositif sonore Durotone Sound System N° 405 ($1.00 en 1936). Les aiguillles du phonographe étaient référencées N°420 (10C. le paquet de 100 en 1936).

Une boîte cadeau a également été distribué sous la référence N°427 : la boîte contenait le projecteur, le dispositif sonore, un set de 6 films, 3 disques sonores er un lot d'aiguilles pour le gramophone.

.

.

Durable Toy & Novelty était réputée pour ses jouets en tôle de fer blanc : jeu de la marchande (Grocery Store), pinball (Popeye Menu Pinball, Lucky Star Pinball), caisses enregistreuses (Uncle Sam's 3 Coin Cash Register Toy Bank)
Adresses:
8 Morris St., Paterson NJ USA
215 Fourth Ave., New York NY USA
Le siège était à New-York mais la production était principalement à Cleveland. L'entreprise fonctionnera de 1907 à 1958, avant d'être rachetée par la société Western Stamping Company du Michigan.

 
Films Duracolor pour projecteurs Uncle Sam.

couvercle d'une boîte de 10 films

Les films étaient vendus sous la forme de sets contenant 6 films et 3 disques (vendus l'ensemble à $1.05 en 1936) ou 6 films et 2 disques (vendus à $.90 en 1936).
Les films pouvaient être vendus individuellement à 10c. l'un et les disques à 15c. l'un (ou 45c. le lot de 3 disques d'un même set).
Set 110 - Record R113A
Certaines séries (série 120) étaient produites sous la supervision des Ted Eshbaugh Studios.


Emballage individuel d'une bobine de film Duracolor Duracolor Animated Films for Uncle Sam's Movie Projector
Emballage individuel d'une bobine de film Duracolor
Set N°50 - Popeye
Couvercle d'un lot de films Duracolor
Set N°60 - Scrappy
Couvercle d'un lot de films Duracolor
Film Record   Film Record  
F-51 R-51 A Dream Walking F-61 R-61 Holiday Land
F-52 " The Man on The Flying Trapeze F-62 " Scroopy's Birthday Party
F-53 R-53 Love's Labor Won F-63 R-63 Toy Shop 1
F-54 " Desert Isle F-64 " Toy Shop 2
F-55 R-55 The Hero F-65 R-65 Babes in the Woods 1
F-56 " The Duck Hunt F-66 " Babes in the Woods 1

.

Set N°70 - Tom Mix Set N°80 - Betty Boop
Couvercle d'un lot de films Duracolor
Film Record   Film Record  
F-71 *** To the Rescue F-81 R-81 Peter and Wendy
F-72   Cut-Outs for Circus F-82 " She Loves Him Not
F-73 R-73 Circus 1 F-83 R-83 Cinderella
F-74 " Circus 2 F-84 " The Bullfighter
F-75 R-75 Rustlers 1 F-85 R-85 Beauty and the Beast
F-76 " Rustlers 2 F-86 " In Holland

.

Set N°90 - Colleen Moore's Doll HouseCouvercle d'un lot de films Duracolor Set N°100 - Famous Artists Characters
Couvercle d'un lot de films Duracolor
Film Record   Film Record  
F-91 R-91 Collen Moore's Enchanted Castle 1 F-101 R-101 Joe Palooka in the Brantford Fight
F-92   Collen Moore's Enchanted Castle 2 F-102 " Winnie Winkle in Detective W-13
F-93 R-93 Bobby and Jeanne's visit the Enchanted Castle 1 F-103 R-103 Orphan Annie in The Fight for Annie
F-94 " Bobby and Jeanne's visit the Enchanted Castle 2 F-104 " Harold Tenn in No Hats Off
F-95 *** How to make the Enchanted Castle F-105 R-105 The Gumps - Hiawatha's Lullaby
F-96 " How to make the Rooms of the Enchanted Castle F-106 " Smitty & Herby in Western Rodeo

.

Set N°110 - Famous Artists Characters Set N°120 - Fairyland Tales
Film Record   Film Record  
F-111 R-111 Dick Tracy in Catch That Thief F-121 R-121 The Tortoise and the Hare
F-112   Dick Tracy in The Mystery Doctor F-122 " Pied Piper of Hamelin
F-113 R-113 Jackie Cooper in Treasure Island 1 F-123 R-123 A Visit to Santa Claus
F-114 " Jackie Cooper in Treasure Island 2 F-124 " Three Little Pigs
F-115 R-115 Moon Mullins in Ali Baba and the Four Thieves 1 F-125 R-125 Mary Had a Little Lamb
F-116 " Moon Mullins in Ali Baba and the Four Thieves 2 F-126 " Pirates Bold

.

Set N°130 - Fairyland Tales  
Film Record        
F-131 R-131 Punch & Judy      
F-132   Alice in Wonderland      
F-133 R-133 Little Red Riding Hood      
F-134 " Humpty Dumpty      
F-135 R-135 Hansel & Gretel      
F-136 " Jack and the Beanstalk      

.

Moon Mullins, personnage créé par Frank Henry Willard (1893 - 1958), est apparu la première fois dans le journal Chicago Tribune Syndicate le 9 juin 1923. Moon est l'abbréviation de Moonshine, ce qui signifie alcoolique, surnom amusant en pleine période de prohibition. Le personnage fut progressivement dessiné par Ferd Johnson (1905 - 1996) qui le pris entièrement à son compte après la mort de Frank Willard et jusqu'en 1991.


Smitty imaginé par Walter Berndt (Brooklyn, 22 novembre 1899 - 1980), est apparu dans le The Chicago Tribune du 27 novembre 1922. Garçon de bureau, Smitty fut rejoint à partir de 1930 par son jeune frère Herby.


Winnie Winkle the Breadwinner est apparue la première fois le 20 décembre 1920 dans le Chicago Tribune Syndicate sous la plume de son créateur Martin Branner (28 décembre 1888 - 19 mai 1970). Personnage de jeune fille, elle sera reprise par Max Van Bibber jusqu'en 1996.

Ted Eshbaugh (5 février 1906, Des Moines, Iowa, USA - 4 juillet 1969 à New-York, New-York, USA) a notamment produit The Wizard of Oz (Le Magicien d'Oz) en 1933 et dirigé The Sunshine Makers en 1935. Créateur des pesonnages Gabby Goat (en 1937) et Cap'n Cub (en 1943).
     

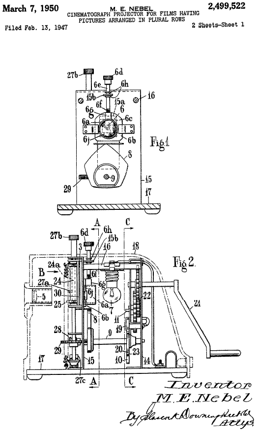
Disney-Land Projector (1950)


le Disney-Land Projector
Disney-Land Projector
Mavco Inc., 14-40 33rd Ave., Long Island City 6, N.Y.
Brevet 2,499,522 délivré le 7 mars 1950 avec application au 13 février 1947
~1950
Film 35mm, à 4 lignes d'images
En matière plastique, type bakélite
PR2-DISN-001
cm
13
11,5
7
Cet appareil est la version américaine du Minicine Disneyland Movie anglais, il était produit par Mavco Inc., N.Y.C. vers 1950. Sa construction est assez différente du modèle anglais : boîtier en matière synthétique, forme générale originale avec une bosse ronde imitant une bobine de film, une seule molette de réglage et un transformateur électrique imposant.

http://members.lycos.nl/cinemat/disneyproj.jpg Bon d'enregistrement de la garantie

Couverture du mode d'emploi Couverture du mode d'emploi
Comme pour le Minicine les films étaient à 4 images superposées. Ainsi que l'indique le nom du projecteur, les films étaient essentiellement inspirés des personnages de Walt Disney.
Mavco Inc, 14-40 33rd Ave. Long Island City 6, NY
 
La notice du projecteur permet de mieux comprendre l'appareil:
- la bobine de film sur le haut de l'appareil est purement décorative.
- les réglages de l'appareil sont identiques au modèle original anglais (voir la notice du Minicine)
Le projecteur était livré avec un transformateur permettant de le faire fonctionner économiquement sur le secteur électrique. Les bornes de raccordement étaient apparentes, bien que la tension fournie soit sans réel danger.
 
Brevet 2,499,522
Le principe mécanique du projecteur pour films à plusieurs rangées d'image a été breveté aux Etats-Unis sous le numéro 2,499,522 le 16 mars 1950 avec effet au 13 février 1947. Son auteur, Miguel Enrique Nebel a déposé le même brevet dans plusieurs autres pays, dont le Royaume-Uni en 1946 (le Minicine)
 

Côté de la boîte d'emballage


Films. Premiers films Mavcolor distribués aux Etats-Unis:

3 films Mavcolor

1 - Snow White and the Seven Darfs
2 - Donald Duck and his Nephews
3 - Mickey Mouse Never Fails
4 - Mickey Mouse's Circus
5 - Goofy the Sportman
6 - Bambi
7 - Pinocchio
8 - Pecos Bill
9 - Three Little Pigs
10 - Life of Donald Duck
 
     

Hollywood Toy Television (1952)


le Hollywood Toy Television est un appareil projetant des films à 2 images alternées.
Hollywood Toy Television (TV-49) Hollywood Toy Television Corp., 1225 South Talman ave., Chicago 8, Illinois
Brevet 1,963,454 du 19 juin 1934 et brevet 1,963,455 également du 19 juin 1934 (Durable Toy)
1952
16mm à 2 lignes d'images
Plastique
PR2-HOLW-001
cm
18
25
13,5



Il existe également d'autres  o'clock programm.  

Il utilise donc des bandes 16mm avec animation simple à deux images. Il était produit par Hollywood Toy Television Corp., Chicago en 1952. Plusieurs versions de séries d'images, les programmes, ont été publiées : 4 o'clock program, 5 o'clock program, 6 o'clock program. Ces dénominations sont inspirées par les heures de diffusion des programmes télévisés qui sont les sources des images. Faute de la technologie du magnétoscope, cet appareil permettait alors de visionner une nouvelle fois les émissions diffusées à la télévision, ceci sur un appareil rappelant la forme d'un téléviseur
Le bouton situé en façade permet d'allumer la lampe et de lancer le moteur d'entraînement du film.

Le 17 mai 1949, une demande de brevet était déposée en Espagne. Cette demande concernait un appareil cinématographique, un jouet en forme de télévision. Cette esthétique nouvelle, de conception permettant la production industrielle, était le principe essentiel du brevet.
L'auteur de cette demande est Miguel Enrique Nebel Alvarez, le créateur du Minicine anglais .
Ce principe de modèle industriel sera accordé le 8 octobre 1949 sous le numéro espagnol 16.782 .
Je ne sais pas si la même demande a été déposée aux Etats-Unis, mais c'est bien ce modèle de forme qui a été choisi pour le Hollywood Toy Television.

.

Jouet Mavco
 
 

Films pour le Hollywood Toy Television

 Bandes de films pour le Hollywood Toy Television : ces films sont produits par Walter Lanz. Ils étaient principalement distribués par Gaines "Sixteen" Film. Chaque "programme" contient 5 bandes 16mm.
Chaque strip, bande de film 16 mm, comporte deux rangées d'images superposées permettant par projection alternée, la création d'une animation simple.

Images des trois programmes aimablement transmises par Francisco Boisset
 
Four o'clock program :
1 Gene Autry : Sheriff Gene Autry
2 Hopalong Cassidy : The Stagecoach Fight
3 Woody Woddpecker : The Carpenter
4 Andy Panda : At the Circus
5 Super-Duper Duck Saves the City


 
Five o'clock program :
1 Gene Autry : The Rustlers
2 Gene Autry : The Ghost Readers
3 Woody Woddpecker Wins the Duel
4 Oswald Rabbit : The Carrots
5 Homer Pigeon : Homer Pigeon's Picnic
 
Six o'clock program :
1 Hopalong Cassidy : Dead Gulch City
2 Woody Woddpecker Beat Wally Walrus
3 Hopalong Cassidy Catches Jesse James
4 Hopalong Cassidy Stops the Stumpede
5 Super-Duper Duck : The Lilliputians
 

.

.

Little Orphan Annie a été créée le 5 août 1924 par Harold Gray (Kankakee, Illinois, 20 janvier 1894 - La Jolla, California, 9 mai 1968) dans le Chicago Tribune. . Le dessinateur avait en fait créé un premier personnage, Otto, mais s'apercevant qu'il n'existait pas de personnage féminin dans les Comic Strips il changea son personnage en Annie.
Little Orphan Annie (la petite Annie orpheline) est le titre d'un poème de James Whitcomb Riley (7 octobre 184 9 -22 juillet 1916 ) publié en 1885.
Annie survivra à la disparition de son auteur sous la plume plus ou moins talentueuse de plusieurs dessinateurs jusqu'à nos jours.
Voir l'excellente étude en français du personnage
The Little Orphan Annie

Harold Teen est apparu la première fois dans le Chicago Tribune du 14 mai 1919 sous la plume de Carl Ed (Carl Frank Ludwig Ed; 1890 - 10 octobre 1959). Le titre de l'histoire était alors The Love Life of Harold Teen , il se simplifiera par Harold Teen.

Joe Palooka personnage de boxeur imaginé en 1920 par Ham Fisher (Hammond Edward Fisher ; Wilkes-Barre, Pennsylvania, 1901 - Madison avenue, New-York, 27 décembre 1955) mais publié seulement à partir de 1928

Gasoline Alley est apparu pour la première fois le 24 novembre 1918 dans le Chicago Tribune sous la plume de Franck King (Toma, Wisconsin, 1883 - Chicago, 24 juin 1969). Le personnage de Skeezix, héros principal, sera ensuite repris par Dick Moores, Jim Scancarelli puis enfin Bill Perry. Family Tree of Gasoline Alley

The Three Stooges ont été les personnages récurrents de 174 courts métrages humoristiques de 1934 à 1958.


Humpty Dumpty est un des personnages des contes Mother Goose Fairy Tales. Cette histoire raconte la vie et la mort d'un oeuf . On retrouvera le personnage dans Alice aux Pays des Merveilles.
Les contes de Mother Goose étaient inspirés de Charles Perrault (1628-1703), Contes de ma mère l'Oye.


Lone Ranger est un personnage de cowboy masqué créé sur une radio locale en 1933. Il sera ensuite largement repris, tant en bandes dessinées qu'en films ou séries TV.


Hopalong Cassidy est un des plus célèbres personnages de cowboy américain, créé par Clarence E. Mulford en 1907 (ce héros sera ainsi repris dans 28 nouvelles publiées de 1907 à 1941). droits détenus par la U. S. Television Office, Inc. Ce personnage sera repris sous toutes formes telles que le cinéma (65 films, dès 1935), la radio (du 1er janvier 1950 au 15 mars 1952 sur Radio of Yesteryear), la télévision (en 1950, puis à partir de 1952 sur NBC Television Network), les livres et bandes dessinées.


Pecos Bill est encore un autre personnage célèbre de cowboy du folklore américain (il s'installera également en Argentine) : enfant tombé d'un chariot près du fleuve Pecos, il sera élevé par des coyotes. Son image restera attachée à son invention du lasso qui lui permettra de chevaucher un cyclone. Si son histoire date des années 1830, le personnage sera complété en octobre 1923 par Edward O'Reilly pour The Century Magazine, puis popularisé par Iowa lawyer Harold W. Felton.

Périodique allemand

The Gumps est né en 1917 de l'imagination de Captain Joseph M. Patterson du Chicago Tribune, la série était dessinée par Sidney Smith (1877-1935) puis Gus Edson, et parut la première fois le 12 février 1917. Elle raconte l'histoire d'une famille ordinaire, Andy Gump, sa femme Min, leur fils Chester, Uncle Bim, et Tilda, la servante. Elle sera la première série dessinée adaptée à la radio (Chicago station WGN, 1931). Sa publication cessera par une dernière édition le 17 octobre 1959.


Smokey Stover est la principale création de William (Bill) Holman (Crawfordsville, Indiana, 22 mars 1903 - 1987). Ce personnage de pompier est apparu la première fois le 10 mars 1935 dans le journal New York News-Chicago Tribune et se terminera en 1973. Il sera repris dans les journaux du monde entier (voir ci-contre un exemple français). Il se caractérise par quelques expressions verbales telles que "Foo" (par exemple dans sa phrase favorite "Where there's foo there's fire"), "Notary Sojac" et "1506 Nix Nix".
Les autres personnages de la série sont Chief Cash U. Nutt son chef, Cookie son épouse et Earl son fils. En France, Smokey Stover sera appelé Popol, "le joyeux pompier".

Bill Holman

Homer Pigeon est le personnage principal de Pigeon Patrol, un dessin animé de long métrage produit par Walter Lanz en 1942. Un deuxième film sortira en 1956, Pigeon Holed.

     
mise à jour le dimanche 19 avril, 2009 /// http://project.mettavant.fr/
Selic, Jecktor, Minicine, toy, projector, viewer, Dux, Nic, vintage, projecteur, projektor, proiettore, proyector