ALLEMAGNE


En Allemagne, les projecteurs à images alternées apparaissent au travers du Kino Nic, une copie (illégale) du modèle espagnol des frères Nicolau, mais ils prennent tout leur essor sur les bases du brevet de Mario Sassoli avec le Dux qui s'est continûment amélioré depuis le Dux MM en 1935, le Dux modèle 3 en 1938 suivi du Dux 40 en 1948 et le Dux 44 en 1952. La série se parachèvera par le modèle Duxinette en 1952 et, technologie domestique imposant, vers 1958 le Dux TV 35 qui deviendra le Dux TV35 M musical vers 1965. L'ex Allemagne de l'Est s'était elle-même essayée en 1954 dans un modèle original au mécanisme inspiré du Dux, le Liliput .

Le principe du Dux sera largement diffusé dans d'autres pays : l'esthétique se reconnaitra ainsi dans le Baby Movie et le Dux Cine au Royaume Uni, le Dux Kino Trixine en Suisse, les Egda et Sélic en France,...

Fabricant
Appareils
Films
Remarque
Nombre
images
Support
Longueur
cm
Dux Kino Nic
2
Papier

Copie illégale du Nic
Dux Kino

Dux MM
Dux 3
Dux 40
Dux 44
Duxinette
Dux TV35
Dux TV35 M

2
Film

Brevet Sassoli
Brevet Markes
Zeiss Liliput
2
Film
   

Sur Wikipedia un article complet de Matthias Schwarz sur la gamme des projecteurs Dux Kino, avec quelques images et la liste des films. Wikipedia_Dux_Kino.
 
     

KINO NIC (1932)

le Kino NIC est très certainement apparu vers 1932. Les spécialistes des projecteurs espagnols ont souvent signalé l'existance d'une copie illégale du Nic espagnol en Allemagne. On peut ainsi utilement se rapporter à l'intéressant article de Jordi Artigas publié par Heeza.
Kino Nic
Dux
Copie illégale
1932
 
Film papier
Carton et métal
PR2-KNIC-001
  
cm
x
x
x


Images aimablement transmises par Francisco Boisset.

Il est construit sur les principes espagnols du Cine Nic 1ère époque à base métallique. Sa construction ressemble beaucoup à l'un des modèles italiens, le Topolino sonore (même façade, même patte de fixation au-dessus de l'objectif pour y attacher le gramophone).

Cet appareil est rare. Deux raisons peuvent être proposées :
- le caractère illégal de cette production, faite sans l'accord des auteurs du brevet et du nom de marque, a certainement du être arrêtée afin d'éviter des poursuites judiciaires.
- l'appareil a rapidement été supplanté par les Dux Kino, des appareils plus petits, robustes, et surtout beaucoup plus simples à utiliser (fonctionnement à pile, films faciles à mettre en place).
Il est donc probable que cet appareil fut rapidement abandonné, et sa fin accélérée par l'absence de films en langue allemande.

Le brevet 594393 de Tomàs Nicolau y Grino et Jose Maria Nicolau y Grino a été déposé en Allemagne le 1er mars 1934 et est applicable à la date du 1er octobre 1931, il fait référence au brevet original espagnol du 25 avril 1931.
Ce brevet est plus limité que ceux déposés dans les autres pays, il concerne plus particulièrement le mécanisme permettant d'obturer alternativement les faisceaux lumineux. Mais il ne décrit pas les films ou l'appareil complet.
.

     

DUX KINO MM (1935)

le Dux Kino MM est apparu à partir de 1935.
Dux Kino MM
Markes & Co, K.-G., Lüdenscheid i, Westfal.
Brevet 650 910 du 5 octobre 1937, applicable au 4 avril 1935
1935

Film 35mm à 2 bandes d'images
Bakélite rouge
PR2-DUXD-001
  
cm
9
12,5
7


Ensemble Dux Kino MM Torsten  - Dux Kino MM couvercle enlevé Torsten (publicité) Dux Kino MM couvercle enlevé Couvercle de la boîte du Dux Kino MM Boîte de films pour Dux MM

Il était produit par Markes & Co, K.-G., Lüdenscheid i, Westfal. , fabrique d'objets métalliques. Le dessus de l'appareil était orné d'un motif en relief représentant Betty Boop (ce dessin perdurera sur le Kino 3 et sera remplacé sur le Kino 40 par une hirondelle ; on retrouvera cette même image également sur les boîtes des Ciné Egda et Ciné Sélic français).

 
Etonnant ! Le brevet du Dux Kino MM a été obtenu le 16 septembre 1937 par ... un italien, Mario Sassoli ! Habitant 22 via Monte Napoleone à Milan, cet auteur se montrera prolixe. En 1948 l'office des brevets notera sur ce brevet que sa nouvelle résidence est en Argentine.
Le même brevet sera également déposé en France, au Royaume-Uni et aux Etats-Unis.
Le brevet a été demandé à Berlin le 4 avril 1935. Il ne sra accordé que le 16 septembre 1937, délai long pour lune validation. Ce brevet n° 650 910 est toutefois applicable à la date du dépôt de la demande.
 


Le catalogue des films destinés au Kino MM présentait 65 titres. La projection de chaque film durait environ 5 minutes. Ces films se dintinguent des films du Nic car ils sont fabriqués à partir de pellicule photographique et non pas imprimés sur papier translucide. Ainsi comme ils étaient beaucoup plus transparents, ils pouvaient se satisfaire de l'éclairage plus faible fourni par les petites ampoules de lampe de poche.
Un des dessinateurs de ces films était le fameux dessinateur italien Galep qui avait été recruté par l'inventeur italien du projecteur.

 
Extrait de la notice du Dux Kino MM
Un adaptateur (ayant la forme d'une pile plate) permettait de le faire fonctionner plus économiquement sur le secteur. Tous les projecteurs Dux comportent sur le devant de la base de l'appareil une échancrure permettant le passage du cordon secteur de l'adaptateur. L'alimentation électrique sur le secteur se justifie d'autant sur les appareils qui ont suivi car les deux ampoules sont allumées en permanence. Sur le Dux MM les ampoules sont alimentées en alternance.
  Extrait de la notice d'utilisation du Dux Kino
 
Emballage froissé d'un écran pour Dux MM
Un écran de projection était vendu séparément. Cet écran comporte une face brillante, aluminisée.

(Die Vorführwand ist in einer solchen Entfernung vom Kino aufzustellen, dass sich das projezierte Bild genau mit der Aluminiumfläche überdeckt. Die richtige Entfernung beträgt etwa 85 cm. = L'écran de projection doit être tenu à une distance du projecteur telle que l'image projetée couvre précisément la surface aluminisée. La distance correcte est d'environ 85 cm.)
 
Etonnante et rare version noire du Dux MM.
Autre couleur peu commune : le vert. Cette couleur ne sera plus ensuite reprise en Allemagne, cependant on la retrouvera sur le modèle français Ciné Sélic 3 .
 
Boîte Sélic France
L'image symbolique de la première période de production des projecteur Dux, c'est Betty Boop. C'est plus exactement ainsi qu'avait été baptisé le personnage dessiné en relief sur les appareils, ceux allemands mais aussi anglais (image ci-contre) ou français : le personnage Dux a les joues plus joufflues et des cheveux plus courts que son modèle. Son corps est composé des deux lettres MM superposées.
 

L'entreprise Markes & Co a été fondée en 1904 par Carl Markes dans la ville de Lüdenscheid (Westfalen). Installée dans un premier temps dans des locaux loués, l'entreprise était spécialisée dans la production d'objets métalliques. Elle diversifiera sa production dans le domaine du jouet, d'abord en 1916 par la commercialisation de jeux de construction, puis des objets en tôle (automobiles, avion), en 1941 l'apparition des boîtes de construction (similaire au Meccano). La matière plastique sera utilisée à partir de 1962 ("Dux Tecnic").

Couvercle de boîte Auto-Dux, modèle 730
 
 
Si l'entreprise existe toujours en 2006, Markes a arrêter sa production de jouets en 1981.

 
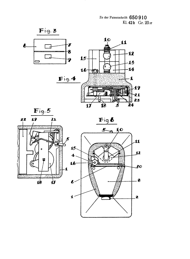
Texte original du brevet 650 910

PATENTSCHRIFT : Bildwerfer
Die Erfindung betrifft einen Bildwerfer mit zwei über- oder nebeneinanderliegenden, Projektionseinrichtungen zur Vorführung von Bildstreifen mit zwei waage- oder senkrech ten Bildreiben, bei dem zwangsläufig durch einen Antrieb die abwechselnde- Projektion der über- oder nebeneinanderliegenden Bilder durch wechsielweises Aufleuchten der Projek tionslampen und die Fortschaltung des Bild streifens bewirkt wird. Die. Weiterschaltung des Bildhandeserfolgt bei den bekanntenEin- richtungen dieser Art intermittierend.

Es sind ferner Vorriclitungen für die Pro jektion von kontinuierlich bewegten Bildstriei- fen mit zwei Bildreihen bereits bekannt. Bei diesen jedoch erfolgt die abwechselnde Pro jektion der Bilder der beiden Reihen durch abwechselndes Auf- und Zudecken der einen oder anderen der den beiden Bildreihen ent sprechenden Projektionsöffnungen.

Demgegenüber besteht die Erfindung darin, dass ein Federwerk mittels zweier auf einer von ihm gedrehten Welle in Drehrichtung versetzt angeordneter Kontaktplättchien pieri- odisc'h die abwechselnde Einschaltung der Lichtquellen der beiden Projektionsvorrich tungen steuert, währendes kontinuierlich mit tels einer gezahnten Scheibe den Bildstreifen vor den Projektionsöffnungen vorbeiführt.

Der Bildwerfer nach der Erfindung zeich net sich durch die zweckmässige und einfache Art aus, mit welcher die abwechselnde Schal- tung der Lichtquellen sowie die kontinuier liche Fortschaltung der Bildstreifen erreicht wird.

Die in der Drehrichtung versetzte Anord nung von zwei Kontaktplättchen auf einer von der Antriebsvorrichtung (Federwerk) ge drehten Welle, durch die periodisch die ab wechselnde Einschaltung der beiden Licht- qu#ellen und gleichzeitig die kontinuierliche Fortbewegung des Bildstreifens mittels eines ebenfalls vom genannten Federwerk angetrie- henen Zahnrades erzielt wird, löst in einfacher und wirksamer Weise die Aufgabe der ab wechselnden Projektion eines Bildstreifens mit zwei neben- oder übereinianderliegenden Bildreihen.

Ein Ausführungsbeispiel des Erfindungs- geg#enstandes ist in der Zeichnung dargestellt. Fig. i zeigt eine Vorderansicht, Fig. 2 eine Seitenansicht des Apparates, Fig. 3 eine An sicht der Hinterwand der Projektionskammer, Fig. 4 eine Innenansicht, Fig. 5 eine untere Ansicht und Fig. 6 eine Draufsicht des Apparates.

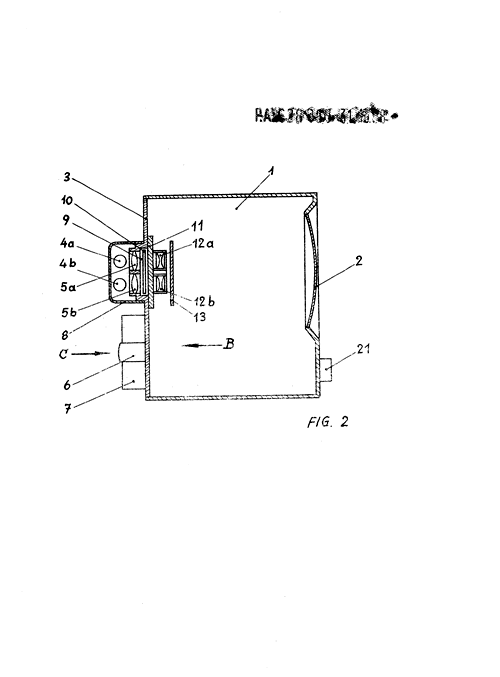
Der Projektionsappara: besteht aus einem Gehäuse 1 mit einer oberen und einer unteren Linste oder entsprechenden Linsensystemen 2, 3. Ein Schlitz 4 dient zum Durchziehen des Filmstreifens zwischen der Licht- und Pro jektionskammer; 5 stellt einen Stellhebel dar, 6 die Trennwand zwischen der Projektions und der Lichtkammer,8 eine Zwischenwand in der Projektionskammer, wodurch die Pro jektionskammer in eine obere und in eine untere Hälfte geteilt wird, entsprechend der oberen und der unteren Ausnelunung 7 bzw. 9 in der Trennwand 6, die in Höhe der oberen oder der unteren Glühbirne 11 bzw. 13 des Apparates angeordnet sind. 10 ist leine Kontaktplatte für die Glühbirne 11, und 21 sind zwei Kontaktplättchen. 12 und 14 sind winklige Reflektoren, an der konsolienartig als Reflektor ausgebauten, Deckenplatte ist ein Halter für die Glühbirne 11 vorgesehen. 15 ist eine zwischen Projektionskammer und Lichtkammer in letzterer vorgesehene Ausnehmung für einen am Umfang gezahnten Zylinder 16, dessen Zähne beim Drehen den zwischen, ihm und der Trennwand 6 laufenden Filmstreifen mitnehmen und weiter vor die Projektionsöffn!ung befördern. 17 ist eine Aufziehfeder, welche das an sich bekannte und schematisch angedeutete Räderwerk betätigt und mittels Stiftes 18 aufgezogen wird. 19 ist ein Zahngesperre für das Räderwerk, 20 eine vor den Glühbirnen liegende Mattscheibe, 22 eine Stromplatte. 23 und 24 sind zwei gekreuzte, auf einer Zahnradachse angezapfte, mit dem Räderwerk sich drehende Plättchen.

Wird die Feder 17 mittels Stiftes 18 aufgezogen und mittels des Stellhebels durch Auslösen der Arretiervorrichtung ig das Räderwerk in Tätigkeit gebracht, so dreht sich auch der mit Zähnen versehene Zylinder 16, welcher den Filmstreifen vor die Projektionsöffnung schiebt.

Von einer Trockenbatterie oder einem Transformator geht der Strom mittels der Stromplatte 22 zu dem allseits isolierten Räderwerk, welches unter Strom gesetzt wird. Von den beiden Kontaktplättchen 21 geht je eine Drahtleiwng zu den Glühbirnen 11 und 13. Da nun mit dem Räderwerk die auf ihm angezapften gekreuzten Platten 23, 24 sich drehen, geben diese mit dem einen oder dem anderen Kontaktplättchen 21 einen Kontakt, wodurch abwechselnd die Glühbirne 11 oder 13 aufleuchtet.

Wird nun ein Filmstreifen mit zwei übereinanderliegenden Reihen von Bildfiguren in den Schlitz 4 eingeführt und vom gezahnten Zylinder 16 in waagerechter Richtung vor der Projektionskammer kontinuierlich vorbeigeführt, so wird durch die wechselweise wir kende obere oder untere Projektionseinrichtung nur die jeweils entsprechende Bildfigur der oberen oder unteren Reilie mit ruckweiser Unterbrechung auf den Bildschirm geworfen.

Statt, wie im Ausführungsbeispiel dargestellt, die Linsen übereinander anzuordnen, können sie auch neheneinanderliegen. Der Bildstreffen wird dann nicht in waagerechter, sondern in senkrechter Richtung. durch den Apparat geführt.

PATENTANSPRUCH: Bildwerfer mit zwei neben- oder über- einanderliegendenProjektionseinrichtungen zur Vorführung von Bildstreifen mit zwei in Fortschaltrichtung nebeneinanderliegen den Bilderreihen, bei dem zwangsläufig durch einen Antrieb wechselweist, die Pro jektionsglühlampen für eine bestimmte Zeit zum Aufleuchten gebracht werden und die Fortschaltung des Bildstreifens erfolgt, dadurch gekennzeichnet, dass der Antrieb (Federwerk 5, 17 bis 19) mittels zweier auf einer von ihm gedrehten Welle in Drehrichtung versetzt angeordneter Kon taktplättchen(23, 24) periodisch die abwechselnde Einschaltung der Lichtquellen (11, 13) steuert, während er kontinuier- licli mittels einer gezahnten Scheibe den Bildstreifen vor den Projektionsöffnungen (7, 9) vorbeiführt.

     

DUX KINO 3 (1938)

le Dux Kino Modèle 3
Dux Kino 3 Markes & Co, K.-G., Lüdenscheid i, Westfal.
1938
Film 35mm à 2 bandes d'images
Bakélite
PR2-DUXD-002
 
cm
9
12,5
7

Dux Kino 3 avec sa clef spécifique Boîte pour Dux Kino 3 Dux Kino 3 + Trafo

En 1938, 3 ans après la sortie du Dux MM construit sur la base du brevet 650 910 de Mario Sassoli, ce modèle est assez semblable à son prédécesseur dont il ne se différencie que par quelques aspects non essentiels :
- le nouveau système d'entraînement du film ne nécessite plus de soulever le couvercle de l'appareil, le boîtier est donc fixé par des vis.
- le système optique a été amélioré par l'ajout de deux lentilles supplémentaires.

Dux MM et n°3 Films pour Dux Kino 3 Extrait du catalogue Dux
 
     

DUX KINO 40 (1948)

le Dux Kino Modèle 40
Dux Kino 40 Markes & Co, K.-G., Lüdenscheid i, Westfal. Brevet 829 406 du 21 avril 1950
1948
Film 35mm à 2 bandes d'images
Bakélite rouge
PR2-DUXD-003
 
cm
9
12,5
7

Couvercle de la boîte du Dux  Kino 40 Dux 40Dux 40 Dessus d'un Dux 40 : l'hirondelle Dessous d'un Dux Kino 40 : emplacement de la pile Catalogue Dux du 50è anniversaire

Il a été produit à partir de 1948.



 
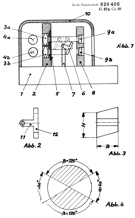
Schéma de fonctionnement du Dux 40
Le système de projection du Dux 40 est basé sur un volet obturateur : les deux lampes 1 et 2 sont alimentées en permanence, leurs faisceaux sont alors alternativement coupés par un volet mu par le mécanisme à ressort. Le film est entraîné par une roue crantée en caoutchouc. Ce sytème sera breveté en 1952. Le fonctionnement continu des lampes réduisait de moitié la durée de vie de la pile électrique.
 
Brevet N° 829 406 déposé le 21 avril 1950 par Gustav Boehme et Werner Warsawsky pour le compte de Markes & Co. K.G., Lüdenscheid (Westf.). Le sujet principal de ce brevet consiste en la petite pièce en forme de T qui permet de couper alternativement les deux fasceaux lumineux. L'avantage mis en avant le fabricant est un passage en douceur d'une image à l'autre et non la brusque transition obtenue par le précédent système électrique.

Le même brevet a été ensuite déposé en France le 3 octobre 1950 sous le numéro 1.025.396, puis en Suisse le 26 octobre 1950 (N° 290.915) et au Royaume-Uni
le 1er novembre 1950 (N° 686.203)
 
 
Ecran stand pour Dux 40
Il existait également un stand sur lequel le Dux pouvait s'installer. L'image projetée était ensuite réfléchie par un miroir sur un écran intégré. Ce stand était certainement à vocation publicitaire, un objet à mettre en vitrine de magasin.
Le projecteur avait été modifié pour fonctionner en continu avec un film en boucle : ainsi un moteur électrique externe faisait avancer le film.
  Ecran stand pour Dux 40 Ecran stand pour Dux 40 Ecran stand pour Dux 40
   
 
Adaptateur secteur pour Dux Kino 40
Le Dux Kino fonctionne avec une pile plate de 4,5 volts. Une des lames doit être rabattue pour assurer le contact électrique avec le clip métallique de maintien.
Par souci d'économie et d'autonomie, un adaptateur secteur Trafo a été créé : il a la même forme qu'une pile plate et peut ainsi se loger dans l'emplacement prévu dans la base du Dux. A l'avant de la base des Dux une échancrure permet le passage du fil de l'adaptateur (c'est d'ailleurs sa seule fonctionnalité).
Le transformateur abaisse la tension secteur 220 volts ~ en 3,8 volts.
 
   
 
Curieuse destinée que celle du personnage de Betty Boop : elle a commencé sa carrière Le 8 août 1930 sous la forme d'une chienne ! Elle était alors la petite amie du chien Bimbo, leurs créateurs étant les frères Dave (14 juillet 1894, New-York City- 25 juin 1979 Woodland Hills, Californie) et Max Fleisher (19 juillet 1883, Vienne, Autriche - 11 septembre 1972, Woodland Hills, Californie). De nombreux dessinateurs se succéderont : Grim Natwick (le premier dessinateur qui prendra comme modèle l'actrive Helen Kane), Dave Tendler, Orestes Calpini, Seymor Kneitel, Myron Waldman...
Ci-contre une des premières images de Betty Boop : elle a deux petites oreilles de chien. Ces oreilles seront ensuite remplacées par des boucles d'oreille.

Betty Boop et ses oreilles de chien

En 1931 deux évènements oriente sa carrière : son petit ami est remplacé par deux autres personnages moins importants Koko le clown et Pudgy le chien, et Mae Questel lui prête sa voix en reprenant son air qui deviendra célèbre, Boop Boop a Doop. Dès lors Betty Boop se féminise, jusqu'à devenir sexy. C'est ce dernier caractère qui la fera tomber sous le joug du Code Hays (rédigé en 1927 par Will Hays mais véritablement appliqué qu'à partir de 1934) : l'image s'assagira jusqu'à devenir insipide et faire perdre progessivement sa notorité. Le personnage sera abandonné en 1939, supplanté par Pudgy le chien et Grampy le savant. Mais de cette carrière courte c'est la période sexy qui restera dans les mémoires et la fera régulièrement redécouvrir par le public.

L'actrice Helen Kane, le modèle du dessinateur Grim Natwick Betty Boop et le champagne!
Au lancement du personnage plusieurs actrices avaient donné leur voix à Betty Boop, mais c'est Mae Questel (13 septembre 1908, Bronx, New-York - 4 janvier 1998, New-York) qui sera son interprète pour toute la suite de sa carrière.
En 1931, alors qu'elle venait tout juste d'être engagée par la Paramount, Mae est remarquée par Max Fleisher qui lui confie la voix de Betty. Le 12 août 1932 elle donnera la démonstration de ses talents d'imitatrice (pour lesquels elle avait été recrutée) dans le film Stopping the Show où elle permetra à Betty d'imiter quelques chanteurs célèbres.
Sa gloire arrivera avec le disque On the Good Ship Lollipop qui sera vendu à plus de 2 millions d'exemplaires.
A partir de 1933 elle fut également la voix d'Olive, la compagne de Popeye.

Mae Questel au début des années 1980, actrice

Personnage bien connu, Betty Boop se retrouvera évidemment sur les films pour projecteurs jouets. Ci-contre un premier exemple sur l'image de gauche : boîte de films Duracolor pour projecteur Uncle Sam's Movie Projector.
L'image de droite représente un extrait de la boîte d'emballage de Irwin Projector. Betty Boop y est accompagnée par le clown Koko.

Image Duracolor aimablement transmise par Verlin Redlinger
films Duracolor pour projecteur Uncle Sam's Movie Projector

     

DUX KINO 44 (1952)
DUX KINO 44 beige (1965)

le Dux Kino modèle 44
Dux Kino 44 Markes & Co, K.-G., Lüdenscheid i, Westfal.
1952
Film 35mm à 2 bandes d'images
Bakélite rouge
PR2-DUXD-004
/ ACR 0788
cm
9
12,5
7

Photo modèles 44 & 40 Dux 44 couvercle enlevé et moteur détaché Coffret Dux 44 Dux Kino 44 et son Trafo (adaptateur secteur)

Ce dernier modèle est apparu en 1952 et marque ainsi la fin de la série des Dux Kino. On ne retrouvera ses derniers perfectionnements dans aucun autre pays.
 
Arrière du Dux 44 Dux transformator 56
Le Dux 44 est presque identique au modèle 40, la seule différence visible étant l'ajout d'un connecteur pour le transformateur à l'arrière de l'appareil.


A l'intérieur de l'appareil, les différences sont plus évidentes : la plus remarquable est le petit volet qui permet l'alternance des images. Actionné par une came, il reproduit le mécanisme original du Nic espagnol, pratiquement tel qu'il avait été imaginé 20 ans avant ! Ainsi après avoir passé par un commutateur électrique, un volet oblique, le dernier modèle du Dux allemand renouera avec la plus ancienne technique !
D'autres différences peuvent être notées :
- les pièces support des objectifs ne sont plus en bakélite mais sont entièrement métalliques.
- le dispositif d'ajustement de la convergence des objectifs n'est plus celui des productions précédentes mais une pièce rivetée et collée au vernis.
- le galet en caoutchouc d'entraînement du film voit sa pression renforcée par une bille placée de l'autre côté du film.
Torsten  Dux Kino 44 beige Torsten  Dux Kino 44 beige
En 1965 une version spéciale de couleur beige fut fabriquée. C'est une couleur inhabituelle pour ces appareils plus souvent vus dans des couleurs sombres telles que le rouge ou le vert. C'est cette dernière version qui marquera la fin des projecteurs Dux, 30 ans après le premier modèle.

PR2-DUXD-004 (2)



 
     

DUXINETTE (1952)

le Duxinette est apparu en 1952. Utilisant toujours les mêmes films que les autres Kino, il jouit d'une esthétique assez différente. Il semblerait que ce modèle soit inspiré d'un premier prototype créé par Markes vers 1935 et qui s'appelait "Silberschwalbe Kleinkino". Ce prototype était en fer blanc, comme beaucoup de jouets des années 1930 ; on comprend ainsi mieux pourquoi le fabriquant éditera cet appareil métallique d'un style quelque peu rétro pour cette année 1952.
Duxinette Markes & Co, K.-G., Lüdenscheid i, Westfal. Brevet 1 640 500 U du 3 juillet 1952
1952
Film 35mm à 2 bandes d'images
Métallique
PR2-DUXD-005
 
cm
10
8
7,2


Couvercle de la boîte du Duxinette Coffret Duxinette Côté de l'emballage Notice Plaquette publicitaire
Duxinette vue de dos 

Extrait notice Duxinette (1) Extrait notice Duxinette (2)
En-tête de lettre de Markes (brevet du Duxinette)
 
Brevet 1 640 500 U du 3 juillet 1952, déposé le 4 mars 1952 par Markes & Co KommanditGesellschaft.
  Brevet Duxinette Brevet Duxinette Brevet Duxinette Brevet Duxinette Brevet Duxinette Brevet Duxinette
 

Sur ce modèle de projecteur l'avancement du film se fait manuellement en tournant la manivelle située à l'arrière de l'appareil. Cette solution est en retrait avec les modèles précédents qui comportaient un mécanisme à ressort garantissant une vitesse régulière automatique. Ceci prouve une nouvelle fois l'ancienneté de conception de l'appareil.
Cette manivelle qui actionne à la fois l'avancement du film et le mouvement du volet optique s'apparente à celle des projecteurs Minicine anglais. Quant au volet obturateur, le principe d'une lame horizontale, qui en basculant coupe alternativement les faisceaux lumineux haut et bas, ressemble au mécanisme des NIC espagnols : ceci permet de penser que cet appareil avait été conçu vers 1935, inspiré des projecteurs espagnols des frères Nicolau.
 
     

DUX KINO TV35 (1958)

le Dux Kino TV35 . Sous l'influence de l'extension de la télévision, le fabricant Dux a développé vers 1958 ce modèle original. Il a la forme des téléviseurs allemands de cette époque.
Dux Kino TV35 Markes & Co, K.-G., Lüdenscheid, Wiesenstr. 61 - Westfal.
~1958
Film 35mm à 2 bandes d'images
Plastique et métallique
PR2-DUXD-006
 
cm
18,5
17
18


Dux TV35 : vue arrière Dux TV35 : intérieur

L'antenne est purement décorative. Naturellement fragile, elle est souvent absente des appareils que l'on peut trouver actuellement.

C'est sous le même effet de mode lié au développement de la télévision qu'apparurent dans d'autres pays le NIC Télévision, le Hollywood Toy Television ou d'autres appareils de projection américains ou anglais.
 
Brevet 1 782 436 U du 5 février 1959 avait été demandé le 18 février 1956 par Markes & CO K G . Ce brevet ne faisant pas référence au mécanisme musical du TV35M, c'est donc bien celui du TV35.
Brevet du Dux TV 35 Brevet du Dux TV 35 Brevet du Dux TV 35
Brevet du Dux TV 35 Brevet du Dux TV 35 Brevet du Dux TV 35 Brevet du Dux TV 35
 
Cette notice en langue espagnole démontre que le Dux TV 35 avait été distribué dans ce pays.
 
 
 
     

DUX KINO TV35 M (1965)

Dux Kino TV35 M Markes & Co, K.-G., Lüdenscheid i, Westfal.
~1965
Film 35mm à 2 bandes d'images
Plastique et métallique. Equipé d'un mécanisme musical
PR2-DUXD-007
 
cm
18,5
17
18

Vers 1965 le modèle devient sonore : le Dux TV35 M (M pour Muzik ?)

vue intérieure du Dux montrant le mécanisme Face avant du carton d'emballage

La boîte à musique interne, dont le mécanisme de remontage apparaît sur le côté droit de l'appareil, joue une valse de Brahms. Le mouvement est indépendant du défilement du film.
La société Markes a également produit d'autres projecteurs : le Dux Kino 68 et sa version motorisée le Dux Elkino 900 . Elle a également produit un projecteur pour diapositives, le Diamagica.
     

Films pour Dux


Extrait de la notice d'un film pour Dux Kino

Liste des films disponibles pour les Dux Kino et Duxinette

Film 406 pour projecteur Dux Kino

Films pour Dux MM Films pour Dux et Duxinette Disney-Serie
- 1 : Zirkus
- 2 : Märchenparade
- 3 : Cowboy Jim
- 4 : Der Luftpirat
- 5 : Die Schatzinsel
- 6 : Die Arche
- 7 : Das geheimnisvolle Haus
- 8 : Am Nordpol
- 11 : Der Honigdieb
- 12 : Fritz in China
- 16 : Galoppin das Wunderpferd
- 17 : Beim Boxkampf
- 18 : Fröhliche Ostern
- 19 : Die Goldgräber
- 20 : Der Stierkampf
- 23 : Der Mann im Dschungel
- 24 : Schneewittchen
- 25 : Dornröschen
- 26 : Hänsel und Gretel, 1. Teil
- 28 : Lausbubenstreiche
- 41 : Der Tabak
- 43 : Das Leben der Ameisen, Teil 2

Exemple de notice de film
Nr.409* Der Rattenfänger von Hameln
Vor vielen hundert Jahren verkündete ein König: „Wer unsere Stadt von Ratten befreit, erhält einen Sack reinen Goldes!" Ein umherziehender Musikant lockte mit bezaubernden FIötentönen die Ratten an und führte sie weit vor die Stadt in einen Fluss. Als er nun seinen wohlverdienten Lohn holen wollte, verhöhnte ihn der König. Dafür rächte sich der betrogene Musikant bitter. Er erschien wieder in der Stadt und lockte diesmal mit seinem Flötenspiel alle kleinen Kinder an und entführte sie in die schluchtenreichen Berge. Da verprügelten die weinenden Mütter ihren wortbrüchigen König.
 
- 401 : Im Zirkus
- 402 : Rotkäppchen
- 403 : Schneewittchen
- 404 : Hänsel und Gretel Teil 1
- 405 : Hänsel und Gretel Teil 1
- 406 : Max und Moritz Teil 1
- 407 : Max und Moritz Teil 2
- 408 : Max und Moritz Teil 3
- 409 : Der Rattenfänger von Hameln
- 410 : Der Struwelpeter Teil 1
- 411 : Der Struwelpeter Teil 2
- 412 : Robinson Crusoe I
- 413 : Robinson Crusoe II
- 414 : Robinson Crusoe III
- 415 : Beim Boxkampf
- 416 : Der gestiefelte Kater, Teil 1
- 417 : Der gestiefelte Kater, Teil 2
- 418 : Die Rettung
- 419 : Das Fest im Walde
- 420 : Die Heinzelmännchen, Teil 1
- 421 : Die Heinzelmännchen, Teil 2
- 422 : Rumpelstilzchen
- 423 : Abenteuerliche Reise
- 424 : Zwischenspiel im Zirkus
- 425 : Der kleine Muck Teil 1
- 426 : Der kleine Muck Teil 2
- 427 : Der kleine Muck Teil 3
- 428 : Der Hase und der Igel (avec Mecky et Micki)
- 429 : Die Schatzinsel
- 430 : Der Indianerüberfall
- 431 : Der Texasreiter
- 432 : Galoppin, das Wunderpferd
- 433 : Der Stierkampf
- 434 : Peterchens Weltreise
- 435 : Raketenfahrt zu Mond
- 436 : Am Nordpol
- 437 : Niki und Teddy Brumm im Zoo
- 438 : Niki und Brumm reisen zum Himmel
- 439 : Die Luftreise
- 440 : Niki und Brumm beim Zwergendoktor
- 441 : An der See
- 441 : Die Unterwasserreise
- 442 : In grosser Gefahr
- 443 : Hasenjagd zu Wasser
- 444 : Seltsamer Spazierritt
- 445 : Der fliegende Heinrich
- 446 : Ein schlimer Tausch
- 447 : Der Schneider im Mond
- 448 : Schneider in der Hölle
- 449 : Die Fernseh-Vorschau
- 501 : Micky-Maus und Pluto
- 502 : Micky im Geisterschloss
- 503 : Micky und der Medizinmann
- 504 : Bambi
- 505 : Micky auf der Jagd
- 506 : Pinocchio
- 507 : Cinderella

- 508 : Alice im Wunderland


Catalogue des films Dux

La société Dux avait recruté plusieurs dessinateurs dont:
- Aurelio Gallepini dit Galep (38 août 1917, 10 mars 1994), italien, qui avait été sollicité directement par Mario Sassoli.


Ces films étaient adaptés pour différents pays. On pourra ainsi remarquer la traduction du nom des personnages ! Les premiers films étaient multilingaux.
Allemagne Grande-Bretagne France Italie  Espagne
Max und Moritz Jack and Joe Max et Maurice
Nique et Domi
Maximo e Morizio  Pepe y Carlitos
Cowboy Jim   Joë le Cow-boy    
Der Rattenfänger von Hameln The Pidepiper of Hamelin Le joueur de flûte d'Hamelin    
Rotkäppchen Little Red Riding Hood Le petit chaperon rouge    
Kalif Storch est un personnage apparu dans les contes populaires de Wilhelm Hauff (29 novembre 1802, 18 novembre 1827) qui avait également imaginé d'autres contes tels Das kalte Herz ou Das Gespensterschiff. Ce conte raconte l'histoire de Chasid, calife de Bagdad, qui se transformera en cigogne après l'absorption d'une poudre magique.

Wilhelm Hauff

Das tapfere Schneiderlein est un conte classique des frères Grimm (français= un brave petit tailleur, anglais= the brave little Tailor) : une méprise fera croire que les sept mouches tuées d'un coup par le tailleur étaient en fait des géants, ce qui lui procurera une notoriété inattendue.
Jacob Grimm (1785-1830) et Wilhelm Grimm (1786-1859) sont deux frères de nationalité allemande. Leurs contes folkloriques ont dépassé toutes les frontières (ils firent la séduction de Walt Disney).

Les frères Grimm Affiche du film de Walt Disney

Rotkäppchen est un autre conte des frères Grimm datant de 1812 (français= le petit chaperon rouge, anglais= Little Red Riding Hood). L'histoire du petit chaperon et du grand méchant loup ne se raconte plus tant elle fait partie de toutes les cultures.
Une première version de cette histoire avait été écrite par le français Charles Perrault (1628-1703), et contenait la célèbre formule "tire la chevillette, la bobinette cherra".

Tex Avery Extrait de la notice du film Dux 1934 Little Red Riding Hood & The Big Bad Wolf

Bernhard Grzimek (Neisse, 24 avril 1909 - Frankfurt am Main, 13 mars 1987) était un vétérinaire, professeur allemand spécialiste et grand vulgarisateur du monde animal. Il est également connu pour avoir été le directeur du zoo de Francfort. Ses célèbres films ont été:
1954 - Kein Platz für wilde Tiere
1961 - Unsere Brüder mit den Krallen
1963 - Wir lebten mit den Baule. Flug ins Schimpansenland
1965 - Wildes Tier, weißer Mann
1968 - Grzimeks Tierleben

Bernhard Grzimek

Fix & Foxi, un couple de renards, ont été créés en 1953 par Rolf Kaukas dans la revue "Eulenspiegel". Fix l'intrépide a une salopette jaune tandis que son frère Foxi le timide en a une bleue.
Rolf Paul Rudolf Kaukas (Markranstädt, 9 avril 1917 - ) était surnommé le Walt Disney allemand tant il créa de personnages et d'adaptations dans son château de Grünwald (Bavière). En 1973 il vendra sa maison d'édition, puis se retirera aux Etats-Unis.
Le Rolf Kauka's Fix & Foxi Club-RKFFc (fan club) a été fondé le 15 octobre 1974.
Rolf Paul Rudolf Kauka

Max und Moritz sont nés de l'imagination de Wilhelm Busch (Wiedensahl , 15 avril 1832 - Mechtshausen, 9 janvier 1908) en 1865. Sous la forme approchante de bande dessinée, cette histoire raconte les péripéties de deux enfants espiègles et insupportables.
Dès 1862, ce conte dessiné fut édité aux Etats-Unis et en 1897 Rudolph Dirks créa "The Captain and the kids" (traduits en français par "Pim Pam Poum"), dont les deux gamins (Pim et Pam) sont une reprise directe de Max et Moritz. L'espagnol Escobar s'en inspirera pour ses "Zipi y Zape".
A Hanovre un musée est consacré à Wilhelm Bush.
Wilhelm Busch

Mecky et Micki sont deux personnages en forme de hérissons. Ils ont été inventés en 1951 par le fabricant Steiff sous forme de peluche avec un masque en latex pour le visage. Mecky est le mari, Micki la femme et leurs deux enfants se nomment Macki et Mucki.
La fabrique Steiff a été fondée en 1880 par Apollonia Margarete Steiff (24 juillet 1847, Giengen en Brenz, Allemagne ; 9 mai 1909, Giengen)


Struwwelpeter (Pierre l'ébouriffé, Crasse-Tignasse ; traduit en anglais par Mark Twain sous le titre Slovenly Peter) a été écrit en 1844 par le docteur Heinrich Hoffmann (Frankfurt-am-Main, 13 juin 1809 - Frankfurt-am-Main, 20 septembre 1894) : parmi les textes il raconte l'histoire de Pierre, celui qui refuse de se faire couper les cheveux et les ongles.
Heinrich Hoffman, médecin en asile d'aliénés, décida d'écrire ce texte pour son fils, las de ne trouver pour lui que des histoires qui finissaient bien. Ce livre fut ainsi un des plus difficiles qui soient pour de jeunes enfants. Titres contenus: L'histoire du Méchant Frédéric, Histoire Lamentable de La Boite D'Allumettes, L'histoire des Enfants Noirs, L'Histoire du Fameux Chasseur, L'Histoire du Suceur de Pouces, L'Histoire de la Soupe de Gaspard, L'Histoire de Philippe le Balanceur, L'Histoire de Jean le Nez-en-l'Air, L'Histoire de Robert qui s' envole.

Dick und Doof sont la traduction allemande de Laurel et Hardy. Stanley Jefferson (Ulverston, 16 juin 1890 - West Valley, 23 février 1965) et Olivier Norvelle Hardy (Harlem, 18 janvier 1892 - Burbank, 7 août 1957) se sont associés à partir de 1926 pour jouer jusque 1951 environ 108 films comiques.

Jim était un personnage légendaire de cowboy sur son territoire du Texas américain. Sa plus grande popularité fut acquise en Allemagne.
Jim cowboy

LILIPUT (1954)

Le Liliput, étrange projecteur à l'esthétique particulière.
Liliput Kinder Kino Zeiss Ikon à Dresde
1954
Film 35mm à 2 bandes d'images
Bakélite
PR2-LILI-001
cm
17
13,5
7

http://www.dessauphoto.de/Diverses/d09/d09.htm Logo dessiné sur l'appareil

Ce projecteur fut produit vers 1954 par Zeiss Ikon à Dresde, dans l'ancienne Allemagne de l'Est. Les rares informations recueillies sur cet appareil situaient la production vers 1955, mais les premiers films destinés à ce projecteur étant datés de 1954 c'est certainement cette date qu'il faut retenir.


Notice du Liliput
Images avec la permission de Sebastian Pelz
Le mécanisme du Lilliput est très similaire à celui des Dux Kino 40. Le volet obturateur est directement fixé sur la manivelle.
Le mouvement est entièrement lié à la manivelle, il n'y a donc pas de moteur à ressort comme sur les Dux.



Liste de films:
1. Das Tapfere Schneiderlein (1954)
2. Junge Pioniere (1954)
3. Im Zoo (1954)
4. Die Bremer Stadtmusikanten ( 1954)
5. Rotkäppchen (1955)
6. Sindbad der Seefahrer (1955)
7. Junge Pioniere wandern (1955)
8. Schneeweisschen und Rosenrot ( 1955)
9. Kalif Storch (1955)
10. Ein Zirkus kommt (1955)
11. Eine Ferienreise aufs Land (1955)
12. Sindbad der Seefahrer Teil 2 (1955)
13. Das tapfere Schneiderlein Teil 2 (1956)
14. Das tapfere Schneiderlein Teil 3 (1956)
15. Hänsel und Gretel (1956)
16. Der Wolf und die 7 Geisslein (1956)
17. Die Bremer Stadtmusikanten Teil 2 (1956)
18. Durch Wald und Wiese



Ces films étaient produits par Defa-Film, le principal éditeur de films de l'ancienne Allemagne de l'Est, installé à Dresde.
Pour plus d'informations : DIA Rollfilm aus der DDR
Il existait quelques autres éditeurs qui ont essayé d'échapper au quasi monopole de Defa : Imago à Radebeul, Ascop à Dresde, Mikrolux à Dresde, Elgo-Film, Dewag, Fehrmann, DLG, Mosaik.
Zeiss Ikon est une entreprise créée à Dresde en 1926 par la fusion de Contessa-Nettel, Goerz, Ernemann et Ica (qui était elle-même issue de la fusion en 1909 de Huttig, Krugener, Wunsche, Zulauf et Carl Zeiss Palmos). produira des appareils photo jusque 1972.
Le logo a été créé par Erich Kuithan (1875 - 1917) et représente le nom de l'entreprise intégré dans le profil d'une lentille achromatique pour microscope.


 
 
L'usine Ernemann située Junghansstrasse à Dresde est reconnaissable à sa tour construite en 1923 par les architectes R. Högg et R. Mülleret qui sera parfois reprise dans le logo de la marque (et encore actuellement sur le logo de Pentacon). Cette tour de 48 mètres de haut était destinée à accueillir un petit observatoire.
Le bâtiment héberge actuellement un musée sur la technique.

Le logotype présent sur la notice du projecteur Liliput est assez rare : il représente le logo habituel de la marque Zeiss-Ikon mais dans une version particulière surmontée d'un dessin stylisé représentant la tour Ernemann.
Le dessin de cette tour sera par la suite repris sur la production des appareils photographiques Contax puis des Pentacon.

Carl Friedrich Zeiss est né le 11 septembre 1816 à Weimar. Le 17 novembre 1846 il ouvre à Iena un atelier dans lequel il produit des lentilles optiques et des microscopes. Il s'associe à un mathématicien, Ernst Abbe, puis à un chimiste, Otto Schott. Enfin son fils Roderich les rejoint pour créer en 1884 la verrerie "Jenaer Glaswerke Schott & Genossen" . Au décès de Carl le 3 décembre 1888, Ernst Abbe constitue la Fondation Carl Zeiss ("Carl-Zeiss-Stiftung").
Carl Friedrich Zeiss
 

Bandes d'images sur verre pour lanterne magique

 
     
mise à jour le dimanche 16 janvier, 2011 /// http://project.mettavant.fr/
Selic, Jecktor, Minicine, toy, projector, viewer, Dux, Nic, vintage, projecteur, projektor, proiettore, proyector