GRANDE-BRETAGNE



Au Royaume-Uni, les projecteurs à images alternées font une entrée timide grâce au brevet de Mario Sassoli (le même que celui du Dux allemand) : après un premier prototype Baby Movie de Martin Lucas vers 1945 le Dux Cine arrive enfin en 1948 produit par un autre fabricant Ken Harding. Il aurait vraisemblablement été précédé sur le marché par le gros projecteur américain Uncle Sam's Movie Projector. La production anglaise se développera ensuite vraiment avec la collection Eagle et le Minicine en 1949, revanche du fabricant Martin Lucas cette fois-ci sur la base du brevet de Miguel Nebel avec des films strip à 4 lignes d'images. Cet appareil se parera des couleurs Disney avec le Disneyland Movie puis se concluera dans les années 1950 avec le Superminicine. Une dernière surprise conclut cette page avec le Television cut-out de 1964, un système n'utilisant pas de films à plusieurs rangées d'images mais des images de type stéréoscopiques nécessitant l'usage de filtres colorés.

Fabricant
Appareils
Films
Remarque
Nombre
images
Support
Longueur
cm
Dux Cine Baby Movie
Dux Cine
2
Film
  Brevet Sassoli
Durotone Uncle Sam
Talkie System
2
Papier
   Importation des Etats-Unis
Martin Lucas Eagle
2
Film
12 pouces
 Projection fixe
Martin Lucas Eagle
Minicine
Disneyland Movie
Superminicine
4
Film
12 pouces
 Brevet Nebel
           

 

 

Le brevet 388,252 de Tomas Nicolau Grino et Josep Maria Grino (habitant Francisco Layret No. 48, Barcelona, Spain) a été déposé au Royaume Uni le 23 février 1933. Applicable à la date du 25 avril 1932, il fait référence au brevet original espagnol du 25 avril 1931.
Les auteurs précisaient que les films pouvaient être réalisés en papier, celluloïd, tissu ou autre.
A ma connaissance, ce brevet n'a pas été utilisé au Royaume-Uni.


Les deux mêmes Nicolau déposeront le 30 mars 1936 une autre demande de brevet (N° 470,197) pour un système d'appareil photographique instantané (tel le fameux Polaroid). La pellicule exposée passait successivement sur les tampons imbibés des produits chimiques nécessaires au développement.

Le même brevet avait été précédemment déposé à Paris le 25 mars 1936 (brevet 805.849 délivré le 7 septembre 1936). Cette demande française fait mention des brevets originaux déposés en Espagne les 30 mars 1935 et 5 mars 1936.

 

     

 

BABY MOVIE (1945)

le Baby Movie

Baby Movie
Martin Lucas Ltd
~1945
Métal aluminium
PR2-MALU-001
 


Baby Movie Couvercle de l'emballage du Baby Movie

Entièrement métallique ce projecteur présente la forme ancestrale du Dux anglais. Le mécanisme de projection est de type commutateur électrique, comme sur les premiers modèles du Dux allemand (Dux 3. Ce modèle rare semble avoir été d'une diffusion confidentielle s'apparentant à un prototype, ce qui est particulièrement visible sur l'appareil (les moules de fabrication, la finition et la peinture semblent d'une qualité inférieure).
J'ignore pourquoi la fabrication de ce type de projecteur, initialement confiée à Martin Lucas, fut finalement demandée pour le Dux Cine 3 à Ken Harding, mais au vu de ce premier modèle et de sa qualité insuffisante on pourrait bien comprendre pourquoi !
Cependant, quelques années plus tard Martin Lucas réussira mieux sa production avec le Minicine.

 
Vue à 360° d'un projecteur Baby Movie. Ces images permettent de constater l'aspect artisanal de la fabrication.
Le mécanisme est le même que celui du Dux Cine 3. On retrouve le mécanisme du Dux transposé à gauche pour le marché anglais.
 
Images aimablement transmises par Charles Slater. Le modèle photographié a été bricolé : suppresion du clip de maintien de la batterie, bornes ajoutées.

On reconnait bien le mécanisme du Dux MM repris ensuite notamment dans le Sélic 3 français, avec deux ampoules et le système de commutation électrique.
Ces images permettent de mieux découvrir l'intérieur de cet intéressant projecteur, pleinement inspiré des brevets de Mario Sassoli. La fabrication de l'appareil est massive, les pièces sont en épais métal moulé.


 
Films pour Baby Movie

Si le projecteur Baby Movie est rare, les films pour cet appareil le sont autant. Ces films comportent quelques différences notables avec ceux du Dux Kino.
En première remarque, le film est plus court, 18,5 cm au lieu de 24 cm. Mais chacune des images étant elle-même plus courte (d'une largeur moyenne de 2 perforations pour le Baby contre 4 perforations pour le Dux), le nombre de séquences projetées est finalement plus élevé.
Ce film comporte également une particularité : il ne possède pas de marque de fabricant. Le titre du film est indiqué, "Mother Goose Nursery Rhymes", mais on ne peut y voir auncune indication supplémentaire contrairement aux autres films, par exemple la marque Dux Kino.
 
Le nom du film permet d'imaginer qu'il s'agit d'une production anglaise, tandis que les films pour Dux seront des reprises des titres du folklore allemand.



 
Charles Slater, collectionneur et auteur de l'article KIDDIE KINEMATOGRAPHS , en admiration devant un Baby Movie. Ce petit projecteur est très rare, et il fallait aller très loin de l'Angleterre sa patrie natale pour en découvrir un exemplaire.
 
Cette image permet la comparaison entre le boîtier du Baby Movie et celui d'un Dux Cine 3 : la forme est très similaire, la seule différence technique visible étant la longueur des objectifs. Mais la plus grosse différence reste dans les matériaux utilisés : tout métal pour le premier, bakélite pour le second.
Enfin, bien que ce modèle soit inspiré du brevet allemand, il ne s'orne pas de la fameuse Betty Boop, emblème du modèle original Dux Kino 3.
 

 
     

 

DUX CINE 3 (1947)

le Dux Cine, modèle n°3

Quelque temps après le premier modèle anglais, le Baby Movie, c'est au fabricant Ken Harding qu'est confiée la fabrication du projecteur inspiré du projecteur allemand Dux Kino 3. Le robuste boîtier métallique du premier modèle est désormais en bakélite, comme le seront tous les équivalents de cet appareil (Dux allemands, suisses, français).

Dux Cine 3
Ken Harding, 13 Sackville Street, London W1.
Brevet 636.693 applicable au 22 juillet 1947

Bakélite
PR2-DUXG-001
cm
9
12,5
7


Image (boîte bleue) transmise par Tim D (Australie)


 

Extrait de l'image du couvercle de la boîte d'un Cine Duc
L'image dessinée sur le dessus du couvercle de la boîte est assez approximative : la forme très arrondie, les objectifs longs, le dessin du dessus, la forme générale trappue sont autant de parties qui ne ressemblent pas au Dux ! On peut s'interroger pour savoir si l'illustrateur avait un appareil devant lui lorsqu'il l'a dessiné.
 
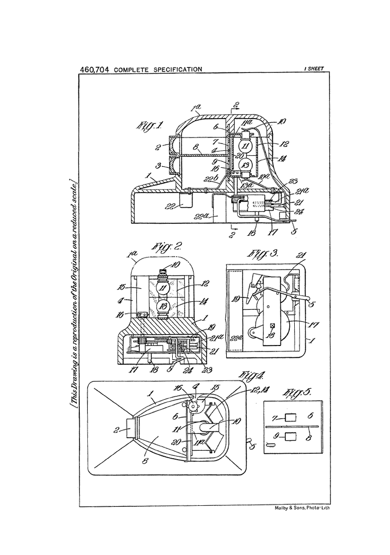
Mario Sassoli est un prolifique auteur de brevets concernant les jouets et la photographie. Il obtient le 29 janvier 1937 un brevet applicable au 3 avril 1935, le n° 460,704  : ce brevet, également déposé dans d'autres pays, décrit le principe d'un petit projecteur type Dux MM. Si le principe est directement inspiré du brevet des cousins Nicolau, l'appareil décrit s'écarte fortement du Nic espagnol par sa compacité.
Ce brevet contient toutes les spécificités de ce type d'appareil :
- des films à deux rangées d'images.
- un moteur mécanique à ressort pour faire avancer les films.
- une commutation électrique des deux ampoules par un disque avec des secteurs imprimés.
- un boîtier trappu avec compartiment pour pile plate 4,5 volts.
 
 
Le brevet 636.693 a été demandé par Harry Burrows (créateur de jouets) le 21 juillet 1947 et a été publié le 3 mai 1950. Ce brevet se base sur la publication du brevet 460,704 auquel il apporte une modification : un ensemble optique plus complet et la possibilité de régler la convergence des faisceaux lumineux. Ceci permet ainsi d'ajuster les lentilles afin que les images hautes et basses coïncident parfaitement sur l'écran. Enfin ce brevet définit la forme générale du boîtier de l'appareil.
  Brevet GB 636.693 Brevet GB 636.693 Brevet GB 636.693 Brevet GB 636.693 Brevet GB 636.693
 

La vue de l'intérieur du projecteur permet de voir :
- une amusante mention "made in Germany", indiquant donc qu'une partie cet appareil était fabriqué en Allemagne, alors que sur le boîtier est indiqué "made in England" et que sous l'appareil c'est le brevet anglais qui est indiqué.
- le système électrique par frotteur permettant de commuter le courant de la pile vers l'une ou l'autre ampoule.
- le réglage de convergence des faisceaux lumineux (deux petites vis).

 
 
Sur le dessus de l'appareil on distingue parfaitement le dessin, image stylisée sensée représenter Betty Boop (voir le Dux allemand). A l'avant de l'appareil figure la référence du modèle, "Mod. 3". Les moules ayant servi à la fabrication de ce boîtier sont donc très certainement d'origine allemande.
Le boîtier de cet appareil est étonamment bicolore : la partie inférieure est en bakélite de couleur noire, la partie supérieure est de couleur rouge bordeaux. Je ne sais si tous les appareils étaient ainsi constitués ou s'il s'agissait d'une production exceptionnelle (boîtier anglais monté sur une base allemande).
La clé de remontage du mécanisme se situe sur la gauche du boîtier.
 
http://www.users.bigpond.net.au/reeldeals/kiddie.htm
Cet appareil fut exporté en Australie : voir à ce sujet l'excellent article Kiddie Cinematographs de Charles Slayter qui présente cette copie d'une publicité parue en 1950.
Il en a souvent été ainsi : tous les projecteurs étaient diffusés de par le monde au gré des importateurs ou des proximités liguistiques (les appareils anglais ou américains pouvaient être distribués au Royaume-Uni, aux Etats-Unis, en Australie, au Canada,... ).
 
Le projecteur arbore bien la marque Dux Cine, mais les films trahissent encore l'origine allemande des films. Ainsi ci-contre la marque présente sur le film n° 29 "Red Riddind-Hood" est bien celle du Dux Kino !
 

 
     

 

DUX CINE 40 (1948)

le Dux Cine , modèle n°40, produit vers 1948 par Ken Harding, 13 Sackville Street, London W1.

Dux Cine 40
Ken Harding, 13 Sackville Street, London W1.
~1948
Bande de film 35mm
Bakélite
PR2-DUXG-002
cm
9
12,5
7






Attention, lien vers image de grande taille Notice. Attention, grande image 250 ko Notice. Attention, grande image 250 ko
Photographies avec la permission de Mark Rowlands - toys-uk

différenciable du Dux allemand par la clé de remontage située à l'arrière gauche. De même le film circule dans l'appareil dans le sens inverse des appareils d'autres pays.
 
Schéma du Dux Kino 40 allemand
Le mécanisme permettant l'alternance des images est un volet obturateur, constitué d'une plaquette fixée sur un axe. Située entre les deux ampoules et les deux objectifs, le volet coupe alternativement les faisceaux lumineux, n'autorisant ainsi que la projection d'une des deux images superposées. Ce mécanisme est celui du Dux 40, mais Charles Slater signale, dans son article Kiddie Kinematographs, l'existance d'un autre système commutant l'alimentation électrique d'une ampoule sur l'autre comme sur le Dux 3.
 
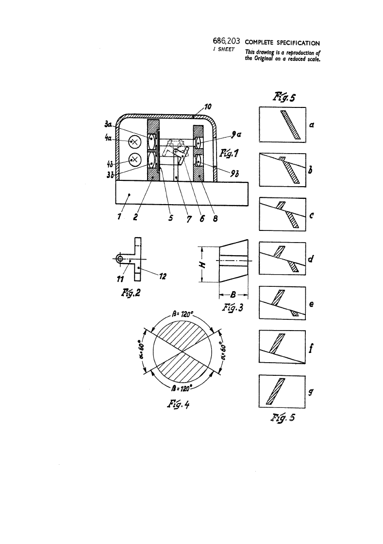
Le principe du volet obturateur est le point essentiel du brevet 686.203 obtenu le 21 janvier 1953 par la société allemande Markes & Co. Ce brevet applicable au 1er novembre 1950 est la version anglaise du brevet original déposé en Allemagne le 21 avril 1950.
Une légère subtilité était comprise dans la forme du volet obturateur : le bord du volet n'est pas droit mais oblique, permettant ainsi une transition plus douce entre les deux images projetées. C'est cette originalité qui fait la différence entre ce système et le système à commutation électrique. Cette douceur se rapproche de celle obtenue initialement par le système des cousins espagnols Nicolau en 1931 !
  Brevet anglais 686.203 Brevet anglais 686.203 Brevet anglais 686.203
 
Le dessin sur le dessus de l'appareil est une copie du modèle original allemand, avec une représentation stylisée de Betty Boop. Seul le terme Kino a été remplacé par Cine. Le même décor figurait déjà sur le Dux Cine 3. En France pour le modèle Sélic ce dessin disparaîtra.
 



Films:
401 The Circus
402 Little Red Riding Hood
403 Snow-White
404 Babes in the Wood (part 1)
405 Babes in the Wood (part 2)
406 Jack and Joe (part 1)
407 Jack and Joe (part 2)
408 Jack and Joe (part 3)
409 The Pidepiper of Hamelin
410 Bill, the naughty Gulliver (part 1)
411 Bill, the naughty Gulliver (part 2)
412 Robinson Crusoe (part 1)
413 Robinson Crusoe (part 2)
414 Robinson Crusoe (part 3)
415 The Fight
Ces films ne sont majoritairement que des adaptations anglaises des films allemands destinés aux projecteurs Dux. Ainsi les "Max und Moritz" allemands deviennent les "Jack and Joe" anglais !

 
     

 

EAGLE PROJECTOR (1953)

le Eagle Projector

Eagle projector
Martin Lucas Ltd., 151 Drury Lane, Hollinwood, Lancs. England
~1953
PR2-MALU-002 

Bien que cet appareil ne soit pas un projecteur à images alternées, il permet cependant de visionner les bandes de films destinés à ce type d'appareil. C'est la raison pour laquelle j'ai maintenu ce projecteur "fixe" dans cette rubrique.

“Eagle projector, Minicine Transformer, 2 Eagle films, packed in a deluxe presentation box”.

Notice du projecteur Eagle - recto Notice du projecteur Eagle - verso Notice jointe à certains Eagle - Aide
Trois premières images aimablement communiquées par Mike Mead, Carrollton, TX, USA

Notice 1953

Fabriqué par Martin Lucas Ltd. Hollinwood, Lancs. England vers 1953, ce projecteur d'images fixes et animées est construit en matière plastique. Les bandes étaient principalement réalisées par Frank Hampson (DanDare), Alan Stranks (PC49) et Charles Chilton (Riders of the Range).



Deux molettes blanches sortent sur le dessus de l'appareil : l'une d'elle sert à positionner verticalement le film afin de choisir la ligne d'images à projeter, la deuxième sert à faire avancer le film. Ce dispositif semble assez complexe pour visionner les images d'une bande à projection alternée, il n'était donc principalement pas destiné à cet usage mais il était plus adapté à la projection des bandes à images fixes. L'éditeur publiera ainsi des films plus courts (19 cm contre 30 cm pour les films à 4 rangées d'images), plus pratiques à manipuler.

Les images pouvaient également être visionnées avec le Lucas "Eagle Eye". Il permettait de regarder une ligne d'images, puis après retournement la deuxième série.

Catalogue 1953-1954

 
Face avant de la pochette de films Eagle Vue intérieure de la pochette de films Eagle
Rare dossier de films Eagle. Cette double pochette contient un ensemble complet de films [7 x PC 49, 5 x The Great Adventurer (La vie de St Paul inspiré de la quatrième couverture du volume 1 du journal Eagle), 5 x Girl Films (dont 2 x Kitty Hawke, 2x The Life Story of Wilfred Grenfell, 1 x The Secret of Manor School), 2x Riders of the Range, 1x Seth & Shorty, 1x Dan Dare]. La couverture reprend le style cuir rouge de la boîte du projecteur.

Images aimablement transmises par David Britton
 



La visionneuse Eagle Eye permettait de regarder les films Eagle.

Eagle Eye (Minicine Viewer)
Martin Lucas Limited
Brevet 700.300 du 7 janvier 1952, applicable au 7 octobre 1950 (24535/50)
195x
35mm
VST-EAGL-001 (2)


 
Notice jointe au Minicine
Les premiers modèles étaient marqués Minicine Viewer.
Cette visionneuse comportait un réglage : l'objectif était monté sur glissières. Ainsi, après avoir regardé la première ligne d'images, il était possible de faire coulissé l'objectif afin de regarder la ligne d'image suivante. Il suffisait de répéter l'opération pour visionner les troisième et quatrième lignes.
Fabricant du modèle présenté ci-contre: Martin Lucas Limited - Glebe Mills - Hollinwood - Lancs
VST-EAGL-001 (1)
 
Le brevet 700,300 déposé à Londres par Lucian Hopmeier pour le compte de Martin Lucas, 151 Drury Lane, Hollinwood, Lancaster, sera obtenu le 25 novembre 1953 avec application au 7 octobre 1950. Le principe qui différencie cette visionneuse est la possibilté de regarder des films à plusieurs rangées d'images.
Lucian Hopmeier, autrichien, est également l'inventeur d'un accessoire vestimentaire permettant de maintenir la chemise dans le pantalon ! (brevet français 789 646 demandé le 6 mai 1935)
 
 
 
 
     

 

TV CINE (195x)

le TV Cine est une variante du projecteur Eagle inspirée de la forme avant d'un téléviseur: l'image produite est projetée par l'intermédiaire d'un miroir sur un écran translucide.

T.V.cine
Martin Lucas Ltd, Oldham, Lancashire
195x
Ecran de projection en métal peint
PR2-MALU-003



Extrait de la notice Martin Lucas 1953-54

Ce système simple permettait ainsi d'obtenir une image de type téléviseur à l'aide d'un dispositif à prix abordable. La qualité de l'image obtenue est juste satisfaisante. A la même époque un dispositif similaire était proposé en Espagne pour le système Nic, le Reflex Nic.
 
     

 

MINICINE (1949)

le Minicine

Après une expérience courte d'adaptation du Dux Kino allemand produit en Grande-Bretagne vers 1945 sous la dénomination Baby Movie, le fabricant Martin Lucas rebondit cinq ans plus tard avec ce projecteur à images animées utilisant des films à 4 lignes d'images. Ce projecteur robuste, en métal moulé comme l'avait été le Baby Movie, existait en deux versions :

- l'une courte est alimentée uniquement par un transformateur secteur. Une version de cet appareil fut adaptée à la mode Walt Disney sous le nom de Disneyland Movie.

Eagle Minicine
Martin Lucas Ltd. Hollinwood, Lancs. England
~1949
Aluminium peint en gris craquelé
PR2-MALU-004
 

- l'autre longue peut être alimentée par secteur ou par piles. un boîtier de piles est ainsi logé dans la base élargie de l'appareil.

Minicine
Martin Lucas Ltd., Glebe Mills, Hollinwood, Manchester
~1949
Aluminium peint en noir granité
PR2-MALU-006
  / ACR 0787


Un astucieux mécanisme permet de jumeler les deux mouvements de déplacement du film en bande : le mouvement horizontal de défilement lent et un mouvement vertical de vague permettant de projeter successivement les images des lignes 1-2-3-4-3-2-1-2-3...

L'animation obtenue grâce aux 4 rangées d'images est plus fluide que celle obtenue par les films à 2 rangées.
L'ensemble de l'appareil est actionné par une manivelle. C'est certes moins pratique que le moteur à ressort des Dux, mais cette faiblesse devient un atout en permettant de projeter des images fixes : il suffit d'arrêter de tourner la manivelle pour que tout mouvement cesse et permette ainsi de visionner une image en continu. Seront ainsi produits des films, souvent pédagogiques ou encyclopédiques, ne comportant que des images statiques et des pages de textes.



le Minicine court


Boîte emballage Couvercle de boîte

Cet appareil fonctionne avec un adaptateur secteur. Ainsi la base peut être plus étroite puisqu'elle ne doit plus faire la place au compartiment des piles. Cette forme plus compacte fera son succès avec le modèle Disneyland Movie aux couleurs de Walt Disney.
Le fonctionnement sur adaptateur comporte quelques conséquences : des avantages avec un éclairage plus fort et plus stable (en non pas fonction de l'usure des piles) et une source électrique permanente (il est frustrant de voir les piles tomber en panne au milieu d'une séance de projection), mais aussi des inconvénients avec une sécurité électrique moindre (le secteur électrique est plus dangereux que les piles) et une portabilité réduite (il faut rester à proximité d'une source électrique).



le Minicine long

Publicité datant de 1950 Publicité parue dans le journal Eagle en 1950

Boîte contenant l'appareil simple intérieur du rabas d'un Minicine Set

 
Détails techniques du Minicine (modèle à base élargie). L'axe principal mû par la manivelle entraîne un deuxième axe par l'intermédiaire d'une roue à 6 crans qui avance d'un cran à chaque demi-rotation de la manivelle. Cet axe secondaire réalise les deux mouvements : d'une part la came qui détermine la hauteur de la glissière (choix de la rangée d'images projetée) et d'autre part la vis sans fin qui permet le défilement du film.
 
Vue permettant de voir le fonctionnement de la tige de débrayage : en appuyant sur cette tige, la vis sans fin et la roue dentée sont désolidarisées, le film est donc indépendant du mécanisme. En maintenant l'appui sur la tige de débrayage et en la faisant tourner, on peut déplacer rapidement le film. Ceci est très utile lors du chargement du film pour le faire rapidement avancer jusqu'à la première image
 
Le 19 février 1946 une demande de brevet est déposée par Fritz Pächt, un autricien, représentant Miguel Enrique Nebel, un uruguayen habitant l'hôtel Ritz de Barcelone (!). Le même brevet sera déposé dans plusieurs pays (Irlande 7 février 1947, Etats-Unis 13 février 1947, Suisse 16 juin 1949, Allemagne 14 janvier 1952).
Fritz Pächt habite alors 78 Drury Lane, Hollinwood, Manchester et la société Martin Lucas Ltd se trouve au 151 Drury Lane...
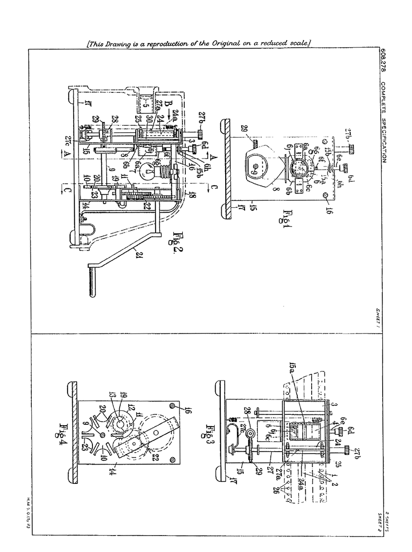
Ce brevet 608.278 décrit un mécanisme de projecteur pour films à plusieurs rangées d'images. On peut y retrouver les élements essentiels du Minicine :
- la glissière du film, avec un mouvement vertical commandé par une came et une roue en croix de malte (la forme définitive sera différente).
- les deux axes verticaux permettant les réglages et la mise en place.
Brevet anglais 608.278 Brevet anglais 608.278 Brevet anglais 608.278 Brevet anglais 608.278 Brevet anglais 608.278
  Brevet anglais 608.278 Brevet anglais 608.278
 
   



Les films 35 mm de large étaient à 4 images superposées (et non 2 comme la majorité des autres appareils à images alternées). Les premiers thèmes abordés étaient extraits de la revue Eagle (le héros Dan Dare en était une figure emblématique). Par la suite, grâce à une licence Disney la gamme de films animés était devenue assez large. Il existait aussi des films pédagogiques à images fixes.
Fabriqué par Martin
Lucas Ltd à Balham (South London) et Glebe Mills, Hollingwood (Lancashire), il se définissait comme 'The Best Toy Projector Ever Made' (le meilleur projecteur jouet jamais fabriqué).




 
Le mode d'emploi enseigne sur la qualité de conception de l'appareil: la bague [7] de la manivelle [1] permet d'adapter la projection à des films à images fixes ou alternées, le commutateur [2] choisit l'alimentation externe ou l'alimentation interne à piles (5 grosses piles rondes), la molette [4] permet l'avancement ou le débrayage du film, la molette [5] centre la lentille de projection par rapport à l'image, l'objectif [6] se met au point selon la distance de projection. Chacune de ses fonctions est une merveille de simplicité et d'efficacité.
 
Un transformateur Minicine Transadaptator permet d'alimenter le projecteur d'une façon plus économique que par piles. Cet adaptateur se branche sur une douille de lampe classique (modèle de douille dit à baïonnette). Le transformateur intégré abaisse la tension secteur (200 à 250 volts alternatifs) pour l'amener aux 6 volts nécessaires à la lampe. A l'arrière du projecteur le commutateur reste bloqué en position "secteur" dès lors que la prise du transformateur est enfichée. Voir autres Accessoires
 
La base de l'appareil comporte une trappe permettant d'accéder au logement des piles. Cinq piles rondes de 1,5 volts alimentent l'ampoule. Le commutateur d'alimentation ne peut être manoeuvré en position "piles" que si la prise de l'adaptateur secteur est retirée.
Sur le modèle court, l'absence de ce compartiment a permis de donner une forme plus trappue et ramassée au projecteur.
 
L'appareil était notamment vendu sous la forme d'un ensemble complet dénommé Minicine Set. La boîte cartonnée recouverte de papier à grain rouge imitant le cuir contenait un projecteur, un transformateur, un film couleur et cinq films noir & blanc. Cette boîte était vendue £5.5.0d, les films supplémentaires film noir & blanc 2.6d chaque, en couleur 3.6d. Des écrans Minicine Screens existaient en deux formats, le 12"x18" (30x45 cm) vendu 9.0d et le 18"x27" (45x70 cm) à 18.0d.
Cette boîte était habituellement de couleur rouge unie. On en connaît toutefois au moins une version différente, recouverte d'un papier rouge à dessins colorés. Elle était apparue à l'occasion des fêtes de fin d'année 1951.
L'appareil et les films contenus sont ceux de la boîte classique.
 
 
Rare exemplaire de couleur rouge : la couleur commune du Minicine était noire.
Ce modèle adopte la même peinture granitée sur le boîtier en métal léger, mais cette fois-ci la peinture est d'une couleur rouge particulièrement seyante. J'ignore la rareté de ce modèle, ni s'il a été produit pour une occasion spéciale.
 
 
 

 

 

Sur les appareils on peut relever plusieurs adresses :
- Oldham, Lancashire
- Hollinwood, Lancs. England
- 151 Drury Lane, Hollinwood, Lancs. England
- Glebe Mills, Hollinwood, Manchester
Toutes celles-ci semblent bien être la même adresse de Oldham, près de Manchester. Ce n'est que plus tard qu'apparaîtra la dernière adresse londonnienne :
1 Ramsden Rd., London SW12

 

     

 

DISNEYLAND MOVIE (1951)

le Disneyland Movie (Minicine) fabriqué par Martin Lucas Ltd (Martin lucas Ltd. Glebe Mills Hollinwood, Manchester).

Disneyland Movie
Martin Lucas Ltd. Hollinwood, Lancs. England
~1951
Métal , couleur verte puis rouge
Film à 4 bandes d'images
PR2-MALU-005  


Le corps de cet appareil est entièrement métallique. Cet appareil est une version spéciale Disney du Minicine court : la construction de l'appareil et ses fonctionalités sont strictement identiques. Il nécessite donc un adaptateur électrique pour fonctionner.

http://members.lycos.nl/cinemat/minicindis.jpg
Notice Extrait du catalogue Minicine  1953-1954 Face avant de la boîte du Minicine Notice d'utilisation du Minicine court Face latérale de la boîte du Minicine Extrait de la notice Martin Lucas 1953-54

Cet appareil était également distribué aux Etats-Unis.

 
La construction du Disneyland Movie (identique au Minicine à base étroite) peut être comparée à celle du Minicine à base large : les deux axes d'entraînement sont plus courts en raison de la forme plus compacte de l'appareil. Les autres composants sont marqués par l'évolution des techniques de fabrication: la came est métallique et non en bakélite, la lentille avant est fixée dans l'objectif, la lentille arrière n'a plus besoin d'être ajustable. Le reste est similaire.
 
 
 
     

 

SUPERMINICINE (1953)

le SuperMinicine

SuperMinicine
Martin Lucas Ltd. , 1 Ramsden Rd., London SW12
1953 >> 1958
Aluminium peint en argenté martelé
PR2-MALU-007
 
cm
15,5
18,5
7,5


World's most revolutionary movie and still projector "World's most revolutionary movie and still projector" "World's most revolutionary movie and still projector"

Devant de l'emballage Côté de l'emballage Couvercle supérieur de l'emballage

Ce projecteur était fabriqué par Martin Lucas Ltd. 1 Ramsden Rd. London SW12. C'est la première fois que cette nouvelle adresse est indiquée, jusqu'à cette date c'était l'adresse de Oldham qui était toujours indiquée.
 
La principale différence entre le Minicine et le SuperMinicine est une troisième molette destinée à ajuster le positionnement vertical du film. Cette option est particulièrement utile lors de la projection d'images fixes : ces images couvrant la totalité de l'écran, un mauvais alignement pouvait rogner une partie de l'image ou du texte projeté.

Une autre particularité : le SuperMinicine ne fonctionne qu'avec l'adaptateur secteur. La base est suffisamment large pour accueillir des piles comme le Minicine à base longue, mais l'appareil n'est pas équipé pour cela.

Ainsi à l'arrière de l'appareil il n'existe pas de commutateur permettant le choix de la source électrique.
De même le compartiment inférieur ne comporte pas les lames pour le contact et le maintien des piles.

Il est donc surprenant de constater que le "Super" est moins bien équipé que le modèle ordinaire. Et que ce modèle n'apporte rien de mieux que le Minicine court ou le Disneyland.
 
Les étiquettes, imprimées sur la trappe amovible du dessous des appareils, permettent de constater que l'adresse de l'entreprise a changé, passant de Manchester à Londres.
 
 

 

Reverend Marcus Morris (1915 - 16 mars 1989). Vicaire de St James's, Birkdale, Lancashire, après avoir repris Anvil en 1946 il créa Eagle en 1950 puis également Girl, Swift et Robin. Il quittera Eagle à l'automne 1959.
Au milieu des années 1940 il avait découvert un jeune dessinateur d'une école artistique (Southport School of Arts and Crafts) : Frank Hampson, dont il fera l'illustrateur et dessinateur de Anvil puis de Eagle. Ce journal paraîtra du 14 avril 1950
au 26 avril 1969 et renaîtra pour une deuxième période de 1982 à 1993.

Reverend Marcus Morris Couverture du Eagle pilote de 1949 Couverture du Eagle n°1

Enid Blyton : femme célèbre, auteur et créateur de personnages pour enfants (Londres 11 août 1897, Hampsted 28 novembre 1968). Elle a publié plus de 600 livres en 40 années de carrière. Elle est bien connue en France pour ses séries Le Club des Cinq, Les Six Compagnons ou Bennet.

Elle était chargée de la supervision de tous les films pour enfants édités par Martin Lucas.

Enid Blyton

De nombreux superviseurs moins connus ont travaillé pour Minicine:
- Cedric Mallabey (papillons)
- LJ Brimble et B.Berrys (mammifères, reptiles, histoire)
- JK Bays (magie)
- Jane Thornicroft (script de Walt Disney Series)
- Harry Ballam (divers)
- HF Bishop (zoo)
- O Marshall (abeilles)
- VB Marshall (oiseaux)
- ...
 
Accessoires pour Minicine et Eagle

 
Extrait de la notice Martin Lucas 1953-54

Les projecteurs Minicine pouvaient se satisfaire d'une projection faite sur un mur blanc, une porte ou un plafond. Cependant, Martin Lucas proposera deux écrans, en matière plastique blanche. La projection pouvait par exemple se faire en disposant le projecteur et l'écran à chaque extrémité d'une table.

Décor du carton d'emballage du projecteur
L'écran s'appellera MiniCine Silver Screen. Sur une structure en carton et bakélite, cet écran est aluminisé sur les deux faces. Des petits trous permettent de fixer un pied ou de suspendre l'écran.
 
Extrait de la notice Martin Lucas 1953-54
L'adaptateur secteur était vendu en option avec les projecteurs Minicine à piles et en standard avec les autres appareils. Il transformait le secteur 200/250 volts ~ en 6 volts.
 
Extrait de la notice Martin Lucas 1953-54
Cet adaptateur, plus puissant que le modèle précédent, était nécessaire pour pouvoir utiliser des ampoules plus puissantes, permettant ainsi d'obtenir une image plus lumineuse.

Extrait de la notice Martin Lucas 1953-54
Cet adaptateur était utilisé sur les réseaux électriques à courant continu. Le boîtier de taille imposante permet de protéger les enfants utilisant l'appareil car la résistance électrique contenue destinée à faire chuter la tension pouvait fortement chauffer.
 
   
 
     

 

FILMS MINICINE



Films pour les appareils Minicine et Eagle

Le catalogue complet des films disponibles pour les projecteurs Minicine et Eagle comprenait 314 titres différents (ils étaient édités au rythme minimum de 2 nouveautés par mois). On y trouve principalement des films destinés à un public d'enfants, basés sur les personnages classiques de la littérature enfantine, sur les héros publiés dans les bandes dessinées éditées par Eagle (pour garçons) et Girl (pour les filles) ou les personnages de Walt Disney.
Ces films étaient de trois formats différents:
- les bandes d'images fixes (92 images par film),
- les bandes à 2 images alternées (2 lignes d'images par bande)
- les bandes à 4 images alternées (4 lignes d'images par bande donnant une animation plus fluide).


MiniCine Films pour le SuperMinicine et les MiniCine 
4 lignes d'images animées. Longueur : 30 cm. - série Walt Disney (19 films)  
- Children's Series, série enfants dirigée par Enid Blyton (20 films)  
- Comic Stories (9 films)
- Adventure Stories (15 films)  
Minicine Still Films, films fixes pour tous les Minicine et Eagle
4 lignes d'images fixes. Longueur : 30 cm. - Miscellaneous, divers principalement sur la nature (48 films)
- Sport (18 films)
- Fables and Legends (20 films)
- Bible Stories (19 films)
Universal 2-Row Films pour le SuperMinicine et les Eagle 
2 lignes d'images fixes. Longueur : 19 cm. - Dan Dare, Pilot of the Future (16 films)
- P.C. 49 (14 films)
- Riders of the Range (12 films)
- Indian Stories (8 films)
- Adventure Stories (5 films)
- Mystery Thrillers (8 films)
- Miscellaneous, divers (11 films)
- T/V Comic Film (20 films)  
Universal 4-Row Films pour tous les Minicine et Eagle
4 lignes d'images fixes.
Longueur : 19 cm.
- Senior Films, dont la famille royale anglaise (11 films)  
- Junior Films (10 films)  
- Adventure Films (13 films)  
- Roy Rogers Films (4 films)  
Lilliput Films pour le Eagle Eye Viewer
  - 14 films de 15 images    


Liste complète des films (attention grande taille 380 ko chaque !):
Grande taille ! Big size ! Image recto de la liste des films Grande taille ! Big size !  Image verso de la liste des films

Images aimablement communiquées par Mike Mead, Carrollton, TX, USA

 
Eagle est un périodique de bandes dessinées créé par le Reverend Marcus Morris dans le but de riposter aux bandes dessinées américaines. Sa première édition est datée du 14 avril 1950 auprès de Hulton Press.

- Sélection de "Eagle Film-Strips" et de la série radio : PC 49.
P1 : P.C. 49 and the Bank Robbers
P2 : P.C. 49 and the Case of Two Fingers
P3 : P.C. 49 and the Black Dove
P4 : P.C. 49 and Q7 to the Rescue
P5 : P.C. 49 and the Terror of Limehouse
P6 : P.C. 49 and the end of the Black Dove
P7 : P.C. 49 and the Circus Mystery
P8 : P.C. 49 in a case of Kidnap
P9 : P.C. 49 and the case of Killers Keep
P10 : P.C. 49 and the Terrible Twins
P11 : P.C. 49 and the Whizz Bang Kids
P12 : P.C. 49 and the Case of the Curious Crab
P13 : P.C. 49 and the case of the Golden Eagle
P14 : P.C. 49 and the case of the Little Black Prince

Les exploits du Police Constable Archibald Berkeley-Willoughby ont commencé à la radio le 27 octobre 1947, écrits par Alan Stranks. Le thème a ensuite été repris en bandes dessinées à partir du 14 avril 1950.
Dessins de Strom Gould, puis John Worsley (certains albums seront dessinés par F. G. Moorsom).

Couverture d'une des bandes dessinées de PC 49

Dan Dare
D1 : Journey to Venus
D2 : Dan Dare meets Treens of Venus
D3 : Captive on Venus
D4 : Escape from the Treens of Venus
D5 : Rescue in southern Venus
D6 : Dan Dare strikes back
D7 : War on Venus
D8 : Saves from the Treens
D9 : Revolt of Slaves
D10 : Battle in Space
D11 : Dan Dare's return from Venus
D12 : Dan Dare settles accounts
D13 : Dan Dare and the Red Moon
D14 : The Red Moon Mystery
D15 : Marooned on Mercury
D16 : The Mekon's Secret
"Dan Dare, pilot of the future" a été créé par Frank Hampson (Manchester 21 décembre 1918, Epsom 8 juillet 1985) . Ses bandes dessinées ont été publiées dans Eagle d'avril 1950 à 1969. Il fut également un héros de la radio du 3 juillet 1951 jusqu'au 25 mai 1956.

Films D8 et D9 avec le héros Tommy Walls, the Wonder Boy, autre création de Frank Hampson.

Journal Eagle n°1 Frank Hampson

Riders of the Range
R1 : Gun Law on the Border
R2 : On the Rustler's Trail
R3 : End of the Trail
R4 : Apaches on the Warpath
R5 : Arnold the Peacemaker
R6 : Tha Ranger was right
R7 : Bandits on the Rio Grande
R8 : Jeff Arnold beats the Bandits
R9 : The Mystery of Ghost Mountain
R10 : Jeff Arnold and Travelling Circus
R11 : Jeff Arnold and the Black Shadow
R12 : Return of the Black Shadow
Le western et ses héroïques cowboys étaient dépeints par Charles Chilton (Bloomsbury, 1917) à la radio de 1948 à 1953. Thème repris ensuite en bandes dessinées (dessins par Frank Humphris, 31 mars 1911 - mars 1993) et en films.


Jeff Arnold
R8 : Jeff Arnold beats the Bandits
R10 : Jeff Arnold and Travelling Circus
R11 : Jeff Arnold and the Black Shadow
R13 : Jeff Arnold and the Lost Bonanza
R14 : Jeff Arnold in the War with Geronimo
Personnage créé par Charles Chilton, il est extrait de la série "Riders of the Range".

Luck of the Legion
U1 : Luck of the Legion
Les Corporal Trenet et Legionnaire Bimberg sont les personnages principaux qui entourent Luck of the Legion, le héros principal de légionaire français créé par Martin Aitchison. Les scénarios étaient de Geoffrey Bond (connu également sous le peudonyme de Alan Jason).

     

 

US UNCLE SAM'S PROJECTOR 400 (1934)

le Uncle Sam's Movie Projector américain de Durotone était distribué au Royaume Uni.

Uncle Sam's Movie Projector (n°400)
Durotone (Durable Toy and Novelty)
Brevets américains 1,963,454 du 19 juin 1934 & 1,963,455 également du 19 juin 1934
1934
Bande papier à 2 bandes d'images
Métallique
PR2-USAM-001
  


Notice de l'appareil distribué au Royaume Uni.

Liste des films:
Chaque série comprend 6 films et 3 disques double face, chacune des faces correspondant à une histoire.
- set n°50 Popeye : A Dream Walking, The Man on the Flying Trapeze, Loves Labour Won, Desert Isle, The Hero, The Duck Hunt.
- set n° 120 Fairyland Tales : Tortoise and the Hare, Pied Piper of Hamelin, Visit to Santa Claus, Three Little Pigs, Mary had a Little Lamb, Pirates Bold.
- set n°110 Famous Artits Characters : Dick Tracey in Catch that Thief, Dick Tracey in The Mystery Doctor, Jackie Cooper in Treasure Island (2 films), Moon Mullins in Ali Baba and the Forty Thieves (2 films).
- set n° Fairyland Tales : Punch and Judy, Alice in Wonderland, Little Red Riding Hood, Humpty Dumpty, Hansel and Gretel, Jack and the Beanstalk.
Billy Bunter of Greyfriars School



Films 16mm en boucle distribués avec et pour les projecteurs suivants : Dan Dare Viewer, SEL Ace Projector, Merit

Ce personnage, créé en 1908 par Frank Richards (de son vrai nom Charles Harold St John Hamilton; Ealing, Middlesex 8 août 1876 - 24 décembre 1961), a largement été repris sous toutes les formes d'édition, de la bande dessinée (dans The Magnet) au film, émission de télévision. Anti-héros aux formes généreuses, son caractère était très marqué : menteur, voleur, avide, parfois raciste. Au gré de ses histoires son caractère s'est progessivement adouci pour ne plus retenir que l'aspect comique. 


Punch and Judy



Punch est une marionnette dont l'origine remonte au personnage de Pulcinella de la Commedia dell' Arte (14ème siècle). La première description en a été faite le 9 mai 1662 par le chroniqueur anglais Samuel Pepys. La marionnette poupée a été créée par Fred Tickner en 1934. Ce dernier sera également le créateur de la poupée Muffin the Mule.

Les personnages entourant Punch se nomment Judy son épouse, Baby leur enfant, Toby le chien, Paddy le gendarme, Joey le clown, Beadle, Jim Crow, Jack Ketch le bourreau, le Crocodile, Devil le diable, Ghost le fantôme de judy, Doctor le médecin, Hector le cheval, ... Ce personnage s'appellera Polichinelle ou Guignol en France, Kaspar en Allemagne, Panza en Espagne,...


Muffin the Mule apparaîtra comme héros principal à la télévision de 1946 à 1955. Son personnage avait été imaginé par Jan Bussell et son épouse Ann Hogarth en novembre 1934, sa poupée étant construite par Fred Tickner dans le cadre de l'émission Hogarth Puppets, une des premières expériences de la télévision anglaise.

Présenté à la télévision par Annette Mills (Chelsea 1894; 1955) qui l'accompagnait au piano, Muffin the Mule sera ensuite rejoint par d'autres marionnettes : Mr Peregrine Esquire, Louise the Lamb, Monty The Monkey, Willie The Worm et Oswald the Ostrich.

Fred Tickner
     

 

TELEVISION CUT-OUT (1964)

Le Television cut-out est un produit un peu particulier : il s'agit d'un appareil contenu dans un livre. Après découpage et montage vous obtiendrez ainsi un projecteur ayant la forme d'un téléviseur.

Television cut-out
Bancroft & Co (Publishers) Ltd., , Westminster London SW1
Brevet 11,420 du 3 décembre 1908 applicable au 26 mai 1908
1964
Images contenant 2 scènes de couleurs différentes
Livre contenant un téléviseur à découper et à monter et des images à 2 phases dont l'animation stéréoscopique est rendue par des filtres colorisés.
PR2-BANC-001
  


Couverture du livre Composants du Television cut-out

Le livre est nécessairement détruit pour construire l'appareil.
L'animation est réalisée en passant des filtres colorés devant une image comportant plusieurs vues superposées. Le principe de ce type d'animation avait été posé par un pionnier de l'image stéréoscopique, Theodore Brown, en 1908.

Le même principe sera également adopté par le fabricant canadien de Toronto, Peter Austin, pour son projecteur Animatic.
Le principe de ce genre d'animation stéréoscopique a été imaginé par Theodore Brown en 1908 : chaque image présente deux scènes de couleurs différentes qui peuvent être regardées alternativement grâce à des filtres colorés. Les deux scènes contenues présentant deux phases d'un mouvement, la vision alternative de l'une et l'autre scène donne ainsi l'illusion du mouvement. L'auteur déposera son principe avec son épouse Bessie Kate Brown dans le brevet 11,420 anglais du 3 décembre 1908 applicable au 26 mai 1908, et qui sera vendu sous le nom Pocket Kinematograph.



Le même brevet sera déposé en Autriche (40698B du 21 novembre 1908), en Suisse (47283 du 22 mai 1909)



Le brevet donne quelques explications complémentaires : deux images représentant chacune une phase d'un mouvement sont imprimées en une couleur différente, rouge et verte, sur un même support papier. Pour obtenir l'animation deux filtres transparents colorés selon les mêmes couleurs sont passés alternativement devant l'image composite : au travers du filtre vert seule l'image imprimée en rouge est vue, puis lorsque le filtre rouge est appliqué seule l'image verte est visible. Ainsi en passant les filtres alternativement, c'est donc successivement l'une et l'autre image qui sont révélées : le mouvement est alors reconstitué, interprété par notre cerveau et par la persistence rétinienne.
Ce principe d'image en deux couleurs était auparavant connu pour restituer des images stéréoscopiques en relief.



Theodore Brown (1870-1938), journaliste, était un inventeur productif de jouets optiques sur les images stéréoscopiques, les livres animés en relief (pop-up books), films en 3D, puzzles, etc... Sur l'image ci-contre il présente son invention le Spirograph, film imprimé en spirale sur un disque.


Bancroft & Co (Publishers) est une société d'édition qui, dans les années 1950 & 1960, éditera de nombreux livres animés, des "pop-up books". Ces livres étaient essentiellement fabriqués en Tchécoslovaquie à Prague par la société Artia.

     
mise à jour le dimanche 1 mars, 2009 /// http://project.mettavant.fr

Selic, Jecktor, Minicine, toy, projector, viewer, Dux, Nic, vintage, projecteur, projektor, proiettore, proyector