SUISSE

|
Les projecteurs à images alternées n'ont été présents en Suisse que grâce au Cine Trixine, un appareil de la famille des Dux Kino allemands
|
|
| |
|
|
|
CINE TRIXINE (1950) |
le Dux Kino
Trixine Ciné
Tenag S.A. à Neuchatel
Brevet 290.915 obtenu le 31 mai 1953 & brevet américain 2.047.521 du 14 juillet 1936
~1950
Film 35mm à 2 bandes d'images
Bakélite verte
PR2-DUXS-001 |
|
Cet appareil est apparu sur le marché suisse vers 1950. Le boîtier en bakélite est en une seule pièce. La marque Trixine est indiqué au travers du globe terrestre moulé en relief, l'écriture "Ciné" est en langue française. Il était fabriqué par Tenag S.A. à Neuchatel.
L'emballage est identique à la boîte du Sélic français.
| |
|
|
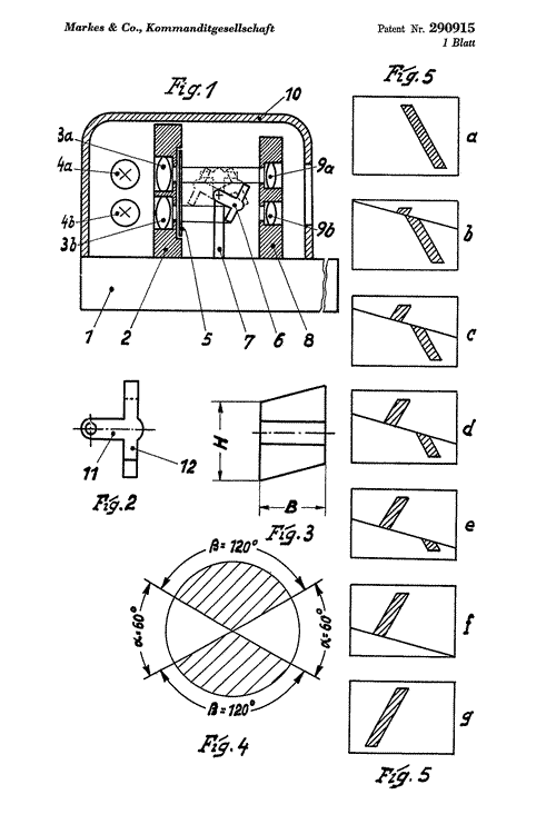
Le 26 octobre 1950 (à 18 h. !), la société allemande Markes & Co de Lüdenscheid dépose une demande de brevet par l'intermédiaire de son mandaté Eritz Isler de Zürich. Mentionnant l'antériorité du brevet allemand déposé le 21 avril 1950, il décrit le même mécanisme que celui du Dux Kino 40. Nul doute que c'est ce brevet qui donnera naissance au Trixine, même si sur le boîtier il est fait référence au brevet américain 2,047,521. |
| |
|
|
La
référence au brevet américain est étonnante : il aurait été plus
probable que la référence soit faite au brevet original allemand,
plutôt qu'à sa transcription américaine.
D'autre part le brevet américain est celui du modèle MM, tandis que le brevet suisse décrit un modèle de type 40, plus conforme à la technologie du Trixine. |
| |
|
|
Plusieurs différences importantes sont à remarquer dans ce projecteur
de fabrication originale : contrairement au brevet suisse, l'alternance
de la projection est obtenue par un système à deux ampoules. Mais
surtout le distributeur électrique est très différent
des autres projecteurs Dux : sur le modèle allemand le contact qui
allume les ampoules est obtenu par un frotteur parcourant un disque
(comme le bras d'un lecteur de disque), tandis que dans le Trixine le
contacteur tourne au centre d'un trou percé dans la bakélite et tapissé
de bornes en cuivre. |
|
Le boîtier est en bakélité, mais à la différence des autres petits projecteurs Dux ou Sélic ce boîtier est moulé en une seule pièce qui recouvre la totalité de l'appareil. Sur le dessus est moulée la marque Trixine Ciné.
Aucune marque de fabrication n'est indiquée sur le boîtier ou le mécanisme. |
| |
|
|
Le projecteur Trixine était également en vente aux Etats-Unis, par les vendeurs G. & R. de Chochor, 150 Broadway à New-York. |
|
|
Le 24 octobre 1934, la société espagnole Paya Hermanos
située à Ibi (Alicante) déposait une demande de brevet pour un appareil
de projection comprenant un dispositif sonore : c'était le même modèle
que celui espagnol couvert lui aussi
dans son pays par un brevet déposé le 20 février 1934. Mais il semble
bien que cet appareil ne connaîtra pas de production helvétique.
|
|
Une demande de brevet a été déposée le 18 février 1947 par l'inventeur Miguel (Migual dans le texte) Enrique Nebel de Barcelone. Le brevet sera publié le 16 juin 1949. Cet appareil est semblable au Minicine anglais et le même brevet a été déposé dans plusieurs autres pays. Aucune information ne permet de dire que cet appareil ait été fabriqué en Suisse.


|
|
| |
|
|
 |
 |
|
| |
Quelques appareils curieux
|
|
| |
|
|
 |
Selic, Jecktor, Minicine, toy, projector, viewer, Dux, Nic, vintage, projecteur, projektor, proiettore, proyector |
|
| |
|
|