FRANCE



Les projecteurs à images alternées arrivent en France au début des années 1930 par l'exploitation de la licence espagnole du NIC permettant la construction du NIC français suivi peu après par le NIC 2 , "Le Cinéma des Enfants". Ensuite fin 1936 et début 1937 sur les principes de deux brevets de Mario Sassoli apparaissent d'une part le petit EGDA en bakélite et d'autre part un modèle démontable en carton inspiré de la technologie du Nic, le Ciné Mickey. En 1950, le Ciné Egda dont la production avait été reprise par la société Sélic voit apparaître son successeur, le Ciné Sélic MM , puis le Ciné Selic 3 et un version lourde métallique le Midi Ciné en 1953. En parallèle et dans les années 1950, le NIC 2 se décline en une version NIC télévision. En complément et en allusion au Nic le Cinéma des enfants, je terminerai ce panorama des appareils français par le Cine Enfant, amusant jouet permettant de visionner des images animées.

Fabricant
Appareils
Films
Remarque
Nombre
images
Support
Longueur
cm
SELIC NIC
NIC 2
NIC télévision
2
Papier
  Brevet Nicolau
EGDA Egda Ciné MM
2
Film
  Brevet Sassoli
SELIC Ciné Sélic MM
Ciné Selic 3
Midi Ciné Sélic
2
Film
  Brevet Sassoli + Markes
  Ciné Mickey
2
Papier
  Brevet Sassoli
EJIP Ciné Mime
4
Film
   
  Ciné enfantin
2
Papier fixe
   

Les projecteurs Ciné Sélic
[principe] [emploi] [modèles français]


Principe

Le principe d'animation est simple mais astucieux : le film comporte deux séries superposées d'images

claude.mettavant@wanadoo.fr



et, pendant que le film avance, le projecteur affiche alternativement une image de chacune des séries, créant ainsi une illusion de mouvement dans des séquences enchaînées.

claude.mettavant@wanadoo.fr
+
claude.mettavant@wanadoo.fr
=
claude.mettavant@wanadoo.fr
image du haut
 
image du bas
 
résultat

Le résultat était satisfaisant , les histoires étaient bien construites pour exploiter au mieux les images alternées et le mouvement de défilement lent du film.

Emploi

Le mode d'emploi du Sélic 3 instruit sur la démarche commerciale et la façon dont le produit était proposé au public :

Ciné "Sélic"
Le Ciné "SELIC" Breveté permet à chaque enfant de donner chez lui de belles représentations cinématographiques à peu de frais.
En effet, il projette des films de 25 cm. de long qui donnent des projections d'une durée de 5 minutes. Une durée de projection semblable ne peut être obtenue avec un autre Cinéma que le "SELIC" qu'avec des films ayant 40 mètres de long et dont le prix équivaut à celui de 20 films "SELIC" environ.
Les films, très variés, montrent des aventures gaies, des contes de fée, des films instructifs et de nombreuses projections toujours intéressantes.
Ils peuvent être projetés sans le secours d'un écran, sur une porte blanche, sur le plafond et même sur un drap de lit, à la distance d'un mètre.

Cette distance permet d'avoir un bon chevauchement des images.
Le Ciné "SELIC" est d'une construction ingénieuse. Le boîtier est en matière moulée de belle présentation, d'une forme moderne et d'un fabrication extrêmement soignée.
Le Ciné "SELIC" est un des rares jouets pouvant être utilisés par un enfant malade, car celui-ci peut projeter sans danger des films "SELIC" dans son lit, étant donné que le courant électrique est fourni par une pile identique à celle employée pour la lampe de poche.

L'appareil fonctionne avec une pile plate de 4,5 volts.
La notice précise ensuite :

Les films "SELIC" sont des films ininflammables, leur emploi est absolument sans danger.
En cas de panne pour une cause indétreminée, il est conseillé d'expédier, par l'intermédiaire d'un dépositaire, le Ciné "SELIC" à la fabrique, où le nécessaire sera fait rapidement.
Le Ciné "SELIC" est en vente dans tous les grands magasins, bazars et commerces de jouets, photographes, etc...

Dudley Milbank Fegan, habitant Brisbane, Queensland, Australie, a demandé un brevet le 24 juin 1935 présentant un moyen pour réaliser le mouvement d'images par projection sur écran d'un cliché fixe. Le brevet 791.677 ainsi obtenu le 30 décembre 1935 décrit des images comprenant de petites bandes de deux images assemblées alternativement sur une même image, le projecteur étant doté d'une sorte de herse lui dissimulant tantôt les bandes de la première image tantôt celles de la seconde.
Sur l'image ci-contre, extraite du brevet, on peut apercevoir que la figure 10, lorsqu'elle est projetée, donne le résultat 11 ou 12 selon la position de la grille filtre.
Le même brevet a été demandé le 27 octobre 1936 aux Etats-Unis (N° 2,058,581) par le même déposant au nom de la société Animated Slides Limited de Canberra, il faisait référence au brevet original australien du 9 juillet 1934.


Le 16 novembre 1960, Jean de Montrémy et Jean-Véran Dejoux dépose une demande de brevet : ceci concerne un système de deux films comprenant l'un des images de rang pair et l'autre de rang impair qui par projection alternée permet d'obtenir une animation. C'est exactement le brevet des cousins Nicolau, revu presque 30 ans après. Ce brevet, n° 1.280.047 attribué le 20 novembre 1961, verra finalement sa délivrance ajournée sans qu'on en connaisse la cause.

     

NIC (1933)


Le projecteur NIC était fabriqué par Egda sous licence. Le brevet original avait été déposé par Tomàs Nicolau, le créateur du NIC espagnol, à Paris le 28 décembre 1931.
NIC (Projecteur Nic pour dessins animés, breveté) Egda (Etablissements Giacomo de Andreis), 33 rue Saint-Esprit, Marseille brevet du 28 décembre 1931 déposé en France par Tomàs Nicolau, le créateur du NIC espagnol 193x
Film papier à 2 lignes d'images
carton noir à dos rectangulaire, base métallique
PR2-NICF-001
cm
12
27
13

Ce premier modèle fabriqué en France par Egda est directement inspiré du modèle espagnol Nic 1ère époque à base de métal : il utilise les bandes de films larges et le boîtier de lampe est en carton.

Logotype

La base de ce modèle a une forme spécifique, dont la partie verticale fait tout le tour de l'appareil sans être coupée dans les angles comme sur les autres appareils espagnols.


Images aimablement communiquées par Gérard Masson
Sur ces images de la face avant de la boîte en carton, on trouve la confirmation du nom du fabricant, accompagné d'une amusante définition : "Le jouet EGDA. Fabricants et distributeurs exclusifs pour la France et les colonies".

Les Etablissements Giacomo De Andreïs sont créés à Marseille en 1922. Cette entreprise est spécialisée dans la fabrication d'objet en fer blanc décoré (boîtes, plaques publicitaires, jouets).
Jouets EGDA, 33 rue Saint-Esprit, Marseille
Boîte de "Biscuits Schagen Marseille" marquée à l'arrière "G de Andreis SA Marseille".  Plaque publicitaire en tôle produite par Egda n°3186 Plaque publicitaire en tôle produite par Egda
Plaque publicitaire en tôle produite en 1957

Les établissements De Andreis sont notoirement connus pour l'une de leur création : en 1915 Pierre Lardet, le fondateur de Banania, demandera à son ami d'études, De Andreis, de créer un personnage pour illustrer ses boîtes de chocolat : ce sera le célèbre tirailleur.

Boîte de chocolat Banania

En 1936 la marque EGDA est déposée, elle sera désormais la signature des produits de l'entreprise.
Les dessinateurs seront N.Tasso, Capello

pichet Egda vers 1937 Plaque publicitaire  pastis Berger Toupie Egda desserte Egda vers 1937

Toupie Egda

Le 11 avril 1956 Giacomo de Andreis a déposé un brevet 1.146.493 proposant de renvoyer l'image de son projecteur sur un écran diffusant (rémanent pour adoucir les transitions d'image). Cette idée ne semble pas avoir connu de réalisation pratique.

Dessin du brevet 1.146.493
     

NIC (1936)

NIC (Projecteur Nic pour dessins animés, breveté) Selic (Société d'Exploitation de Licences Industrielles et Commerciales), Marseille 1936
Film papier à 2 bandes d'images
Métal et carton
PR2-NICF-002



Cet appareil apparaît comme mixte : il possède la boîte de lampe du Nic 1ère époque mais la partie avant est celle des Nic 2ème génération à bande de film étroite. La base métallique a connu plusieurs formes. Le système d'éclairage ne comprend qu'une seule ampoule.

Logotype NIC, sur le côté de l'appareil Gros plan sur le logotype NIC, sur le côté de l'appareil
 
Mécanisme démontré d'un Nic français
En démontant un appareil pour le restaurer, j'ai découvert une chose surprenante : la tôle utilisée pour les pièces mécaniques internes était recyclée ! Ainsi dans l'appareil concerné, la tôle avait servi d'expérience pour plusieurs essais :
- Kuhlmann ... arsenic et plomb
- Lutte contre le...
- Marchet Arrêt.

Il n'y a pas de petites économies !
 
Première page du brevet 722138
Le 29 août 1931, Tomas Nicolau y Grino et José Maria Nicolau y Grino déposaient à Paris une demande de brevet concernant un appareil pour la projection d'images animées sur un écran. Ce brevet leur sera accordé le 28 décembre 1931 sous le numéro 722.138 . Le principe de film à deux séries d'images et l'alternance obtenue par un obturateur y étaient décrits.
  Brevet français 722 138 Nicolau Brevet français 722 138 Nicolau Brevet français 722 138 Nicolau
 




 
 
 

Une troisième version toujours en carton et métal a existé, le boîtier contenant l'ampoule ayant cette fois un dos arrondi.
NIC (Projecteur Nic pour dessins animés, breveté) Egda brevet du 28 décembre 1931 déposé en France par Tomàs Nicolau, le créateur du NIC espagnol
Film papier à 2 lignes d'images
carton noir à dos arrondi, base métallique
PR2-NICF-003



Ciné NIC français (extrait catalogue selic)

Ce projeteur de fabrication française se différencie de ses homologues espagnols par quelques détail pratiques. Deux sont à remarquer :
- le système de débrayage du film, utilisé pour libérer la bobine réceptrice de la manivelle lors du rembobinage du film, est plus simple et plus efficace que les sytèmes précédents. Le débrayage s'obtient pas simple rotation de la petite plaque circulaire : une glissière excentique dégage les deux engranages de la bobine et de la manivelle.
- dans tous les autes projecteurs Nic l'engrenage de la manivelle est visible au travers d'une ouverture faite dans la platine. Sur ce modèle, la partie métallique de cette ouverture n'est pas enlevée mais astucieusement arrondie pour servir de protection et éviter l'accrochage de vêtements, de cheveux,...
 
     

NIC (export)

Une version était distribuée en Italie. Les films sont en langue italienne, mais la notice de l'appareil est en français !

Ciné NIC français diffusé en Italie Emballage du projecteur Nic français vendu en Italie



 
     

NIC 2 (1935)

Nic français n°2 (extrait publicité)


Le NIC n°2 , également connu sous la version Cinéma NIC Luxe, fut fabriqué de 1935 à 1939. Il se distingue visuellement du NIC n°1 par son dos arrondi métallique.
Il avait également été distribué sous le nom de Cine Tom , "le ciné des enfants" (Tom le cowboy était un des personnages espagnols des films NIC)

NIC (N° 2) Cinéma NIC Luxe Egda (version des années 1930) puis Selic (Société d'Exploitation de Licences Industrielles et Commerciales), Marseille brevet du 28 décembre 1931 déposé en France par Tomàs Nicolau, le créateur du NIC espagnol 1935 >> 1939, puis 195x
Film papier à 2 lignes d'images
Métal vert, puis bleu
PR2-NICF-004



notice NIC fançais projecteur nic N°2 projecteur pour dessins animés brevete Façade avant de la boîte d'emballage Façade avant de la boîte d'emballage Nic français n°2 (extrait publicité)


 

Films proposés (films sur papier de 55 mm de large, axe en carton, petit emballage) :

il est à noter que sur ces films l'axe central est métallique, ainsi que dèjà vu dans les premiers films espagnols, et non en carton comme les autres productions françaises.

Emballage de film
Emballage imprimé par Imp. Marseillaise

Liste des Films   Avec autorisation de Walt Disney  
1. Le Gand Prix
2. Les Souris Aventureuses
3. L'Arche de Noë (intitulé sur le film "L'Arche de Noë - Le Déluge"
4. Gulliver à Lilliput
5. Mio Dentiste
6. L'approche des Rois Mages
7. Le Paresseux corrigé
8. Le Menteur puni
9. Mio Barman
10. Les Nègres sonores
11. Le Renard et le Corbeau
12. La Cigale et la Fourmi
13. Le Petit Chaperon Rouge
14. endrillon et ses Soeurs

15. La Vengeance des Souris
16. L'Ile au Trésor
17. La Pie Voleuse
18. Le Petit Robinson (1ère partie).
19. Le Petit Robinson (2ème partie).
20. Les Deux Petits Lapins
21. Les Nains de la Forêt
22. La Fille du Meunier
23. Barbe Bleue
24. Le Cirque
25. Les Trois Fileuses
26. Les Deux Frères
27. Les Grenouilles envieuses *
28. Au Pays des Jouets

29. Donald n'est pas à l'heure
30. Donald équilibriste
31. Donald va à la chasse
32. Mickey est un petit malin
33. Les idées de Mickey (intitulé sur le film "Mickey a de ces idées)
34. Bien mal acquis
35. Pluto et la Souris
36. Pluto n'a plus confiance
37. Pluto n'aime pas les vêtements
38. Le Petit Cochon Tacheté
39. Donald chasseur
40. Donald jardinier
41. Donald peintre
42. La Petite Poule Sage
43. Les Trois Petits Cochons
44. Le Grand Méchant Loup
45. La Petite Souris Volante
46. Bambi (1re partie).
47. Bambi (2e partie).
48. Bambi (3e partie).
49. Bambi (4e partie).
50. Bambi (5e partie).
51. Blanche-Neige (1re partie).
52. Blanche-Neige (2è partie).
53. Blanche-Neige (3è partie).
54. Blanche-Neige (4è partie).
55. Blanche-Neige (5è partie).
56. Blanche-Neige (6è partie).
57. Dumbo (1re partie)
58. Dumbo (1è partie)
59. Dumbo (1è partie)
60. Dumbo (1è partie)
61. Le chat bandit
62. Pinocchio (1re partie).
63. Pinocchio (2è partie).
64. Pinocchio (3è partie).
65. Pinocchio (4è partie).
66. Les Trois Caballeros (1re partie)
67. Les Trois Caballeros (2è partie)
68. Les Trois Caballeros (3è partie)


Dans le mode d'emploi du NIC, on retrouve bien le petit enfant noir tel qu'il était dessiné pour le NIC espagnol. Mais la scène est bien différente : au lieu de chevaucher fièrement un éléphant, il se retrouve marchant sous le regard affamé d'un lion.
Cette image illustre les catalogues de films pour Nic, y compris en Espagne.
Notice du Nic 2 français (recto) Notice du Nic 2 français (verso)
Notice de l'appareil : "Projecteur pour dessins animés, NIC breveté, Le Cinéma des Enfants".
Elle rappelle que l'écran doit être placé environ à 60 centimètres. L'ampoule conseillée est de 20 à 60 watts.
Elle indique "son emploi est des plus simples et ne présente aucun danger" et complète "il peut être mis entre les mains de tous les enfants qui arriveront très rapidement à comprendre le fonctionnement de l'appareil".
Les mêmes arguments de sécurité seront repris plus d'une décennie plus tard pour le projecteur Sélic !




Film Nic

 
 
     

NIC TELEVISION (1953)


Le NIC Télévision est apparu au cours des années 1950 (le premier modèle espagnol est sorti en 1951). Ce modèle français bénéficie d'une esthétique similaire au modèle espagnol de 2ème génération, le Cine Nic Television. La seule différence visible est une façade plus dépouillée, sans les petits boutons décoratifs.

L'écran intégré permet de visionner directement les films projetés, sans avoir à recourir à un écran externe (écran, mur, plafond ou porte). L'avantage principal de cet appareil est une image beaucoup plus lumineuse et plus nette que celle obtenue par les modèles classiques, l'inconvénient majeur étant la taille limitée de l'image visionnée.

NIC télévision Sélic ? 195x (vers 1953 ?)
Film papier à 2 bandes d'images
Métal
PR2-NICF-005
cm
15
29
11


Emballage du Nic Télévision français Sérigraphie de l'appareil
photographies aimablement transmises par Michel Puyo

La raison principale de diffusion de ce modèle relativement confidentiel est d'avoir cédé à l'actualité qui voyait se diffuser les premiers téléviseurs. D'autres fabricants de projecteurs à images alternées produiront également des modèles de la même inspiration : le NIC Television espagnol bien sûr dès 1951, mais également le Hollywood Toy Television américain en 1952, le TV Cine anglais des années 1950 (simple adaptateur de carton, rétropojecteur) et se terminera par le Dux Kino TV35 allemand en 1965. Ils seront supplantés par les projecteurs 16 ou 8mm (Excel Toy Television, Fisher Price Movie Theater, Junior Television Set, Cinepoli ou Cinevisor) puis par la télévision elle-même.
 
La notice d'utilisation du Nic Télévision est assez succinte. Elle renseigne toutefois sur la puissance de la lampe à utiliser, de 20 à 60 watts. Il est conseillé d'utiliser des lampes courtes (ceci pour éloigner la source de chaleur créée par l'ampoule allumée de la surface du film projeté, afin d'éviter de le brûler) .
Enfin, la solidité annoncée de cet appareil permettait au fabricant d'affirmer que "sa durée de vie est indéfinie" pour ne pas dire infinie !
Images aimablement transmises par Grégoire Jack Notice du Nic Télévision français, page 1 Notice du Nic Télévision français, page 2 Notice du Nic Télévision français, page 3 Notice du Nic Télévision français, page 4
 

 
La liste des films disponibles est indiqué sur la quatrième page de la notice d'utilisation.


La numérotation des films n'est pas celle des films destinés au Nic 2.

1- Le grand prix
2- Les souris aventureuses
3- L'arche de Noé
4- Gulliver à Lilliput
5- Mio dentiste
6- L'approche des Rois mages
7- Le paresseux corrigé
8- Le menteur puni
9- Mio barman
10- Les nègres sonores

11- Le renard et le corbeau
12- La cigale et la fourmi
13- Le petit chaperon rouge
14- Cendrillon et ses soeurs
15- La vengence des souris
16- L'ïle au trésor
17- La pie voleuse
18- Le petit robinson 1ère partie
19- Le petit robinson 2ème partie
20- Les deux petits lapins
21- Les nains de la forêt
22- La fille du meunier
23- Barbe Bleue
24- Le cirque
25- Les trois fileuses
26- Les deux frères
27- Les grenouilles envieuses
28- Au pays des jouets

Avec autorisation de Walt Disney
29- Donald n'est pas à l'heure
30- Donald équilibriste
31- Donald va à la chasse
32- Mickey est un petit malin
33- Les idées de Mickey
34- Bien mal acquis...
35- Pluto et la souris
36- Pluto n'a plus confiance
37- Pluto n'aime pas ses vêtements
38- Le petit cochon tacheté

 
Extrait du mode d'emploi :

NIC TELEVISION
BREVETE
MODE D'EMPLOI
L'emploi du NIC TELEVISION est des plus simples et ne présente aucun danger. Il peut être mis entre les mains de tous les enfants qui comprendront facilement le fonctionnement de l'appareil.
Le NIC TELEVISION fonctionne sur tous les courants, il suffit d'employer une ampoule de 20 à 60 watts appropriée au courant utilisé; de préférence employer des lampes courtes.
Pour introduire la lampe dans le support et la fixer à la douille, il suffit de retirer celui-ci du socle de l'appareil en le tirant légèrement en arrière, et le soulever ensuite.
Une fois cette opération terminée, qui ne se renouvelle que pour un changement de lampe, on fait l'opération contraire, c'est-à-dire on introduit le support dans le socle de l'appareil, et on le pousse légèrement en avant.
MlSE EN PLACE DU FILM
Introduire le film dans le support se trouvant à la gauche de l'appareil (vu de face) en accompagnant avec la main l'extrémité de la languette du film.
On place le film en fixant la languette par le milieu de l'orifice se trouvant sur celle-ci, sur l'agrafe fixée sur la bobine d'enroulement placée à droite de l'appareil (vu de face).
Le film ainsi placé s'enroule autour de la bobine et passe devant les fenêtres de projection situées ou centre de l'appareil.
PROJECTION
La bobine d'enroulement doit être en position de roue libre (le mouvement de roue libre s'obtient en tirant vers l'arrière de la bobine). L'embrayage s'obtient par la manœuvre inverse. Après avoir embrayé la bobine d'enroulement, tourner la manivelle pour faire avancer le film.
Dès que le mot FIN apparaît sur le cadran, on arrête la manivelle, on débranche la prise, puis on glisse le bouton vers la partie arrière du projecteur.
A ce moment l'on enroule le film projeté sur la bobine porte-film, pour laisser l'appareil en position pour une nouvelle projection.
La solide construction du NIC TELEVISION fait qu'il n'a pas besoin de soins spéciaux et sa durée est indéfinie. Quand le temps est très humide, il arrive quelquefois que l'appareil se recouvre d'une légère buée, mais cet état de choses se répare en laissant une minute la lampe allumée
     

CINE MICKEY (1937)


Une version particulière semblable au NIC était appelée Ciné Mickey. Cet appareil entièrement en carton était livré démonté. Je n'ai pas d'information sur le fabricant de cet appareil qui s'appellerait selon la notice "Jouet Junior" ou "Junior"...
Ciné Mickey Jouet Junior (ou Junior) Brevet 818.296 du 14 juin 1937 de Mario Sassoli 1937
Film papier à 2 lignes d'images
Carton. Livré démonté
PR2-MICK-001
cm
9
17
10

Cet appareil était appelé "Ciné-Jouet" par son fabricant : présenté dans une boîte dont la forme rappelle celle des boîtes de jeux de construction pour enfants, cet ensemble pouvait également être monté ou démonté à loisir. L'assemblage se fait facilement par des languettes enfilées dans des encoches.
http://www.hakes.com Couvercle de la boîte du Ciné Mickey Partie incomplète de projecteur NIC Ciné Mickey Ciné Mickey Dessus du Ciné Mickey Ciné Mickey

  Notice du Cine Mickey Notice du Cine Mickey Notice du Cine Mickey Notice du Cine Mickey Notice du Cine Mickey Notice du Cine Mickey Notice du Cine Mickey Notice du Cine Mickey
Images aimablement communiquées par Francisco Boisset (Espagne)
 

Le couvercle de l'emballage comprend sur sa face intérieure un écran (23 x 16 cm) permettant la projection des images.
Cet appareil fonctionne à l'aide d'une pile plate de 4,5 volts : c'est la solution qui avait été choisie par Mario Sassoli lors de l'invention du Dux allemand, se différenciant ainsi du Nic espagnol alimenté par le secteur électrique.

 
Extrait de la notice du Ciné Mickey
Cette image extraite de la notice du Ciné Mickey permet de constater que les films utilisés sont tout à fait similaires aux films du NIC 2 français et originellement du modèle espagnol NIC 2ème époque : film de 5,5 cm de large, bobine centrale en carton, bague en carton mince protégeant la pellicule, boîtier d'emballage en carton.
 
Notice dépannage Ciné Mickey
L'appareil est livré démonté et il est en carton : les instructions de montage ne sont pas toujours suffisantes pour obtenir un bon fonctionnement de l'appareil. Aussi la notice ci-contre était jointe à l'appareil pour aider au dépannage des six difficultés courantes.
Cette notice se voulait ainsi rassurante et limitait certainement les retours en magasin dûs à l'impossibilité de faire fonctionner le projecteur.
 
Première page du brevet 819296
Le brevet 818.296 de ce projecteur jouet a été déposé le 23 février 1937 par un italien, Mario Sassoli et sera obtenu le 14 juin 1937. Cette même personne a également déposé le brevet du Dux allemand et fut l'importateur du Nic en Italie sous le nom Nic Topolino.
Dessin du brevet 819296
Il est étonnant de constater que le brevet concerne également les films à deux rangées d'images, alors que ce principe faisait déjà l'objet du brevet Nic français de 1931 ! L'imitation des films du Ciné Mickey va même jusqu'à la forme de l'emballage des films Nic 2ème époque "pequeño". On peut donc voir dans cet exemple d'appareil la convergence entre les idées initiales des cousins espagnols Nicolau et de l'astucieux Mario Sassoli.
  brevet 818296 page 1 brevet 818296 page 2 brevet 818296 page 3 brevet 818296 page 4
 

Films pour Ciné Mickey : 

Curieux "emballage provisoire" Emballage de film
Le premier emballage est curieux : intitulé "emballage provisoire", il laisse imaginer que la sortie de l'appareil fut rapide, trop peut-être pour que les emballages des films soient finalisés. Il s'agit donc certainement d'une version intermédiaire, imprimée en noir et blanc, alors que la version définitive sera en couleurs.

Le dessin principal du Mickey de l'emballage provisoire, en noir et blanc, est assez approximatif, même s'il représente les premières graphies du personnage de Walt Disney.

Notice du film Cine Mickey 16 Notice du film Cine Mickey 16 1 : Mickey pompier
2 : La revenche de Donald
3 : L'école buissonnière
4 : Pluto, chien de course
5 : Le trésor de Pluto
6 : Fifi veut sortir seul
7 : Pluto et les puces
8 : Mickey, sauveur des petits cochons
9 : Une invention de Mickey
10 : Pluto paie les fautes d'autrui
11 : Mickey et le sous-marin pirate
12 : Les voleurs volés
13 : La ruse de minet
14 : Les deux concurrents
15 : Mickey protège les enfants
16 : Les bandits du Far-West
17 : La T.S.F. de Mickey
 


Description du brevet français 818.296

RÉPUBLIQUE FRANÇAISE.
MINISTÈRE DU COMMERCE ET DE L'INDUSTRIE.
DIRECTION DE LA PROPRIETE INDUSTRIELLE.
BREVET D'INVENTION.
Gr. 20. — CL 1.
N° 818.296
Ciné-jouet démontable pour la projection de dessins animés.
M. Mario SASSOLI résidant en Italie.
Demandé le 23 février 1937, à 14h 38m\ à Paris. Délivré le 14 juin 1937. — Publié le 22 septembre 1937.
L'invention vise un jouet consistant en un petit cinéma démontable permettant de projeter des dessins animés. Ce jouet se présente sous la forme d'une boîte rappelant les boîtes de jeux de constructions, mais renfermant un certain nombre de pièces en carton, bois, matière plastique ou métal léger qui, montées dans un ordre donné, permettent à l'enfant de construire une sorte de petit cinéma très simple, dont l'installation de projection comporte non seulement un écran mais un mécanisme dérouleur de film, une source lumineuse, et un dispositif destiné à déplacer un volet obturateur en regard d'ouvertures de projection, en vue de projeter successivement deux images dessinées dans le sens transversal du film et représentant chacune des positions différentes du sujet, avant de projeter la suite des images dessinées dans le sens longitudinal du film, ceci donnant plus d'animation au sujet pour une égale longueur de film.
L'invention englobe également le film-jouet utilisable sur ce ciné-jouet, ce film étant étudié pour être projeté rationnellement dans un dispositif du type rappelé brièvement ci-dessus.
L'invention va être décrite plus en détails en regard des dessins annexés qui représentent, à titre d'exemple non limitatif, un mode de réalisation très simple de ce ciné-jouet avec tous ses éléments et sa boîte. Dans ces dessins :
La figure 1 représente en perspective le ciné-jouet entièrement monté, la boîte étant supposée ouverte, son couvercle (servant d'écran de projection) placé, à une petite distance en position d'usage. Dans cette figure, les carters des figures 2, 3 et 6 ont été retirés pour mieux montrer les organes intérieurs.
La figure 1a représente, à échelle agrandie, un étui à film avec le film en cours de déroulement et l'axe manivelle de ce film.
La figure 2 représente les deux carters contenant l'un les organes de projection, l'autre les organes d'entraînement du film et le volet mobile, ces deux carters étant supposés en cours de montage sur une embase de support ;
La figure 3 représente à plus grande échelle le carter destiné à contenir les organes de projection, pile et source lumineuse, réflecteur;
La figure 4 représente à plus grande échelle le réflecteur;
La figure 5 représente à plus grande échelle l'interrupteur de courant électrique et la gaine destinée à loger la pile;
La figure 6 représente, à plus grande échelle, le carter destiné à contenir les organes d'entraînement et le dispositif assurant le déplacement du volet obturateur avec la bobine d'enroulement du film à projeter, le tout groupé dans la position de montage sur l'embase.
L'appareil représenté en vue d'ensemble à petite échelle en figure 1 sans les carters, est supposé en train de projeter un sujet animé tel qu'un homme en chapeau haut-de forme. L'image apparaît ici sur l'écran constitué par le fond du couvercle de la boîte et elle apparaît également sur le film en cours de déroulement. Comme on le voit, cet appareil ciné-jouet est logé dans une boîte dont le fond A supporte un socle ou embase B portant des fentes et des trous pour permettre de dresser dessus successivement tous les éléments de construction de l'installation de projection des dessins animés, éléments pourvus à cet effet de prolongements tels que languettes ou tiges d'implantation, comme figuré. Le couvercle C de la boîte porte sur le verso de son fond un écran sur lequel seront projetées les images animées.
Sur l'embase ou socle B est montée une pile électrique D, avec ampoule E et réflecteur F (fig. 1 et 4). A cette pile logée dans une gaine H est annexé un dispositif à poussoir G (fig. 5) permettant de rendre accessible de l'extérieur le mouvement de l'interrupteur de courant de cette pile. Le tout est enfermé dans un carter I (fig. 2 et 3), présentant une fenêtre de projection i et dont la partie supérieure peut s'ouvrir (comme représenté en fig. 3) pour figurer mieux une cabine de projection.
Le film J, logé dans un étui protecteur K (fig. 1 et 1a), est monté sur un axe à manivelle L (fig. 1a) en fil de fer par exemple, cet axe venant s'implanter en L' dans un orifice prévu sur le socle du jouet (fig. 6). Le film J est tendu devant la fenêtre I de la cabine de projection I (non figurée en fig. 1) et vient se renrouler sur une bobine M (fig. 1 et 6) implantée en L" sur le socle et dont la joue supérieure porte une roue dentée m engre¬nant avec une petite vis sans fin N portée par une autre manivelle X). Cette manivelle O, coudée en deux points, est destinée à agir sur la roue dentée m et à entraîner la rotation de la bobine M et du film auquel on l'a accrochée.
Grâce à son contrecoudage, la tige P (fig. 6) de la manivelle O d'entraînement du film déplace à chacun de ses mouvements de rotation le volet obturateur Q qui vient successivement s'appliquer, par un mouvement saccadé de monte et baisse sur un plan, contre les objectifs supérieur R et inférieur R' d'une cloison S placée dans le carter T des organes de déroulement du film. Il en résulte que les deux images du film, qui sont projetées à travers les deux fenêtres superposées V et V' (fig. 6) découpées dans la paroi extérieure arrière du carter T et à travers les objectifs R, R' de la cloison qui leur font vis à vis sont occultées successivement par le volet obturateur Q et apparaissent sur l'écran de projection l'une après l'autre, procurant ainsi l'impression du mouvement.
On a représenté en figure 2 les deux carters en cours de montage. Le carter T porte un couvercle T' (fig. 6) sur lequel sont fixés l'engrenage à vis sans fin N et sa manivelle O, et l'obturateur mobile Q.
A la boîte de construction du ciné-jouet est annexé un film ou un choix de films représentant une histoire ou une fable animée. Ce film-jouet fait, également partie de l'invention. Il est en papier transparent de matière transparente équivalente, et logé dans un étui protecteur (fig. 1a). Ce film comporte une série de paires d'images, chaque paire d'images représentant un sujet dans deux positions, pour les buts qui ont été exposés plus haut. 85
Lorsque le film a été déroulé pour sa projection, il peut être renroulé commodément sur sa bobine d'origine pour une nouvelle projection ultérieure grâce à la manivelle L (fig. 1a) qui lui sert également d'axe dans la position de déroulement sur le socle de la boîte. Cette manivelle porte un petit coude U qui vient s'engager en U' dans la fente de la joue de la bobine K pour permettre ce renroulement.
Ce ciné-jouet peut être fait en tout ou partie en carton, bois ou lames de métal. Les axes, tringles, engrenage, vis sans fin, interrupteur sont faits en métal léger.
On conçoit qu'il sera possible de modifier la disposition et la forme des éléments constitutifs de ce jeu de construction et de projection de dessins animés, sans s'écarter de son esprit.

RÉSUMÉ.
Ciné-jouet démontable pour la projection de dessins animés, formant également jeu de construction d'une installation de projection miniature, caractérisé notamment par les points suivants :
1° Tous les éléments sont montés et maintenus en place sur un socle comportant des rainures et des perforations où viennent s'engager des parties correspondantes (languettes ou tiges) desdits éléments ;
2° Le fond du couvercle de la boîte sert d'écran de projection ;
3° Les éléments de la construction de ce ciné-jouet sont en deux groupes protégés par deux carters, un groupe comprenant la source lumineuse, les organes projecteurs et un autre groupe comprenant, avec les bobines de déroulement et d'enroulement du film, les organes d'entraînement de celui-ci et un volet mobile venant obturer successivement deux objectifs ad hoc découpés chacun en regard du plan de déroulement du film et des deux images de celui-ci ;
4° Un petit engrenage à vis sans fin porté par une tige contrecoudée, et actionné par une manivelle, entraîne le film et déplace le volet mobile en vue d'obtenir l'obturation successive desdites fenêtres;
5° Le film comporte une série de paires d'images, les deux images de chaque paire représentant le même sujet dans une position différente, de telle sorte que chaque image de la paire est occultée successivement par le volet mobile, ce qui détermine, sur l'écran, deux projections distinctes traduisant deux mouvements successifs par paire d'images de la succession des paires d'images du film représentant par exemple une histoire ou une fable.
Mario SASSOLI.
Par procuration : Maulvault.

     

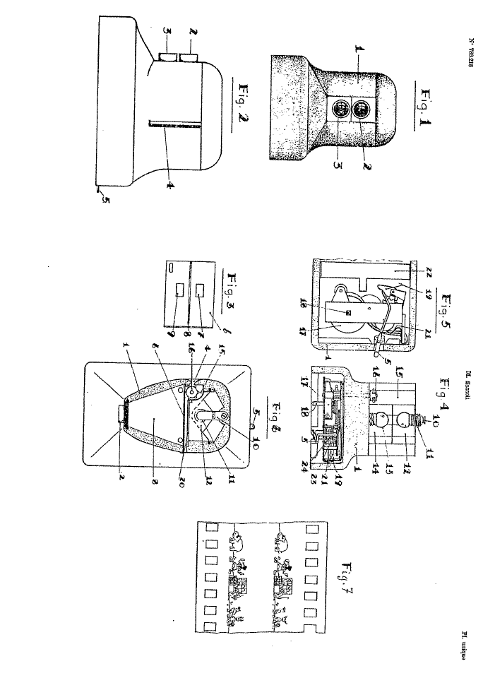
CINE EGDA MM (1936)


Le Ciné Egda MM est le premier modèle français inspiré du Dux allemand. Utilisant le même principe d'alternance à deux images, les films permettent une projection d'environ 5 minutes par film. Il est également fabriqué par la société Egda, la même que celle du Nic Français.
Ciné Egda MM Egda (Etablissements Giacomo de Andreis), 33 rue Saint-Esprit, Marseille brevet 789.218 du 12 août 1935 (Mario Sassoli) 1936
Film 35mm à 2 bandes d'images
Bakélite rouge puis marron
PR2-EGDA-001   (1) rouge (2) marron
cm
9
12,5
7


http://www.comodo.nl/comodo/hosted/bakeliteandplasticmuseum.nl/prodsheet.asp?cat=27&sub=45&prod=1721 Clef de l'Egda, similaire à celle du Dux Kino allemand extrait notice

A la même époque on retrouvera cet appareil en Espagne sous la même marque Egda.
Ce projecteur ressemble exactement au Dux MM allemand. Même le dessin en relief sur le dessus de l'appareil est la reproduction du dessin original du Dux, sensé représenter Betty Boop. Une autre similitude est la clé de remontage qui a adopté le même style. Le boîtier était principalement de couleur rouge, avec des variations de teinte allant du rouge vif au rouge très foncé, presque marron.
Première page du brevet 789.218
Cette similitude avec le modèle allemand s'explique très simplement : l'auteur des deux appareils est la même personne ! En effet Mario Sassoli, un italien de Milan, a déposé sa demande de brevet à Paris le 24 avril 1935. Ainsi le brevet 789.218 sera obtenu le 12 août 1935. C'est le même auteur qui déposera également le brevet du Ciné-Mickey français, ainsi que plusieurs autres brevets d'appareils de même type, preuve de sa fécondité ...
brevet 798218 page 1 brevet 798218 page 2 brevet 798218 page 3 brevet 798218 page 4
 
Dessin du brevet 789.218
Sur la planche de dessins de ce brevet, on constatera avec amusement la forme du personnage représenté sur l'exemple de film à deux rangées d'images : ne s'agirait-il pas d'une petite souris dont la forme ressemble étrangement à Mickey ? L'imagination de Mario Sassoli s'est inspirée de Walt Disney après avoir absorbé l'idée d'animation aux créateurs du Nic espagnol ...
 
Mécanisme du Ciné Egda
Le mécanisme de l'Egda inclut le commutateur électrique : en forme de disque il comporte des secteurs isolants en bakélite et des secteurs conducteurs distribuant l'alimentation électrique vers l'une des deux ampoules alternativement.
L'axe de remontage du ressort est situé sous l'appareil, contrairement à tous les autres appareils Egda, Sélic ou Dux dont l'axe prolongé apparaissait en haut de l'appareil.
 
Ciné Egda vu du dessus, couvercle enlevé
Le dessus du projecteur se déclipse pour faciliter la mise en place du film. Le film est entraîné par une roue dentée située dans une chicane plaquant le film sur les dents de la roue.
L'ajustement de la convergence des faisceaux lumineux se fait par un réglage d'usine sur la pièce métallique brillante visible en façade avant.
 
Publicité
Publicité extraite du magazine "Le Journal de Mickey" du 20 décembre 1936. Le distributeur, Monsieur Remusati, 44 rue Saint-Sébastien, Marseille, proposait d'envoyer "le merveilleux Cinéma Egda" au prix exceptionnel de lancement de 60 francs, franco de port. Les films étaient vendus au prix unitaire de 8 francs.
M.Remusati tenait un magasin de jouets rue Mazagran à Marseille. Il cessera son activité pendant la guerre. L'adresse indiquée dans la publicité était son adresse personnelle.
Publicité
Fabricant de plaques publicitaires métalliques, il était normal que les établissements De Andreis aient fabriqué une enseigne vantant les mérites de leur projecteur jouet Ciné MM.
Cette plaque, de dimensions 31x 41 cm, signalait les points de vente du projecteur et des films Egda. L'appareil était ainsi vendu 100 francs et les films (noir & blanc) 4 francs pièce. La publicité ci-dessus proposant un prix exceptionnel de 60 francs était donc une bonne affaire.
Enfin sur l'affiche figurent les films en boîte métallique, de la première époque, et toujours la fameuse pile Wonder !
Cette image publicitaire du Cine egda est directement inspirée de celle du Dux Kino MM.
 
Notice d'utilisation du Cinéma EGDA MM
Images aimablement transmises par Jean-Michel Blanquet (France)
Notice du Cinema Egda - page 1 (couverture) Notice du Cinema Egda - page 2 Notice du Cinema Egda - page 3
Notice du Cinema Egda - page 4 Notice du Cinema Egda - page 5 Notice du Cinema Egda - page 6
  Notice du Cinema Egda - page 7 Notice du Cinema Egda - page 8 Notice du Cinema Egda - page 9
Notice du Cinema Egda - page 10 Notice du Cinema Egda - page 11 Notice du Cinema Egda - page 12
Imprimé par Imprimerie Jules Vin, Marseille
Notice du Cinema Egda - page 13 Notice du Cinema Egda - page 14 Notice du Cinema Egda - page 15 Notice du Cinema Egda - page 16 (dos de couverture)
 
En rapprochant l'image imprimée page 2 de la notice avec l'image décrite dans le brevet, on peut y relever quelques différences :
- un groupe de lentille est disposé près des ampoules.
- les ampoules sont disposées horizontalement et non verticalement.
A vous de compléter ce comparatif !
 
Pour l'alimentation du projecteur, EGDA conseille deux solutions :
- une pile Wonder.
- un adaptateur secteur, similaire au modèle allemand. Cet adaptateur semble avoir été d'une diffusion confidentielle tant il est rare d'en trouver un actuellement. Ce transformateur est indiqué comme d'un "emploi ... entièrement sans danger", ce qui est méconnaître les petits doigts agiles capables de se poser sur les deux fiches cuivrées de la prise électrique.
 
   



Films pour le Ciné Egda :

Chaque film est livré dans une boîte métallique ronde contenant le film et une notice explicative. Le principe de cette boîte était déjà appliqué pour les films Dux.

Boîtes de films pour Ciné Egda "déroulé" d'une boîte de film Egda

Plus tard, la boîte ronde métallique sera remplacée par une boîte rectangulaire en carton. Certainement un souci d'économie !

Cet emballage est d'une qualité moyenne, il a souvent mal vieilli : les modèles que l'on peut trouver aujourd'hui sont souvent déformés, le carton s'effeuille, la languette de fermeture se corne.

Couvercle de la boîte du Dux Kino MM "déroulé" d'une boîte de film Egda
Le personnage dessiné sur ces emballages est le "Betty Boop" symbole des projecteurs Dux allemands. Le corps reprend les deux lettres MM qui était la dénomination du premier modèle allemand, le Dux MM.

La seule différence est le sens du regard, vers la droite pour le Dux et vers la gauche pour le Egda ! Il rappelle ainsi que le défilement des films ne se fait pas dans le même sens...
Les films Egda étaient vendus dans les magasins de jouets, livrés dans un présentoir décoré avec l'adaptation française de Betty Boop.
Images du présentoir Egda aimablement communiquées par Gianni Fabro

Notice de film pour Ciné Egda
Notice explicative présentant le contenu du film. Elle annonce également le film suivant !
Attention, image de grande taille  103 ko !
Film. Marque "Safety Film Pathé, Vincennes France". Logo Egda

Boîtes métalliques    
- 1 : Cirque
- 2 : La Grande Parade
- 3 : Joe le Cowboy
- 4 : Le pirate de l'air
- 5 : L'île du Trésor
- 6 : L'arche de Noë
- 7 : La maison hantée
- 8 : Au pôle nord
- 9 : Noël
- 10 : La baguette magique
- 11 : Le voleur de miel
- 12 : En chine
- 13 : Les cosaques
- 14 : Le joyeux vagabond
- 15 : Au pays défendu
- 1 6 : Galopin le cheval merveilleux
- 17 : Sur le ring
- 18 : Les joyeux petits lapins
- 19 : Les bandits de la mine
- 20 : La Corrida de Toros
- 21 : La légende du joueur de fifre

- Hors série : La merveilleuse histoire de Bernadette Soubirous
 
   



Cette première série fut par la suite complétée de plusieurs films :
- 25 : L´ogre Converti
- 30 : Les Aventures De Toto
- 31 : La Premiere Aventure De Bibi

Tous ces films feront la base de la collection des films Sélic.
La majorité de ces films sera reprise pour le successeur du Ciné Egda, le Ciné Selic. Films pour Sélic MM

Extrait du brevet 789 218 :

Résumé:
1° Appareil de projections caractérisé en ce que l'on utilise deux systèmes optiques : l'un supérieur, l'autre inférieur comportant chacun une lampe d'éclairage, les lampes étant alternativement allumées et éteintes
au moyen de contacts tournants convenablement disposés, le mouvement de rotation des pièces de contact étant produit par un mécanisme d'horlogerie mû par un ressort que l'on remonte et qu'on libère une fois remonté par un dispositif approprié, des trains d'engrenages convenablement agencés mettant en rotation un cylindre d'entraînement du film ;
2° Film s'appliquant à l'appareil caractérisé par l'emploi de deux ou plusieurs rangées d'images sans ligne d'interruption qui sont projetées alternativement et une seule à la fois, par suite de l'allumage alternatif des lampes.
M. SASSOLI.
Par procuration
E. Weiss.

 
 
Description du brevet 789 218 :

Appareil réduit pour projections cinématographiques et film utilisable pour ledit appareil. L'objet de la présente invention se rapporte à un appareil réduit de projections cinématographiques qui utilise un film. spécial, lequel est également du domaine de l'invention.

L'appareil de projections est caractérisé en ce que l'on utilise deux systèmes optiques: l'un supérieur, l'autre inférieur comportant chacun une lampe d'éclairage, les lampes étant alternativement allumées et éteintes au moyen de contacts tournants convenablement disposés, le mouvement de rotation des pièces de contact étant produit par un mécanisme d'horlogerie mû par un ressort que l'on remonte et qu'on libère une fois remonté par un dispositif approprié. Des trains d'engrenages convenablement agencés mettent en rotation un cylindre d'entraînement du film.

Le film s'appliquant à l'appareil est caractérisé par l'emploi de deux ou plusieurs rangées d'images sans ligne d'interruption qui sont projetées alternativement et une seule à la fois, par suite de l'allumage alternatif des lampes.

L'appareil objet de la présente invention a comme avantages une très grande simplicité de construction et de fonctionnement, des dimensions d'un. encombrement très réduit, et il peut d'ailleurs être utilisé avec des films de toute nature : celluloïd, acétate de cellulose ou autre.

Les dessins annexés représentent, à titre d'exemple seulement, un mode de réalisation de l'invention.

Sur ces dessins, on voit Fig. 1, l'appareil vu de face; Fig. 2, l'appareil vu de côté; Fig. 3, la partie postérieure de la chambre de projection; Fig. 4, l'intérieur de l'appareil; Fig. 5, une vue en-dessous de l'appareil; Fig. 6, une vue en-dessus de l'appareil; Fig. a, une portion de film. à échelle agrandie.

Comme on le voit aux dessins, l'appareil de projections se compose d'une boîte 1, prévue avec un système optique supérieur et un système optique inférieur des lentilles, par exemple, 2 et 3. La fente 4 sert au passage du film entre la chambre de projection et la chambre lumineuse. Une paroi 8 est interposée dans la chambre de projection, de manière à diviser celle-ci en une chambre supérieure et en une chambre inférieure qui correspondent respectivement aux fenêtres supérieure et inférieure 7 et 9 ouvertes dans la paroi de séparation 6, à la hauteur des lampes électriques supérieure et inférieure de l'appareil. La plaque de contact 10 est affectée à la lampe 11. Deux réflecteurs angulaires 12 et 14 sont agencés convenablement, et sur la plaque couvercle du type console est prévu un montage pour la lampe.

Un logement 15 est prévu entre la chambre de projection et la chambre de lumière, de manière que l'on puisse loger dans cette chambre de lumière, un cylindre 16 présentant un pourtour muni, aux endroits convenables, de dents servant à l'entraînement du film. Celui-ci passe entre ce cylindre et la paroi de séparation 6, les dents le forcent à avancer et à se présenter devant les ouvertures de projection. Un ressort à remontoir 17 sert à communiquer le mouvement à une combinaison connue d'engrenages qui est représentée schématiquement aux dessins. Ce ressort est remonté au moyen de l'axe 18.

Un arrêt à ancre 19 s'applique à l'ensemble des engrenages. Un verre dépoli 20 est placé devant les lampes. Une plaque de contact 22 constitue l'un des pôles de la source électrique et elle est reliée élec triquement avec les montages des lampes, et il y a évidemment une plaque de contact par lampe.

Les deux plaquettes de contact 23 et 24 sont montées en croix et placées sur l'axe de l'engrenage correspondant. Ces plaquettes tournent lorsqu'on libère le ressort de commande 17 en actionnant le levier de commande 5 qui déclanche le dispositif d'arrêt 19 pour mettre en mouvement l'appareil. Le déplacement du levier 5 provoque également la fermeture du circuit sur les lampes en permettant au courant d'arriver de l'autre pôle de la source, aux contacts respectifs 23 et 24. Le ressort 17, par son action, provoque également grâce un jeu d'engrenages convenables la rotation du cylindre denté 16 qui pousse le film devant les fenêtres de projection 7 et 9.

Comme système électrique, on peut employer une pile sèche ou une pile quelconque. On peut aussi utiliser une source d'éclairage, par exemple, avec un transformateur approprié. Cette source communique, à travers la plaque 22 reliée à l'un de ses pôles, avec le montage des lampes tandis qu'en actionnant le levier 5 on relie l'autre pôle de la source à l'ensemble des engrenages qui est électriquement isolé et qui se trouve alors sous tension, c'est-à-dire sous courant.

Il y a en outre deux plaques de contact 21 d'où partent les conducteurs respectifs qui relient un pôle de tête des lampes 11 et 13. En outre, les plaques croisées 23 et 24 tournent avec l'engrenage sur lequel elles sont montées, et elles ferment alternativement le circuit sur l'une ou l'autre des lampes à travers l'une ou l'autre des pièces de contact 21.

Lorsqu'on dispose dans la fente 4, un film présentant un agencement de figures qui sera décrit plus loin, et lorsque la fente est prévue pour que le cylindre 16 puisse amener le film devant les fenêtres de projection, il en résulte qu'à cause de l'allumage alternatif des deux lampes, on aura alternativement la projection d'une figure de la rangée supérieure, et celle d'une figure de la rangée inférieure, ce qui produit l'illusion cinématographique.

Le film qui sera employé avec l'appareil tel qu'il vient d'être décrit sera donc caractérisé par une représentation multiple d'images, de photographies, ou dessins, par exemple disposés sur le film à dérouler suivant deux rangées ou lignes horizontales. De cette façon on évite sur le film, entre la projection d'une figure et la suivante, les instants d'interruption et on économise sur la longueur du film. On peut alors condenser un très grand nombre d'images sur un film relativement court.

Dans la projection de la représentation du film on illumine et on découvre alternativement une seule figure. La fig. 7 montre une portion de film agrandie montrant une série d'images disposées en lignes horizontales, mais on pourrait évi demment prévoir plusieurs lignes d'images correspondant au besoin avec un même nombre de systèmes optiques pour l'appareil.



 
L'imprimeur marseillais Jean Vin était également éditeur (plans de Marseille, guides locaux, horaires de train). Existait déjà en 1909, existait toujours en 1970.

La pile Wonder, dont le fameux slogan publicitaire était "la pile Wonder, la pile qui ne s'use que si l'on s'en sert", fut inventée en en 1916 par Estelle Courtecuisse antiquaire qui créa ainsi sa petite entreprse parisienne de piles et accumulateurs (6, rue Marcadet, Paris 18ème).
Cette marque occupera plus du tiers du marché français, devant d'autres marques comme Leclanché ou Mazda. Elle est en voie de disparition depuis la fin des années 1980





Deux documents publicitaires parus au cours de l'année 1967.

     

CINE SELIC (1950)


le Ciné Sélic
Ciné Sélic (MM, puis n°3) Selic (Société d'Exploitation de Licences Industrielles et Commerciales), Marseille, France brevet 1.025.396 demandé le 3 octobre 1950 et obtenu le 21 janvier 1953 1950
Film 35mm à 2 bandes d'images
Bakélite rouge puis verte
PR2-SELI-001 & PR2-SELI-002
cm
9
12,5
7

Cet appareil fut commercialisé à partir de 1950, présenté comme étant un jouet permettant aux enfants de projeter de petits films en toute sécurité. Cet appareil est de fabrication française, produit par la Société d'Exploitation de Licences Industrielles et Commerciales, sur les bases du brevet demandé le 24 avril 1935 déposé par l'italien Mario Sassoli. C'est le même brevet qui est à la base du Ciné Egda.


Couvercle de la boîte du Ciné Sélic 3 Clef du Cine Sélic
On notera que la clef présentée sur l'emballage est celle de l'Egda inspiré du Dux allemand et non celle du Sélic !

L'esthétique générale de l'appareil s'est éloignée de celle présentée dans le brevet de 1935 en s'approchant de celle définie dans le brevet de 1950 obtenu par la société allemande Markes.


Première page du brevet 1.025.396
Le brevet 1.025.396 ("Appareil à projection pour la production d'images vivantes") a été demandé le 3 octobre 1950 et obtenu le 21 janvier 1953 par la société allemande Markes. Cette entreprise est connue pour avoir fabriqué les projecteurs animés allemands Dux. Leur premier modèle, le Dux MM, était construit sur la base d'un brevet de Mario Sassoli (ce même auteur avait alors déposé un même brevet en France qui sera le principe du Ciné Egda). Par la suite cette société déposera son propre brevet pour le modèle Dux 40 mais déjà esquissé sur son modèle Dux 3.

Ainsi l'entreprise s'éloignera du brevet de Mario Sassoli en déposant ses propres brevets.
Dessin du brevet 1.025.396
La société Selic a ainsi construit son Ciné Sélic sur le principe des deux brevets français :
- le brevet de 1935 pour le système de commutation électrique des deux ampoules. En effet ne sera pas repris le système à volet obturateur (c'est peut être un choix de la société Selic, également utilisatrice du brevet Nic).
- le brevet de 1950 pour la forme générale du boîtier et le système d'entraînement des films.

La première dénomination du projecteur français est "Selic MM", compréhensible par l'utilisation du brevet de 1935. Il s'est ensuite appelé "Sélic 3", plus conforme car similaire à la dénomination du modèle original allemand le Dux Kino 3 ou du modèle qui est son vrai jumeau jumeau le Dux Cine 3 anglais
 
 Ciné Selic MM
Ciné Selic 3
C'est le premier modèle du Ciné Selic produit à partir de 1950. Bien qu'il soit une imitation du Dux 3 allemand (le numéro 3 est bien gravé dans le moulage du boîtier sous l'objectif), il a pris une dénomination similaire au Dux MM ! Deux éléments le rapprochent de cette version :
- la couleur rouge de la bakélite du boîtier telle le Egda ou le Dux MM.
- la reprise de certains films de l'Egda MM français, contemporain du Dux MM.
PR2-SELI-001

Cette deuxième version du Ciné Selic est apparue vers 1953. Elle s'écarte significativement de la première version par les deux éléments suivants:
- la couleur verte du boîtier de l'apparei.
- les films livrés en bandes, incluant une série en couleurs. Les films N&B sont ceux du Sélic MM.

PR2-SELI-002



Le boîtier est en bakélite rouge. La teinte du rouge a été constatée assez variable, du rouge sombre jusqu'au bordeaux. L'emballage cependant présente un appareil vert !


 Le boîtier du Sélic 3 est en bakélite verte, c'est la couleur originale du Dux 3 allemand. On en trouvera cependant quelques exemplaires de couleur rouge.
 Boîtes films Sélic
Les films sont vendus en rouleaux, contenus dans un emballage cartonné. Le numéro du film est marqué sur le fond de l'emballage.
Deux séries de films ont existé sous ce format :
- une première série est la reprise des films du Ciné Egda
- une deuxième série, nouvelle, marquée "Films S.E.L.I.C."

Emballage réalisé par l'Imprimerie Marseillaise.
Film Kodak.


Dans la version 3, les films sont livrés en bande contenus dans une pochette cartonnée plate (mais le couvercle de la boîte d'emballage présente toujours les films en rouleaux !). Ils ont existé en deux versions : 1 le nom du film est imprimé sur la pochette, 2 sur une pochette standard le nom est marqué au tampon caoutchouté.

Pochettes réalisées par Robaudy à Cannes, ou les Cartonnages Sainte-Anne à Marseille.
Films couleur Safety Film, ou Eastman. Films N&B Kodak Safety Film
Notice Ciné Sélic MM
Le mode d'emploi joint à l'appareil porte distinctement la mention Cine "Sélic M.M.". Sur l'image la clef est celle du Dux allemand et non celle du Sélic.
Imprimerie Manivet à Marseille
Notice Ciné Sélic 3
Le mode d'emploi comprend exactement le même texte que celui du Sélic MM, seul le nom de l'appareil a été changé en Ciné "Sélic". La clef est d'un modèle qui m'est inconnu.


Première clef, d'une forme inspirée de celle des appareils Dux.


Modèles de clefs suivantes. En métal léger, un peu fragile.
Autre version du Sélic, celle-ci comporte quelques particularités remarquables :
- l'apparel est dénommé "Mod.3" (modèle Sélic 3) sur le capot en bakélite noire, mais il est marqué "Cinéma Egda MM" sur le boîtier du moteur à ressort.
- sur le dessus du boîtier le logotype n'est pas moulé dans la bakélite comme sur tous les projecteurs de ce type, mais une plaque métallique décorative est rivetée. Le personnage est bien joufflu !
Ce modèle semble donc avoir été produit à la fin des années 1940, la jeune société Sélic (fondée en 1941) ayant repris les productions de la société Egda. L'entreprise Sélic a déménagé boulevard de la Cartonnerie à Marseille en 1951, Cet appareil, de toute évidence, n'est pas le Ciné Egda MM produit en 1936, mais bien une adaptation similaire au Dux Kino 3.
Le Ciné Sélic est un petit projecteur, particulièrement destiné aux enfants qui peuvent l'utiliser sans l'assistance d'un adulte (utilisation sans danger grace à l'utilisation d'une pile de 4,5 volts et de films ininflammables).
 
Vue des 2 ampoules du Ciné Sélic 3
Comme sur les Dux allemands de première génération, l'alternance de projection image haute / image basse est obtenue électriquement : une petite pièce de bakelite sur laquelle sont imprimées des pistes électriques tourne par l'action du moteur mécanique. Deux frotteurs glissant sur ce disque permettent d'alimenter tantôt une lampe tantôt l'autre.
Ce dispositif permet d'économiser la pile électrique puisqu'une seule lampe est allumée alternativement. Par contre, les frotteurs peuvent être l'objet de mauvais contacts électriques, notamment sous l'effet de l'humidité.
 
Schéma du Ciné Sélic 3
Le couvercle du boîtier de bakélite verte se soulève après avoir ôté les deux vis qui le retiennent (une vis à l'arriére et une dans le compartiment piles, sous l'objectif). Les pièces sont assez simples (matières plastiques moulées, aluminium). Les ampoules soudées sont une difficulté pour le remplacement d'une ampoule grillée, ce qui imposait de passer par les compétences d'un électricien.
 
Dessus du Ciné Sélic 3
Sur le dessus de l'appareil est gravé la marque "Cine Selic". Il est amusant de constater que le dessin reprend la forme générale de la marque de fabrique du Dux 3 allemand, à l'exception de l'image Betty Boop qui a été supprimée. Il reste donc un grand rond vide dont on ignorerait la signification si la comparaison avec le modèle original n'était pas faite.
 
A quoi sert la petite échancrure située à l'avant du boîtier de pile ? A rien ! Comme indiqué précédemment, le Sélic est une copie du Dux Kino allemand : sur ce dernier modèle l'échancrure est nécessaire car elle permet de faire passer le cordon d'alimentation de l'adaptateur secteur. Cet adaptateur n'a pas été repris en France pour le Sélic (il n'aurait plus correspondu aux critères de sécurité du fabricant français ?) contrairement au Egda, d'où l'inutilité de ce trou de passage !
 
Ticket de Ciné-Sélic Ticket de Ciné-Sélic
Ce ticket, fabriqué de façon artisanale, permet de comprendre que des séances de projection étaient réalisées avec le projecteur et les films Sélic. Au verso, la mention "Ticket de Cinéma *Ciné-Sélic* " est explicite. Et comme les vrais tickets de cinéma il comporte une partie contrôle qui était détachée par l'ouvreuse.
Ce ticket est découpé dans un rapport de visite de l'entreprise FogLevallois-Perret) daté du 22 janvier 1965. Les textes Sélic sont imprimés au verso à l'aide de tampons encreurs.
 



Face avant de boîte Sélic Face côté de boîte Sélic Face côté de boîte Sélic

Boîte imprimée par J.Bruyère, place Carnot à Saint-Etienne, puis par l'imprimerie Sainte-Anne à Marseille.
Sur une idée de Publicité Orcel, 73 rue de Paradis, Marseille


Face avant de boîte Sélic
Publicité Selic des années 1950-1960. Image aimablement transmise par Rafael Calle Arrabal


Films pour le Ciné Sélic

film que je possède
film que je possède, en mauvais état
Attention ! Fichier de grande taille !
image du film (attention fichier de grande taille, plus de 150 ko)
*
film dont je possède un double (écrivez-moi pour échange uniquement)

Pour regarder les films en animations, accédez à la page CineMice

 
Films pour Sélic MM (rouleaux) Films S.E.L.I.C.
1: Cirque
2: La grande parade *
3: Joe le cowboy

3: Les cigales et les fourmis (marqué "Films S.E.L.I.C" en son centre)
4: Le pirate de l'air

5: L'île du trésor
*
6: L'Arche de Noé *
7: La maison hantée
8: Au pôle nord

9: Noël
10: La baguette magique

12: En Chine

13: Les cosaques
14: Le joyeux vagabond
15: Au pays défendu
16: Galoppin le cheval merveilleux
17: Sur le ring

18 : Les joyeux petits lapins

19 : Les bandits de la mine

20: La corrida de toros
21 : La légende du joueur de fifre

22: Les pompiers
22: Le corbeau (marqué "Films S.E.L.I.C" en son centre)
24: Blanche Neige
25: L'ogre converti
26: Hansel et Gretel 1er part

27: Hansel et Gretel
(pas de précision 2è partie)
28: Toto dans le règne de Kantou *
29: Le petit chaperon rouge
30: Les aventures de Toto *
31 : La première aventure de Bibi
32 : Le "sportsman" invincible
33: Les peaux-rouges *
34: La guerre des musiques

39: La vie du ver à soie
40: Au zoo
42: La vie dee fourmies 1.partie * (noter la double faute d'orthographe)
43: La vie des fourmies II.partie
44: L'aventure de Duxinos
45: L'homme mécanique ** sans numéro : Bernadette Soubirous *
 
 
Films pour Sélic 3 (bandes)
Liste de films "Sélic" noirs Liste des films "Sélic" en couleurs

1: Le cirque Attention ! Fichier de grande taille ! (s'appelait "Cirque" pour le Sélic MM) *
2: La Grande Parade Attention ! Fichier de grande taille !
3: Joë le Cow-boy Attention ! Fichier de grande taille ! *
4: Le pirate de l'air Attention ! Fichier de grande taille ! *
5: L'île au trésor Attention ! Fichier de grande taille ! *****
6: L'arche de Noë Attention ! Fichier de grande taille ! *
7: La maison hantée Attention ! Fichier de grande taille ! *
8: Au pôle nord Attention ! Fichier de grande taille ! *
9: Noël Attention ! Fichier de grande taille ! **
10: La baguette magique Attention ! Fichier de grande taille ! *
11: Le voleur de miel Attention ! Fichier de grande taille ! *
12: En Chine Attention ! Fichier de grande taille !
13: Les cosaques **
14: Le joyeux vagabond Attention ! Fichier de grande taille ! **
15: Le pays défendu Attention ! Fichier de grande taille ! ***
16: Galopin, le cheval merveilleux *
17: Sur le ring Attention ! Fichier de grande taille ! **
18: Les joyeux petits lapins Attention ! Fichier de grande taille ! **
19: Les bandits de la mine Attention ! Fichier de grande taille ! *
20: La Corrida de Toros Attention ! Fichier de grande taille ! *******
21: La légende du joueur de fifre Attention ! Fichier de grande taille !
22: Les pompiers Attention ! Fichier de grande taille ! **
23: L'Homme de la Jungle Attention ! Fichier de grande taille ! **
24: Blanche-Neige Attention ! Fichier de grande taille ! *
25: L'Ogre converti Attention ! Fichier de grande taille !
26 : Haensel et Gretel 1ère part Attention ! Fichier de grande taille ! ****
27 : Haensel et Gretel 2è partie **
28: Toto dans le régne de Katou Attention ! Fichier de grande taille ! **
29: Le Petit Chaperon Rouge Attention ! Fichier de grande taille ! **
30: Les aventures de Toto Attention ! Fichier de grande taille ! ****
31: La première aventure de Bibi *
32: Le Sportman Invincible Attention ! Fichier de grande taille ! *
33: Les Peaux-Rouges **
34: La guerre des musiques
35 > 38: ?
39: La vie du ver à soie
40: Au zoo Attention ! Fichier de grande taille ! *
41: Le tabac *
42: La vie des fourmis 1ère partie (orthographié La vie dee fourmies)
43: La vie des fourmis 2è partie (orthographié La vie des fourmies)
44: L'aventure de Durpinos Attention ! Fichier de grande taille ! *** (L'aventure de Duxinos)
45: L'homme mécanique Attention ! Fichier de grande taille ! **
46: La merveilleuse histoire de Bernadette Soubirous
*



1: Le renard et le corbeau **
2: Le joueur de flûte d'Hamelin ** (numéroté 28 sur le film)
3: Ali-baba et les 40 voleurs *
4: Simbad le marin Attention ! Fichier de grande taille ! **
5: Les moulins de Don Quichotte Attention ! Fichier de grande taille ! **
6: La petite souris laborieuse Attention ! Fichier de grande taille ! **
7: Le chat botté Attention ! Fichier de grande taille ! **
8: Le petit chaperon rouge Attention ! Fichier de grande taille ! *
9: La cigale et la fourmi Attention ! Fichier de grande taille ! *
10: Le vilain petit canard Attention ! Fichier de grande taille ! ** (dont un numéroté 33 sur le film)
11: La belle au bois dormant *
12: Haensel et Gretel **
13: Le petit soldat de plomb
14: Le baron Munchhausen ***
15: Le petit noir Sambo **
16: Peau d'âne *
17: Le petit trappeur *
18: La terreur de Sourisville (Far-West) *
19: Les aventures de Nique et Domi (Le grand voyage) *
20: Les aventures de Nique et Domi (l'arrivée sur farfadion) *
21: Les aventures de Nique et Domi 3 : la cité des singes *
22: Les aventures de Nique et Domi 4 : la guerre des singes **
23: Les aventures de Nique et Domi 5 : le secret des pharaons *


Ces films ont connu plusieurs versions de présentation :

les films couleur avaient originellement une autre numérotation. On peut s'en rendre facilement compte dans la liste publiée ci-dessus et qui comprend quelques films dont les numéros indiqués sur le film et sur la pochette sont différents.

les pochettes cartonnées des films ont été imprimées en trois modèles connus :
- le premier modèle comportait le nom du film imprimé, chaque film avait donc sa propre pochette.
- le deuxième comportait uniquement la mention "N°" le reste étant marqué au tampon de caoutchouc, la pochette était donc standard et permettait certainement d'en diminuer le coût.
- enfin une dernière version sans aucun texte iprimé, donc uniquement marquée au tampon de caoutchouc.
Quelques exemples de la deuxième version comportent le numéro du film marqué au tampon.
 
La S.E.L.I.C. Société d'Exploitation de Licences Industrielles et Commerciales, a été créée en 1941 par Mario De Andreïs, fils de Giacomo le fondateur de Egda, et François Lembo.


Face avant de boîte Sélic
Catalogue de produits Selic et Jouma (fabrisqué par Selic). Publicité Selic des années 1950-1960. Images aimablement transmises par Rafael Calle Arrabal


Tarifs Selic. Images aimablement transmises par Rafael Calle Arrabal

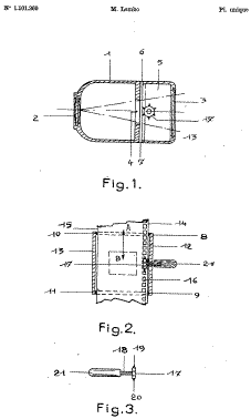
La société Sélic a également produit en 1959 une petite visonneuse comportant un mécanisme à manivelle permettant l'avancement du film. Elle s'appelait le Séliscope. Cette visionneuse était basée sur un brevet de 1954.
L'appareil est connu en plusieurs couleurs : vert, bordeaux, ivoire, rose.
PhotoProvence

Le 26 mai 1954, François Lembo déposait à Marseille une demande de brevet pour un système d'entraînement fiable des pellicules dans une visionneuse. Ce dispositif imaginé sur la base d'une roue crantée sera breveté le 20 avril 1955 sous le numéro 1.101.360 . C'est ce principe qui sera utilisé pour le fonctionnement du Séliscope.

Le même auteur avait obtenu le 30 mars 1955 un brevet (n° 1.100.253) sur une nouvelle forme de bouchon pour bouteilles

Dessin du brevet 1.101.360!

Malgré le dessin indiqué sur la boîte d'emballage, le séliscope n'utilise pas des films standards de 35mm de large mais une pellicule spéciale ne comportant qu'une rangée de perforations. Le film ainsi ne fait que 28 mm de large. Le brevet de François Lembo explique ainsi l'utilisation de sa visionneuse :
- monture formant butées pourvue à sa partie avant de fentes de pénétration sur les parements transversaux supérieurs et inférieurs ;
- extrémités des fentes disposées dans l'axe de rainures longitudinales disposées sur les parements verticaux;
- pignon avec dents monté de façon à jointer l'une des rainures guides verticales à sa partie médiane ;
- dents dont la projection dépasse le plan vertical du film guidé et rendu indéformable par l'ensemble des fentes et rainures ;
- pénétration des dents du pignon dans le crantage pratiqué sur l'un des côtés du film ;
- commande extérieure du pignon denté par commande reliée à l'arbre d'entraînement monté sur le boîtier formant palier ;
- combinaison et coopération des éléments décrits pour réaliser un dispositif d'entraînement de films pour visionneuse.




 
Images de Provence
Le chat botté
Le cochet, le chat et le souriceau
Le château de Versailles

Deux modèles différents d'étuis pour films :


- ce premier étui mesure 38 mm de large et semble le plus ancien. Son format est similaire à celui des autres films Selic ce qui est inutile puisque le film est plus étroit. Sur l'emballage les crans sont de grande taille (11 par ligne).


- ce deuxième modèle plus étroit, 32 mm, est parfaitement adapté à la dimension des films pour Seliscope. Sur l'emballage, les crans sont de petite taille (14 par ligne)
 

Exemple intéressant de plaque publicitaire : celle-ci est signée "Selic Marseille" en bas à gauche et "De Andreis Marseille" en bas à droite. Cette double signature est un réel témoignage de la fusion des deux entreprises.

Plaque "Ricard" de Sélic+Andreis

Plaque "Ricard" de Sélic+Andreis
Publicité extraite du guide L'Officiel des Jeux et Jouets de 1954. Ce document présente les différents produits de la firme Selic. On y remarque les projecteurs Ciné Sélic de couleur verte ou rouge, le projecteur Nic 2, ainsi qu'un étrange modèle télévision (dont j'ignore l'existance, ne l'ayant jamais vu !).

L'affiche précise "Jouets miniatures en matière plastique", ce qui est amusant pour cette entreprise qui a plutôt établi sa réputation sur ses jouets en métal ! Ainsi en 1953 Sélic sortira le Midi Ciné qui est un sélic 3 habillé d'un boîtier en métal.


Image aimablement transmise par Daniel Bonnet (France)
     

MIDI CINE SELIC (1953)

Vue de l'intérieur du MidiCiné


le Midi Ciné Selic apparu en 1953. Cet appareil adopte une esthétique spécifique qui n'est plus la copie d'un modèle original allemand. Le boîtier, en métal lourd, ressemble par sa forme et sa finition au Super-Minicine anglais apparu quelques années auparavant.
Midi-Ciné Sélic Selic (Société d'Exploitation de Licences Industrielles et Commerciales), Marseille même brevet que le Ciné Sélic 1953
Film 35mm à 2 bandes d'images
Métal
PR2-SELI-003 / ACR 1062



Devant de la boîte d'emballage Côté de la boîte d'emballage

Le magasin Au Printemps de Paris le vendait 3700 francs.

 
Vue de l'intérieur du MidiCiné
Le Midi-Ciné est construit autour du système mécanique du Ciné Sélic 3 : même base en bakélite, même allumage alternatif des deux ampoules par frotteurs parcourant une piste électrique imprimée, même mécanisme d'entraînement. Les deux seules différences sont induites par la taille du boîtier métallique : l'axe de remontage est plus long afin d'effleurer le dessus de l'appareil, ainsi que la manette du verrou de blocage du moteur afin d'être accessible à l'arrière du boîtier.
 
Le dessous de l'appareil permet de voir les deux plaques demi-rondes qui maintiennent le mécanisme en place dans le boîtier. On y remarquera bien la manette allongée pour dépasser de l'arrière de l'appareil. Enfin il faut noter que l'échancrure située à l'avant du mécanisme (utilisée seulement sur le modèle original Dux afin de permettre le passage du câble de l'adaptateur secteur) est ici définitivement bouchée par le boîtier.
 
 
Texte extrait de L'Officiel des Jeux et Jouets, catalogue de 1954, à propos de la 35ème Foire de Lyon - France (1953)

"SELIC. - Tous les détaillants connaissent les articles de cette firme. Signalons la grande nouveauté : Midi-Ciné, un cinéma de forme aérodynamique, très moderne, qui projette des dessins animés en couleurs. Bâti métal fondu sous pression. Fonctionne au choix avec pile de poche ou transformateur. Durée de projection des films ininflammables : 5 minutes. Douze titres déjà édités. C'est enfin, dans ce domaine, une très grande réussite."

Cet extrait confirme l'année de sortie de ce jouet : 1935.
 



Le mécanisme du Midi-Ciné étant identique à celui du Ciné Sélic, les films de ce dernier sont ainsi directement utilisables. Toutefois l'emballage des films sera adapté pour ce dernier projecteur de la société Sélic. Ils auront une nouvelle numérotation, mais sur les films c'est la numérotation du Ciné Sélic qui sera conservée !

Film

1 : Le renard et le corbeau (marqué 26 sur le film) *
2 : Le joueur de flûte d'Hamelin (marqué 28 sur le film)

3 : Ali Baba et les 40 voleurs (marqué 29 sur le film)
4 : Simbad le marin
* (marqué 30 sur le film) *
5 : Les moulins de Don Quichotte
(marqué 24 sur le film)
6 : La petite souris laborieuse (marqué 21 sur le film)

7 : Le chat botté (marqué 23 sur le film)
8 : Le chaperon rouge
(marqué 22 sur le film) *
9 : La cigale et la fourmi (marqué 25 sur le film)

13 : Le petit soldat de plomb (marqué 31 sur le film)
17 : Le baron Munchausen (marqué 38 sur le film)

 
 
Le dessin de la boîte du Midi-Ciné est signé N.Tasso, graphiste marseillais. Deux exemples de son travail sont présentés ici : à gauche une boîte métallique dont le dessin est signé, est une production G. de Andreis. S.A Marseille, à droite une affiche plus récente.

Ancienne boîte par N.Tasso. N° 5 César peintre Affiche publicitaire signée N.Tasso
     
     

CINE MIME


Un appareil en carton et bois mérite d'être cité sur cette page consacrée aux projecteurs français : le Ciné Mime. L'animation n'est pas obtenue par l'alternance d'images mais par le mouvement d'images superposées : 4 images diapositives représentant chacune une partie d'une image complète sont projetées simultanément par transparence et l'illusion de mouvement est rendue par le déplacement coordonné des quatre images.

Vue arrière du CinéMime Côté du CinéMime
Images aimablement communiquées par Francisco Boisset (Espagne)


Films :
la présentation des quatre images et du résultat obtenu permet de mieux comprendre le principe de superposition des images.

Image 1
Image 2
Image 3
Image 4
Résultat

Fabricant : EJIP ?

 

CINE ENFANTIN


Cet appareil n'est pas exactement un projecteur ou une visionneuse d'images animées. Mais si je l'ai référencé ici c'est parce qu'il permet de visionner des images animées obtenues par l'alternance de deux images combinées. Le Ciné Enfantin est construit en carton et en bois.

Ciné Enfantin


193x
Film papier à 2 images entrelacées
carton, bois, tringlerie métal
PR2-
cm
2
17
15


Un appareil similaire était fabriqué à la même époque en Espagne : le Cine Infantil. La proximité des deux dénominations pourrait faire penser à un créateur commun.



Modèles :
- la Chasse à l'Ours
- les Fables de La Fontaine : le Lièvre et la Tortue

 

Dudley Milbank Fegan, habitant Brisbane, Queensland, Australie, a demandé à Paris un brevet le 24 juin 1935 présentant un moyen pour réaliser le mouvement d'images par projection sur écran d'un cliché fixe. Le brevet 791.677 ainsi obtenu le 30 décembre 1935 décrit des images comprenant de petites bandes de deux images assemblées alternativement sur une même image, le projecteur étant doté d'une sorte de herse lui dissimulant tantôt les bandes de la première image tantôt celles de la seconde.
Sur l'image ci-contre, extraite du brevet, on peut apercevoir que la figure 10, lorsqu'elle est projetée, donne le résultat 11 ou 12 selon la position de la grille filtre.
Le même brevet a été demandé le 27 octobre 1936 aux Etats-Unis (N° 2,058,581) par le même déposant au nom de la société Animated Slides Limited de Canberra, il faisait référence au brevet original australien du 9 juillet 1934.

 

     
mise à jour le vendredi 18 février, 2011 /// http://project.mettavant.fr/

Selic, Jecktor, Minicine, toy, projector, viewer, Dux, Nic, vintage, projecteur, projektor, proiettore, proyector